FIAMMA 08772-03A Bars Deluxe External Ladders Kit

Product Information: Kit Bars
The Kit Bars is a deluxe roof rack system designed for the Mercedes Sprinter 06/ Crafter 06 16, Crafter 17, and Ford Transit 14. It is made of high-quality aluminum with a deep black finish for durability and style. The Kit Bars come in three different lengths: 70cm, 129cm, and 138cm, to fit different vehicle sizes.
The package includes an upper bar, lower bar, six mounting brackets, two side supports, and hardware for installation. The Kit Bars Deluxe Crafter 17 weighs 2.1kg, the Kit Bars Deluxe Transit 14 weighs 2.0kg, and the Kit Bars Deluxe Sprinter 06/Crafter 06 16 weighs 2.2kg.
Product Usage Instructions: Kit Bars
- Check that nothing has been damaged or deformed during transport.
- Ensure that the vehicle’s roof is clean and dry before installation.
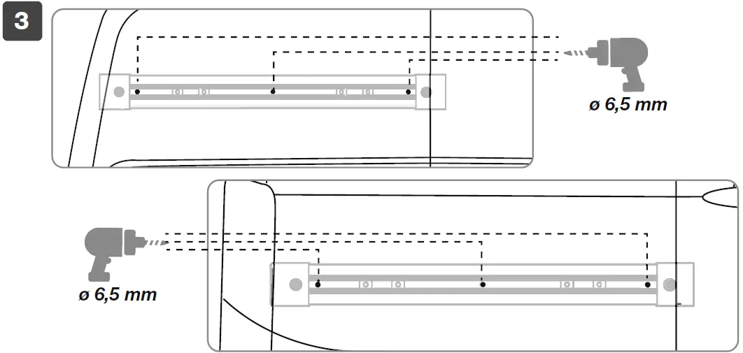
- Refer to the installation instructions provided in the manual and follow them carefully. We recommend that the installation is carried out by qualified personnel and in compliance with current local regulations.
- Attach the six mounting brackets to the upper and lower bars using the supplied hardware.
- Place the upper bar on the roof of the vehicle and align it with the mounting points. Secure the mounts using the supplied hardware. Repeat this process for the lower bar.
- Attach the two side supports to the upper and lower bars using the supplied hardware.
- Ensure that all bolts are tightened securely.
- The Kit Bars are now ready for use. You can use them to transport luggage, bicycles, kayaks, or other items securely on your vehicle’s roof.
It is important to follow the installation instructions carefully to ensure that the Kit Bars are installed correctly and securely. Fiamma declines all responsibility for any personal injury and damage to property due to incorrect assembly or use of the product. If you have any doubts or questions concerning the installation or use of the product, please contact your local dealer.
Package contents

Dimensions
- Kit Bars Deluxe Crafter ≥ 17 Item No. 08772-01-
Item No. Deep Black 08772-01A
- Kit Bars Deluxe Transit ≥ 14 Item No. 08772-02-
Item No. Deep Black 08772-02A
- Kit Bars Deluxe Sprinter ≥ 06 / Crafter ≥ 06 ≤ 16 Item No. 08772-03-
Item No. Deep Black 08772-03A

Installation instructions
Check that nothing has been damaged or deformed during transport.
In the event of doubts or questions concerning the installation, use or limitations of the product, contact the dealer. We recommend that the installation is carried out by qualified personnel and in compliance with current local regulations.
- Kit Bars Deluxe Crafter ≥ 17 Item No. 08772-01-
Item No. Deep Black 08772-01A
- Kit Bars Deluxe Transit ≥ 14 Item No. 08772-02-
Item No. Deep Black 08772-02A
Only H3
- Kit Bars Deluxe Sprinter ≥ 06 / Crafter ≥ 06 ≤ 16 Item No. 08772-03-
Item No. Deep Black 08772-03A




In case of problems please contact your local dealer. Consult our website for spare parts drawing.
Safety
- Fiamma declines all responsibility for any personal injury and damage to property due to incorrect assembly or use of the product; it is suggested to keep the instructions inside the vehicle. The assembly of the product must be carried out according to the assembly instructions: the product must not be modified in any way.
- In the event of an accident involving the vehicle and/or the product, ensure that the product has not been damaged. In the event of damage, contact your local retailer before moving the vehicle.
- Fiamma declines every responsibility for any modifi cation of the product that may cause damage and/or injury to things and people.
- Read the following instructions and warnings carefully; failure to observe these installation and usage instructions as well as the Highway Code in the relevant country may cause severe harm or damage for which the manufacturer declines all responsibility. Keep the original packaging to be used in case of return.
- Before installation, ensure compatibility with the vehicle on which the product must be installed. Checking that the wall/rear door is suffi ciently solid and suitable for guaranteeing the resistance of the anchoring points is always mandatory. If not, fi xing and compliance with the maximum load indicated in the instructions are not guaranteed and it will be necessary to reinforce it.
- Always comply with speed limits and the Highway Code. The speed should always be suitable to traffic conditions and transported load. Check periodically the ladder to make sure it is firmly attached, especially during the first kilometers of after long trips.
Warranty Fiamma
In case of defects with regards to materials and manufacturing, the customer is entitled to the warranty in accordance with local laws and regulations of the country in which the product was purchased.
All rights reserved.
Fiamma S.p.A. reserves the right to modify at any time, without notice, prices, materials, specifications and models or to cease production of any model.
fiamma.com





























