
VRS2
MACHINERY MOVING SKATES
OPERATING INSTRUCTIONS
VRS2 Machinery Moving Skates
Thank you for choosing our skates. For your safety and for correct operation, please carefully read the manual before use of the skates.
Note:-
All of the information reported herein is based on data available at the time of printing. We reserve the right to modify the products at any time without notice.
Please verify with us for possible updates.
GENERAL
Hi-tech skates have load-bearing centers and are capable of moving large capacities. In saving time and strain, they are the ideal tool for carrying and shifting equipment, from small to heavy loads. Detailed below are various options available.
When you use our product please read the operating guides using the following steps:- Carefully choose the appropriate hi-tech skate according to the cargo being moved. 
- After lifting the cargo, place the skates in the appropriate place to support the load.
- Gently lower the cargo onto the skate. Pull the drawbar or push the skate to move the load.
- After the load has been repositioned, lift the cargo off the skates and move them out of the way before lowering the load back into place.
REMARKS
- Ensure the load is always in a uniform position on the bearing center plate of the skates.
- Always keep the surface on which the skate is placed, clean and smooth. DO NOT USE IT ON UNEVEN SURFACES.
- Never exceed the maximum load of any skate.
- Always use the correct equipment to load the skate such as toe jacks etc.
- When loading the skate set make sure the load is distributed in such a way that each individual skate is not overlooked.
- Make sure the load will not tip over from the skate.
- Make sure the load is not unstable on the skate and avoid any risk of the load tipping over or falling from the skate.
- When moving loads on a floor that has a slope make sure you have means of controlling the movement of the load once it starts moving.
- Always ensure the floor is clean and free from any items that could damage the wheels of the skates.
AFTER REMARKS
Personal Protection
- Always wear safety boots when moving heavy loads.
- Do not put feet or hands under the load once it is placed on the skates.
- When handling the skates only lift the skates by the handles on the 16, 36 tonnes, and larger sets to avoid any risk of trapped fingers.
- When moving the load on the skate always ensure that there is no risk of any person becoming trapped by the moving load.
Maintenance
- Inspect the skates on a regular basis and before each use to ensure they are in a safe-to-use condition.
- Keep the wheels clean and remove any metal items that have become embedded in the wheels.
- Lubricate the wheels to allow the skates to continue to move freely, making moving the load easier.
MAXIMUM CAPACITY OF SETS
8 tonne{X4+Y4} = 1 x 4 tonne steering skate with turntable {x4}
2 x 2-tonne steering skates {Y4}
16 tonne{X8+Y8} = 1 x 8 tonne steering skate with turntable {X8}
2 x 4-tonne trailing skates {Y8}
24 tonne {X12+Y12}= 1 x 12 tonne steering skate with turntable{X12}
2 x 6-tonne trailing skates{Y12}
32 tonne {X16+Y16}= 1 x 16 tonne steering skate with turntable{X16}
2 x 8-tonne trailing skates{Y16}
36 tonne{X18+Y18} = 1 x 18 tonne steering skate with turntable{X18}
2 x 9-tonne trailing skates{Y18}
48 tonne {X24+Y24}= 1 x 24 tonne steering skate with turntable{X24}
2 x 12-tonne trailing skates{Y24}
64 tonne{X32+Y32} = 1 x 32 tonne steering skate with turntable{X32}
2 x 16-tonne trailing skates{Y32}
Never exceed the maximum load of skate
Always use the correct equipment to load the skate such as toe jacks.
When loading the skate set make sure the load is distributed in such a way that each individual skate is not overloaded.
Make sure the load will not tip over from the skate.
Make sure the load is not unstable on the skate and avoid any risk of the load tipping over or falling from the skate.
Never use machine skates on a floor of different levels.
When moving loads on a floor that has a slope make sure you have means of controlling the movement of the load once it starts moving.
Always ensure the floor is clean and free from any items that could damage the wheels of the skates.
PERSONAL PROTECTION
Always wear safety boots when moving heavy loads.
Do not put feet or hands under the load once it is placed on the skates.
When handling the skates only lift the skates by the handles on the 16 and 36-tonne sets to avoid any risk of trapped fingers.
When moving the load on the skate always ensure that there is no risk of any person becoming trapped by the moving load.
MAINTENANCE
Inspect the skates on a regular basis and before use to ensure they are in a safe-to-use condition.
Keep the wheels clean and remove any metal items that have become embedded in the wheels.
Lubricate the wheels to allow the skates to continue to move freely making moving the load easier.
PARTS BREAKDOWN
WCRP-3
| No. | Description | Quantity |
| 1 | Turntable screw | 1 |
| 2 | The turntable | 1 |
| 3 | Frame | 1 |
| 4 | Open ring | 6 |
| 5 | Roller shaft | 3 |
| 6 | Flat Washers | 6 |
| 7 | Bearing 1 | 6 |
| 8 | Roller | 3 |
| 9 | Bearing 2 | 3 |
| 10 | Wheel frame | 3 |
| 11 | Bearing 3 | 3 |
| 12 | Washer | 3 |
| 13 | Locking washers | 3 |
| 14 | Locking nuts | 3 |
WCRP-5
| No. | Description | Quantity |
| 1 | Turntable screw | 1 |
| 2 | The turntable | 1 |
| 3 | Frame | 1 |
| 4 | Open ring | 6 |
| 5 | Roller shaft | 3 |
| 6 | Flat Washers | 6 |
| 7 | Bearing 1 | 6 |
| 8 | Roller | 3 |
| 9 | Bearing 2 | 3 |
| 10 | Wheel frame | 3 |
| 11 | Bearing 3 | 3 |
| 12 | Washer | 3 |
| 13 | Locking washers | 3 |
| 14 | Locking nuts | 3 |
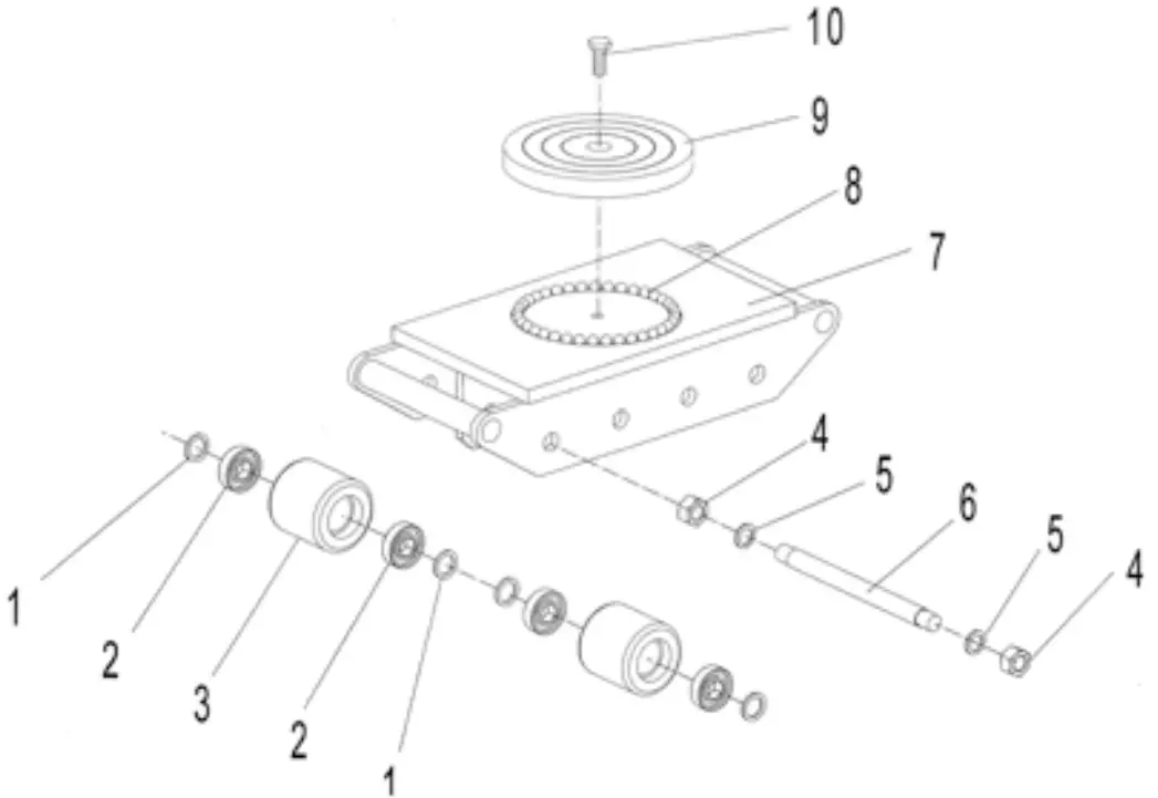
CRA-4 
| No. | Description | Quantity |
| 1 | Washer | 8 |
| 2 | Bearing | 8 |
| 3 | Wheel | 4 |
| 4 | Nut | 4 |
| 5 | Elastic Washer | 4 |
| 6 | Axle | 2 |
| 7 | Frame | 1 |
| 8 | Steel Ball | 31 |
| 9 | Turn Plate | 1 |
| 10 | Bolt | 1 |
| 1 | Washer | 8 |
| 2 | Bearing | 8 |
| 3 | Wheel | 4 |
| 4 | Nut | 4 |
CRA-6 
| No. | Description | Quantity |
| 1 | Washer | 12 |
| 2 | Bearing | 12 |
| 3 | Wheel | 6 |
| 4 | Nut | 6 |
| 5 | Elastic Washer | 6 |
| 6 | Axle | 3 |
| 7 | rame | 1 |
| 8 | Steel Ball | 31 |
| 9 | Turn Plate | 1 |
| 10 | Bolt | 1 |
| 1 | Washer | 12 |
| 2 | Bearing | 12 |
| 3 | Wheel | 6 |
| 4 | Nut | 6 |
CRA-8 
| No. | Description | Quantity |
| 1 | Washer | 16 |
| 2 | Bearing | 16 |
| 3 | Wheel | 8 |
| 4 | Nut | 8 |
| 5 | Elastic Washer | 8 |
| 6 | Axle | 4 |
| 7 | Frame | 1 |
| 8 | Steel Ball | 31 |
| 9 | Turn Plate | 1 |
| 10 | Bolt | 1 |
| 1 | Washer | 16 |
| 2 | Bearing | 16 |
| 3 | Wheel | 8 |
| 4 | Nut | 8 |
CRA-12 
| No. | Description | Quantity |
| 1 | Washer | 24 |
| 2 | Bearing | 24 |
| 3 | Wheel | 12 |
| 4 | Nut | 8 |
| 5 | Elastic Washer | 8 |
| 6 | Axle | 4 |
| 7 | Frame | 1 |
| 8 | Steel Ball | 31 |
| 9 | Turn Plate | 1 |
| 10 | Bolt | 1 |
| 1 | Washer | 24 |
| 2 | Bearing | 24 |
| 3 | Wheel | 12 |
| 4 | Nut | 8 |
X12 
| No. | Description | Quantity |
| 1 | Frame | 1 |
| 2 | Shaft | 4 |
| 3 | Washer | 4 |
| 4 | Retaining Ring | 4 |
| 5 | Retaining Ring | 1 |
| 6 | Bearing | 1 |
| 7 | Crest Plank Arts | 1 |
| 8 | Washer | 8 |
| 9 | Retaining Ring | 8 |
| 10 | Axle | 4 |
| 11 | Frame of Roller | 2 |
| 12 | Bearing | 24 |
| 13 | Washer | 24 |
| 14 | Wheel | 12 |
Y12 
| No. | Description | Quantity |
| 1 | Bearing | 24 |
| 2 | Wheel | 12 |
| 3 | Axle | 4 |
| 4 | Frame | 2 |
| 5 | Connect Rod | 2 |
| 6 | Washer | 24 |
| 7 | Retaining Ring | 4 |
| 8 | Bolt | 2 |
| 9 | Connect Plank | 2 |
| 10 | Elastic Washer | 2 |
| 11 | Nut | 2 |
| 1 | Bearing | 24 |
| 2 | Wheel | 12 |
| 3 | Axle | 4 |




















