MOXA VPort 461A Series Industrial Video Encoder

Overview
The VPort 461A is a 1-channel Industrial Video Encoder with H.264/MJPEG video compression. The H.264 algorithm provides the best video quality on the market today with lower bandwidth requirements than other video compression standards. In addition, to meet requirements for multiple video streams, the VPort 461A can provide up to 3 video streams simultaneously with H.264 and MJPEG compression. Users can use the video streams for different purposes, such as viewing, recording or analysis. Finally, the industrial-rugged design, with -40 to 75°C operating temperature, built-in fiber Ethernet ports, IP30 form factor protection, and industrial certifications, make the VPort 461A suitable for harsh environments.
Package Checklist
The VPort 461A ships with the following items:
- VPort 461A.
- 6-pin terminal block for 1 power input and 2 digital inputs.
- 8-pin terminal block for the other power input, and 2 relay outputs.
- 5-pin terminal block for the RS-232/422/RS-485 PTZ control port.
- Quick Installation Guide.
- Warranty Card.
Note: If any of these items are missing or damaged, please contact your customer service representative for assistance.
NOTE: Check the model name on the VPort’s side label to confirm the model name is correct for your order.
NOTE: This product must be installed in compliance with your local laws and regulations.
Features
High Performance Audio-Video Networking Solution
- Works with NTSC/PAL analog video cameras.
- Supports H.264/MJPEG video compression technologies.
- Up to 3 simultaneous video streams.
- Lower latency, under 200 ms.
- DynaStream™ for network efficiency with dynamic frame rate change.
- CBR Pro™ supported for high image quality during limited bandwidth transmissions.
- 1 BNC video input.
- Each video stream up to 30 frames/sec in Full D1 (720 x 480) resolution in NTSC, and 25 frames/ sec in Full D1 (720 x 576) resolution in PAL.
- Select between Full D1/ 4CIF/ VGA/ CIF/ QCIF resolutions.
- 1 audio input and 1 audio output for 2-way voice communication.
- TCP, UDP, and HTTP network transmission modes.
- Supports Modbus/TCP for easy communication with SCADA systems.
- Supports standard RTSP (Real-time streaming protocol) for easy integration.
- Supports multicast (IGMP) protocols for efficient network transmission.
- Supports QoS (TOS) for priority transmission.
- Supports SNMP V1/V2c/V3 for network management.
- Built-in web server and RS-232 console for remote access and configuration.
- Supports one SD card slot (SDHC interface) for local video recording on the SD card during network interruptions.
- Two auto-sensing 10/100BaseT(X) Ethernet ports.
- Supports maximum of 10 unicast connections and 50 multicast clients.
- Set up video quality in CBR (constant bit rate) or VBR (variable bit rate).
- Supports 1 RS-232/485 DB9 COM port for controlling a PTZ (PAN/TILT/ZOOM) motorized camera via a TCP/IP network.
- Supports 1 RS-232/RS-422/RS-485 5-pin PTZ port for controlling a PTZ (PAN/TILT/ZOOM) motorized camera via a TCP/IP network.
- UPnP and IP filtering supported.
- Supports 802.1X for security authentication.
Rugged Industrial Design
- Two 12/24 VDC and 24 VAC redundant power inputs with LED indicators
- -40 to 75°C operating temperature for harsh industrial environments (“T” model)
- 35 mm DIN-Rail mounting or panel mounting installation (with optional accessory)
- IP30 form factor protection
- CE, FCC, UL 60950-1 approvals for industrial applications
Intelligent Alarm Trigger Capability
- Supports anti tamper alarm for intelligent video surveillance.
- Built-in Video Motion Detection (VMD)
- Equipped with 2 DIs and 2 relays (DO) for external sensors and alarms.
- Provides snapshot images of alarm trigger, and pre and post alarm states.
- Supports sequential snapshot images
- Messages with snapshot images can be sent via FTP and email.
- Capable of setting an alarm schedule
Video Management and Control
- Supports standard ONVIF Profile S specifications
- Free Moxa VPort SDK Plus (software development kits) supported with flexible interface and sample codes for customized application or system integration.
- Moxa SoftNVR-IA IP surveillance software supported for the video recording and management solution.
NOTE: If you are interested in the Moxa VPort SDK PLUS or SoftNVRIA IP surveillance software, please go to Moxa’s website (www.moxa.com) to download the software, or contact a Moxa sales representative for more information.
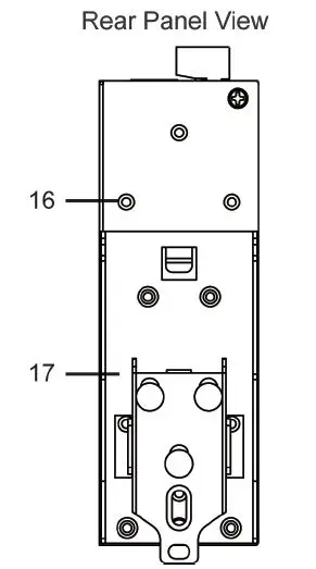
VPort 461A Panel Layout



- Grounding screw
- RS-232 console port
- Hardware reset button
- 8-pin terminal block for Relay 1, Relay 2, and power input 1 (PWR1)
- 6-pin terminal block for DI 1, DI 2, power input 2 (PWR2)
- LEDs for STAT, PWR1, PWR2, FAULT
- LEDs for VIDEO, PTZ and SD
- SD card (SDHC) slot
- 2 RJ45 10/100BaseTX Ethernet port with 10 /100 Mbps LED
- AUDIO OUTPUT port for external speaker
- AUDIO INPUT port for mic-in and line-in connection
- RS-232/422/485 COM port with DB9 male connector for PTZ camera or serial device control
- RS-232/422/485 PTZ port with 5- pin terminal block for PTZ camera control
- 1 BNC connector for video input
- Model name
- Screw hole for wall mounting kit
- DIN-Rail mounting kit
First-Time Installation and Configuration
Before installing the VPort 461A, check to make sure that all items in the package checklist are in the box. In addition, you will need access to a notebook computer or PC equipped with an Ethernet port.
Step 1: Select the Power Source
The VPort 461A can be powered by a DC power input from 12 to 32 VDC, or an AC power input from 18 to 30 VAC. Two power inputs are provided for redundancy. Users can check the LED status located on the front panel to see if the power inputs are correctly connected. If one of the power inputs fails, the FAULT LED will light up red, providing the power failure alarm is enabled.
NOTE The VPort 461A series supports power input specifications of 12-32 VDC for 12/24 VDC power input, or 18-30 VAC for 24 VAC power input.
Step 2: Connect the VPort 461A to a Network
The VPort 461A has two auto-sensing 10/100 Mbps RJ45 Ethernet ports for network connectivity. Each has a LED indicator for indicating the 10 Mbps or 100 Mbps Ethernet connections.
NOTE These two Ethernet ports can be cascaded in daisy chain link, or connected to two different switch ports for Ethernet port redundancy. In addition, they also act as an Ethernet switch, which means one port could be reserved for original use, while the second port could be an extension port for another purpose such as linking to the other VPort.
Step 3: Connect the VPort 461A to cameras and an audio source
The VPort 461A has 1 VIDEO INPUT port. Use the BNC connector (1.0 Vpp, 75Ω) and coaxial cable to connect video cameras to the VPort to input analog video signals.
The VPort 461A has one audio input and one audio output. A microphone (with built-in amplifier) or an amplifier can be plugged directly into the AUDIO INPUT port, and a speaker can be plugged into the AUDIO OUTPUT port.
NOTE: One VIDEO LED is located on the VPort 461A’s front panel to indicate the video signal transmission status for video input. Check the LED status to see if the video is working properly.
ATTENTION: A ground loop isolator is recommended to be used between the camera and the VPort to avoid a sudden current, which is generated by the electric potential difference between these two device’s ground power, to burn out the VPort’s chips and boards.
Step 4: Connecting motorized PTZ cameras and serial devices
The VPort 461A has two RS-232/422/485 ports. One is a COM PORT with DB9 male connector, and the other is a PTZ PORT with 5-pin terminal block connector. Both ports can be used for connecting PTZ control cables for controlling PTZ cameras over the TCP/IP network. In addition, the DB9 male COM PORT can also be used to connect general serial devices, such as card readers, for transmitting serial data over a TCP/IP network. This port can be used to connect serial devices to the VPort 461A instead of a video camera. To enable PTZ control, users should configure the PTZ control protocol in the web-based manager.
NOTE: The PTZ control protocol is not standardized. To use a particular PTZ control protocol, the video server must support the driver for that protocol. Currently, the VPort 461A supports PTZ control protocol drivers for:
- Pelco D
- Pelco P
If you need to use a protocol that is not on the list, contact the manufacturer of the camera to get the PTZ control commands, and then program its PTZ control using the VPort 461A’s Custom Camera function.
NOTE The VPort 461A comes with a PTZ driver upload function for implementing new PTZ drivers. Please contact a Moxa sales representative if you need assistance from Moxa’s R&D department to create a new PTZ driver.
NOTE The “Transparent PTZ Control” function in the camera driver list is used to transmit the PTZ control signal over a TCP/IP network to the VPort video decoder or PC (additional driver required). The PTZ control panel or keyboard can directly control the PTZ camera or device, eliminating the need for a PTZ camera driver and allowing the use of PTZ cameras with the VPort encoder. The transparent PTZ control function will be supported after the V1.1 firmware version is released.
Step 5: Configure the VPort 461A’s IP address
After powering on the VPort 461A, wait a few seconds for the POST (Power On Self Test) to run. The STAT LED turns green to indicate that the POST process has been completed. The IP address will be assigned when the 10/100 Mbps NETWORK LED blinks. The IP address assigned after the POST is completed depends on the network environment.
Network Environment with DHCP Server
In this case, the IP address of the VPort 461A is assigned by a DHCP Server. Use the DHCP Server’s IP address table, or use the Moxa VPort utility to determine the IP address that was assigned by the DHCP Server.
NOTE After powering on the VPort 461A, wait a few seconds for the POST (Power On Self Test) to run. The IP address will be assigned when the 10/100 Mbps NETWORK LED blinks.
Using the Moxa VPort and EtherDevice Configurator Utility (edscfgui.exe)
- Run the edscfgui.exe program to search for the VPort and EDS switches. After the Utility window opens, select or click on Broadcast Search, which is located under the List Server menu, to initiate a search (note that you can also click on the Broadcast Search icon to initiate a search).
NOTE: You may download the VPort and EtherDevice Configurator software from Moxa’s website at www.moxa.com.
- The Broadcast Search window will show a list of all switches and VPorts located on the network. The progress of the search will also be indicated.

- When the search has ended, the Model Name, MAC address, and IP address of the EDS switches and VPorts will be listed in the Utility window.

NOTE Broadcast Search can only search for devices connected to the same LAN subnet as the VPort. If your devices are located on a different LAN subnet, use the “Specify IP Address” function to search for the device by keying in the IP address.
- Double click the selected VPort, or use Internet Explorer to access the VPort’s web-based manager (web console).
Network Environment without a DHCP Server
If your VPort is connected to a network that does not have a DHCP server, then you will need to configure the IP address manually. The default IP address of the VPort 461A is 192.168.127.100 and the default subnet mask is 255.255.255.0. Note that you may need to change your computer’s IP address and subnet mask so that the computer is on the same subnet as the VPort.
To change the IP address of the VPort manually, access the VPort’s web server, and then navigate to the System Configuration Network General page to configure the IP address and other network
settings. Select the Use fixed IP address checkbox to ensure that the IP address you assign is not deleted each time the VPort is restarted.
Step 6: Log on to the VPort 461A web-based manager
Type the IP address in the web browser’s address input box and then press enter.
Step 7: Install the ActiveX Control Plug-in
A security warning message will appear the first time you access the VPort’s web-based manager. The message is related to installing the VPort ActiveX Control component to your PC or notebook. Click on Yes to install this plug-in to enable the ability to view video in the IE web browser.
NOTE For Windows XP SP2 or later operating systems, the ActiveX Control component will be blocked for system security reasons. In this case, the VPort’s security warning message window may not appear. Users should unblock the ActiveX control function or disable the security configuration to enable the installation of VPort’s ActiveX Control component.
Step 8: Accessing the homepage of the VPort 461A’s web-based manager
After installing the ActiveX Control component, the homepage of the VPort 461A’s web-based manager will appear. Check the following items to make sure the system was installed properly:
- Video Images.
- Audio Sound (make sure your PC’s or notebook’s sound is turned on).
- Video Information.

Step 9: Accessing the VPort’s System Configuration
Click on System Configuration to access the overview of the system configuration to change the configuration. Model Name, Server Name, IP Address, MAC Address, Firmware Version, and LED Status appear in the green bar near the top of the page. Use this information to check the system information and installation. For details of each configuration, check the user’s manual on the Moxa website.
NOTE After accessing the VPort 461A’s web-based manager, administrators should access System Configuration System Account to set up the administrator’s password and enable the authentication function. The administrator account name is admin. An authentication window will pop up requesting the account name and password each time the VPort 461A is accessed.
Mounting Dimensions (unit = mm)
DIN-Rail Mounting
The aluminum DIN-Rail attachment plate should already be attached to the back panel of the VPort 461A when you take it out of the box. Mount the VPort 461A on a mounting rail, as shown in the figures below.
Step 1: Insert the upper lip of the DIN rail into the DIN-rail mounting kit.
Step 2: Press the VPort towards the DIN rail until it snaps into place.
To remove the VPort 461A from the DIN-Rail, do the following:
Step 1:
Pull down the latch on the mounting kit with a screwdriver.
Step 2 & 3:
Slightly pull the VPort forward and lift to detach it from the DIN rail.
Wall Mounting (optional)
For some applications, you will find it convenient to mount the VPort 461A on a wall, as illustrated below.
Step 1: Remove the aluminum DIN-Rail attachment plate from VPort 461A, and then attach the wall mount plates, as shown in the diagrams below.
Step 2: Mounting VPort 461A on the wall requires 4 screws. Use the VPort 461A, with wall mount plates attached, as a guide to mark the correct locations of the 4 screws. The heads of the screws should be less than 6.0 mm in diameter, and the shafts should be less than 3.5 mm in diameter, as shown in the figure on the right. Do not screw the screws in all the way—leave a space of about 2 mm to allow room for sliding the wall mount panel between the wall and the screws.
NOTE Test the screw head and shank size by inserting the screw into one of the key hole shaped apertures of the wall mounting plates, before it is screwed into the wall.
Step 3: Once the screws are fixed in the wall, insert the four screw heads through the large parts of the keyhole-shaped apertures, and then slide the VPort 461A downwards, asindicated below. Tighten the four screws for added stability. 
Wiring Requirements
WARNING
Safety First! Be sure to disconnect the power cord before installing and/or wiring your Moxa VPort 461A. Calculate the maximum possible current in each power wire and common wire. Observe all electrical codes dictating the maximum allowable current for each wire size. If the current goes above the maximum ratings, the wiring could overheat, causing serious damage to your equipment.
You should also pay attention to the following items:
- Use separate paths to route wiring for power and devices. If power wiring and device wiring paths must cross, make sure the wires are perpendicular at the intersection point.
NOTE: Do not run signal or communications wiring and power wiring in the same wire conduit. To avoid interference, wires with different signal characteristics should be routed separately. - You can use the type of signal transmitted through a wire to determine which wires should be kept separate. The rule of thumb is that wiring that shares similar electrical characteristics can be bundled together.
- Keep input wiring and output wiring separate.
- It is strongly advised that you label wiring to all devices in the system.
Grounding the Moxa VPort 461A
Grounding and wire routing help limit the effects of noise due to electromagnetic interference (EMI). Run the ground connection from the ground screw to the grounding surface prior to connecting devices.
ATTENTION: This product is intended to be mounted to a well-grounded mounting surface, such as a metal panel.
Wiring the Redundant Power Inputs
The VPort 461A has two sets of power inputs, power input 1 and power input 2, which are located on the 6-pin and 8-pin terminal block connectors. Top and front views of the terminal block connectors are shown here.
STEP 1: Insert the negative/positive DC or AC wires into the V-/V+ terminals.
STEP 2: To keep the DC or AC wires from pulling loose, use a small flat-blade screwdriver to tighten the wire-clamp screws on the front of the terminal block connector.
STEP 3: Insert the plastic terminal block connector prongs into the terminal block receptor, which is located on the VPort 461A’s top panel.
ATTENTION: The power for this product is intended to be supplied by a Listed Power Unit, with output marked LPS, and rated to deliver 12 to 32 VDC at 0.85 to 0.3 A, or 18 to 30 VAC at 0.85 to 0.56
A. The maximum power consumption is 10.5 W.
ATTENTION: Before connecting the VPort to the AC/DC power inputs, make sure the DC power source voltage is stable.
Wiring the Relay Output
The VPort 461A has two sets of relay output, relay 1 and relay 2, which are located on the 8-pin terminal block connector. Each relay output consists of the 3 contacts of the terminal block on the VPort 461A’s top panel. The relay output can be set up for:
- System alarm: Power failure, Video loss and Network disconnected.
- Event alarm: VMD (Video Motion Detection) and Digital Inputs.
ATTENTION: The current and power capacity of the relay output is a maximum of 24 VDC @ 1 A. You should be careful not to exceed this power specification.
Wiring the Digital Inputs
VPort 461A has two sets of digital inputs, DI1 and DI2. Each DI consists of two contacts of the 6-pin terminal block connector, on the VPort’s top panel. Top view of one of the terminal block connectors is shown here.
STEP 1: Insert the negative (ground)/positive DI wires into the ┴/I1 terminals.
STEP 2: To keep the DI wires from pulling loose, use a small flat-blade screwdriver to tighten the wire-clamp screws on the front of the terminal block connector.
STEP 3: Insert the plastic terminal block connector prongs into the terminal block receptor, which is located on the VPort 461A’s top panel.
Communication Connections
VPort 461A models have one RJ45 console port (RS-232 interface), and 2 10/100BaseT(X) Ethernet ports or 1 100BaseFX (SC-type connector) fiber port.
RS-232 Console Port Connection
The VPort 461A has one RS-232 (10-pin RJ45) console port, located on the top panel. Use either an RJ45-to-DB9 or RJ45-to-DB25 cable (see the cable following wiring diagrams) to connect the VPort 461A’s console port to your PC’s COM port. You may then use a console terminal program, such as the Moxa PComm Terminal Emulator, to access the VPort 461A’s console configuration utility.
RJ45 (10-pin) Console Port Pinouts

10/100BaseT(X) Ethernet Port Connection
The 10/100BaseT(X) port located on the VPort 461A’s front panel is used to connect to Ethernet-enabled devices. Pinouts for both MDI (NIC-type) ports and MDI-X (HUB/Switch-type) ports are illustrated below, along with cable wiring diagrams for straight-through and cross-over Ethernet cables. The 10/100BaseT(X) port of the VPort 461A is an MDI port, which means that you should use a cross-over Ethernet cable to connect to the MDI NIC port, and a straight-through Ethernet cable to connect to the MDI-X HUB/Switch port.
RJ45 (8-pin) to RJ45 (8-pin) Straight-Through Cable Wiring

RJ45 (8-pin) to RJ45 (8-pin) Cross-Over Cable Wiring
COM Port
A COM PORT is located on the front panel for connecting a PTZ motorized camera or serial device. The COM port transmits RS-232 or RS-422/485 signals over the TCP/IP network. Users can use this COM port (DB9 male connector) to monitor data or control a serial device, or for the control of a PTZ motorized camera.
RS-232/422/485 (Male DB9) Pinouts
NOTE This COM port is mainly for the serial-to-Ethernet connectivity. It supports TCP Server and TCP Client modes (after the V1.1 firmware version is released).
PTZ port
A PTZ port is located on the VPort 461A’s front panel. The port is used to connect a PTZ motorized camera or device so that the camera or device can be controlled from the VPort over the IP network. The PTZ port supports RS-232 or RS-422/485 signals through a terminal block. The PTZ port pin assignments are shown in the following table. 
SD Card Slot
The front panel of Moxa’s VPort 461A has an SD card slot that supports the SDHC interface (SDXC will be supported after the firmware is upgraded to V1.1). An SD card can be used for recording video if the network is down. 
STEP 1: Open the upper case of the SD card slot.
STEP 2: Plug the SD card into the slot. Then the SD LED indicator will flash green.
STEP 3: When the SD card is mounted successfully, the SD LED indicator will turn green after 2 to 3 seconds. If the SD card mount fails, then the SD LED indicator will continuously flash green. If this happens, repeat the above until the SD LED indicator turns green.
STEP 4: Close the upper case and then go to the web-based manager to set up local storage functions.
NOTE Currently, the SDHC interface can support an SD card with up to 32 GB of storage space. The firmware upgradeV1.1 will support the SDXC interface. SDXC can support an SD card with storage spaces larger than 64 GB.
NOTE Follow these steps to remove the SD card:
STEP 1: Open the upper case.
STEP 2: Wait a few seconds to allow the SD card to complete existing file storage activity.
STEP 3: If the SD LED indicator is green, it means the unmounting of the SD card was successful, and you can take out the SD card. If the SD LED indicator flashes green, it means the unmounting of the SD card failed. At this point, you can take out the SD card,but you will need to reboot the VPort 461A to enable the SD card slot function for future SD cards.
LED Indicators
The front panel of Moxa’s VPort 461A contains several LED indicators. The function of each LED is described in the table below.
| LED | Color | State | Description |
|
STAT |
Green/ Red | Steady Red | Hardware initialization stage. |
| Flashing Red | Software initialization stage. | ||
| Steady Green | System is powered on and ready to run. | ||
| Flashing Green | Firmware is being upgraded. | ||
| PWR1 | AMBER | On | Power is being supplied through power input PWR1. |
| Off | Power is not being supplied through power input PWR1. | ||
| PWR2 | AMBER | On | Power is being supplied through power input PWR2. |
| Off | Power is not being supplied through power input PWR2. | ||
|
FAULT |
RED |
On | One of the following 3 conditions is met: • One of the 2 power inputs is disconnected. • Video loss. • Network disconnected. Users can configure these alarm settings on the system alarm page of system configuration. |
| Off | Both power inputs are connected and are working properly, or the alarm is activated, there is no video loss and the network is connected. | ||
| VIDEO | GREEN | On | Video signal is detected. |
| Off | Video signal is not detected. | ||
| PTZ | GREEN | On | Serial data in COM port or PTZ port is transmitting. |
| Off | No serial data is transmitting. | ||
| SD | GREEN | On | SD card is mounted correctly and is ready to use. |
| Flash | Error in mounting SD card. | ||
| Off | No SD card in the slot. |
Hardware Reset
A recessed RESET button is provided for restoring the system to the factory default settings. When the system fails to install properly, or operates abnormally, use the RESET button located on the top panel of the VPort 461A to restore the factory defaults. To do this, use a pointed object such as a straightened paper clip or a toothpick, to depress the reset button continuously for about 90 seconds. Release the reset button when the STAT LED has finished the following sequence twice: light-on light-off solid-red red-flash light-off. At this point, the POST process will run, and the VPort will reboot. The STAT LED will turn to green when the VPort has finished rebooting.
NOTE This device complies with part 15 of the FCC Rules. The operation of the device is subject to the following two conditions:
- This device may not cause harmful interference, and
- this device must accept any interference received, including interference that may cause undesired operation.
NOTE
- This equipment is intended for use in locations with restricted access such as computer rooms. Access to the equipment should be restricted to SERVICE PERSONS or USERS who are trained and authorized to use this equipment. Furthermore, access to the equipment should be restricted by the use of a key, or a user identification system. Only authorized, well-trained professionals should be given access to the restricted area where the equipment is in operation.
- External metal parts are HOT!! Personnel who have access to this equipment should be made aware of the hot surface of the equipment. They must not touch the metal chassis of the equipment without proper protection.

























