
TRD04 Series
OIL FILLED RADIATOR
Instructions for use
This product is only suitable for well-insulated spaces or occasional use

ELECTRICAL CONNECTION
A) If your appliance comes fitted with a plug, it will incorporate a 13 Amp fuse. If it does not fit your socket, the plug should be cut off from the mains lead, and an appropriate plug fitted, as below.
WARNING: Very carefully dispose of the cut-off plug after removing the fuse: do not insert it in a 13 Amp socket elsewhere in the house as this could cause a shock hazard. With alternative plugs not incorporating a fuse, the circuit must be protected by a 15 Amp fuse. If the plug is a molded-on type, the fuse cover must be re-fitted when changing the fuse using a 13 Amp Asta-approved fuse to BS 1362. In the event of losing the fuse cover, the plug must NOT be used until a replacement fuse cover can be obtained from your nearest electrical dealer. The color of the correct replacement fuse cover is marked on the base of the plug.
B) If your appliance is not fitted with a plug, please follow the instructions provided below:
WARNING – THIS APPLIANCE MUST BE EARTHED
IMPORTANT
The wires in the mains lead are colored in accordance with the following code:
![]()
| Green and yellow: | Earth |
| Blue: | Neutral |
| Brown: | Live |
As the colors of the wires in the mains lead may not correspond with the colored markings identifying the terminals in your plug, proceed as follows: The green and yellow wire must be connected to the terminal in the plug marked with the letter E or the earth symbol
or colored green or green and yellow. The blue wire must be connected to the
terminal marked with the letter N or colored black. The brown wire must be connected to the terminal marked with the letter L or colored red.
IMPORTANT WARNINGS
Read all the Instructions for Use carefully before using the appliance. Keep these Instructions for Use.
Danger!
Failure to observe the warning may result in life-threatening injury by electric shock.
– Do not use the heater in the vicinity of bathtubs, wash basins, showers, sinks, and swimming pools.
– Never use the heater to dry laundry.
– If the power cable has been damaged, it must be replaced by the manufacturer or the technical service center or by a qualified person so as to avoid all risks.
Important!
Failure to observe the warning could result in injury or damage to the appliance.
– This appliance can be used by children aged 8 years and above and persons with reduced physical, sensory or mental capabilities or lack of experience and knowledge if they have been given supervision or instruction concerning the use of the appliance in a safe way and understand the hazards involved. Children shall not play with the appliance. Cleaning and user maintenance shall not be made by children without supervision.
– Children of less than 3 years should be kept away unless continuously supervised.
– Children aged from 3 years and less than 8 years shall only switch on/off the appliance provided that it has been placed or installed in its intended normal operating position and they have been given supervision or instruction concerning use of the appliance in a safe way and understand the hazards involved. Children aged from 3 years and less than 8 years shall not plug in, regulate and clean the appliance or perform user maintenance.
CAUTION — Some parts of this product can become very hot and cause burns. Particular attention has to be given where children and vulnerable people are present.
– WARNING: Do not use this heater in small rooms when they are occupied by persons not capable of leaving the room on their own unless constant supervision is provided.
– The body of this radiator is filled with a precise quantity of special oil, so repairs requiring the opening of the oil body must only be made by the service agent. Any oil leakage must be reported to the Customer Experience, see the enclosed guarantee for details.
– When scrapping the heater, follow the regulations concerning the disposal of oil.
– The appliance must not be located immediately below a fixed socket outlet.
– CAUTION: in order to avoid any danger caused by an accidental resetting of the safety system, this appliance must not be powered through an external timer.
– Do not obstruct the air intake and outlet area (danger of overheating).
The danger of burns!!
Failure to observe the warning could result in burns or scalds.
WARNING: In order to avoid overheating, never under any circumstances cover the appliances during operation, as this would lead to dangerous overheating.
– The use of an extension lead is not recommended, as overheating of the extension lead may occur during the operation of the heater.
– Never place the power cable on top of the heater while it is hot.
– Do not rest anything on the appliance.
– WARNING: To reduce the risk of fire, keep textiles, curtains, or any other flammable material a minimum distance of 1 m from the air outlet.
Please note:
This symbol indicates recommendations and important information for the user.
– We recommend that you not place the heater in a draught, because strong draughts of air may adversely affect the equipment’s operational efficiency.
– Use this heater on a horizontal and stable surface.
– Always use the appliance in an upright position.
– Do not use this heater if it has been dropped.
– Do not use if there are visible signs of damage to the heater.
– The first time you use the appliance, operate it for at least 15 minutes at maximum to eliminate the “new” smell.
A little smoke due to the protective substances applied to the heating element before transport may be given off.
– Position the appliance so that the plug and the outlet can be easily reached.
– Do not use the appliance in rooms less than 4 m2 in area.
– The appliance is fitted with a safety device that will switch off it in case of accidental overheating.
To reset, please contact Customer Experience, see the enclosed guarantee.
– Before putting the appliance away, make sure it is completely cooled and unplugged from the mains socket.
Do not store in dusty atmospheres.
– The appliance must not be hung.
For non-EU countries only:
This appliance is not intended for use by persons (including children) with reduced physical, sensory or mental capabilities, or lack of experience and knowledge unless they have been given supervision or instruction concerning the use of the appliance by a person responsible for their safety. Children should be supervised to ensure that they do not play with the appliance.
Disposing of the appliance
The appliance must not be disposed of with household waste but taken to an authorized waste separation and recycling center.
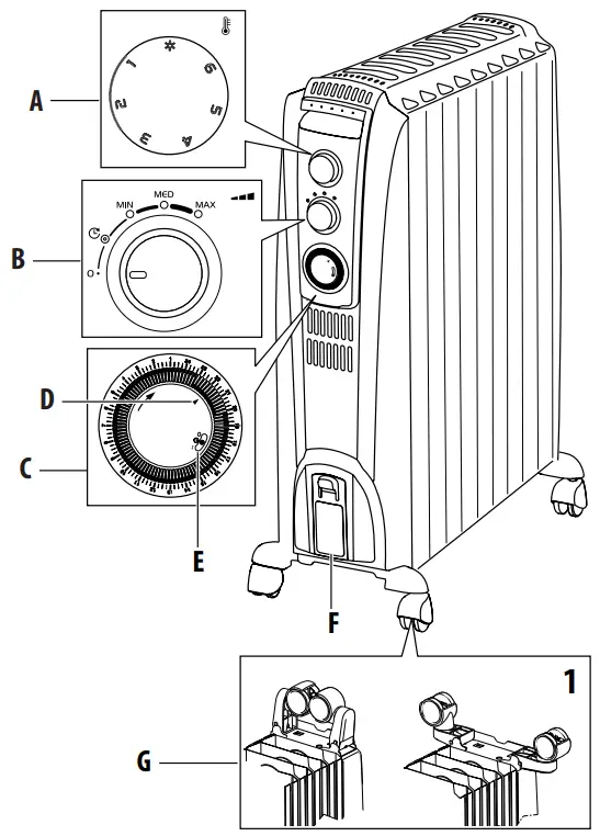
DESCRIPTION
A Thermostat
B Power selector
C Timer
D Timer pointer
E Slide switch
F Cord holder
G Wheel
USE
Fitting the wheels
Turn the radiator upside down on a rug or soft surface to prevent damaging the paint finish. Fully unfold the wheels by turning them outwards (Fig. 1). Turn the radiator back to its upright position.
Caution
Always operate the heater in the upright position only (wheels on the bottom, controls on top). Any other position could create a hazardous situation.
Location
The heater should not be placed immediately below a power outlet. Do not use this radiator in rooms with a floor area of fewer than 4 m2 (43 sq. ft. ).
Connection
– Before using the appliance check that your supply voltage is the same of that shown on the rating label of the unit and that the power socket and power supply line correspond
to the load specified.
– Check also the current capacity of your fuses. CONNECT YOUR HEATER TO EARTH PROVIDED SOCKET ONLY.
Turning on
Insert the plug into an electrical outlet, rotate the thermostat knob (A) to maximum and turn the unit on as follows using the power selector:
– Turn the power selector dial (B) to the
position to retain the time set only.
– Turn the power selector to position MIN to select minimum output (the min light will be on).
– Turn the power selector to position MED to select medium output (the min/med light will be on).
– Turn the power selector to position MAX to select maximum output (the lights will be on).
Adjusting the thermostat
When the room has reached the desired temperature, turn the thermostat knob slowly in an anti-clockwise direction until you hear a “click” and not beyond it. The thermostat will then adjust the set temperature automatically and keep it constant. If your unit is a three-power version, in intermediate seasons or on days when temperatures are not particularly cold, select minimum output to optimize savings and consumption.
Antifreeze function
Turn the thermostat dial to the
position and the power selector to position MAX. The appliance will maintain a minimum room temperature of approximately 5°C, thus preventing freezing while conserving energy. In models that come with a timer, teeth must be set in the inward position.
Reminder
To completely shut the appliance off, turn the power selector to the “0” position and then unplug the appliance from the outlet.
HOW TO USE THE TIMER
To program heating, proceed as follows:
– Look at the time on your clock or watch. If it is 10 p.m., turn the numbered timer disk clockwise until the number 22 (10 p.m.) on the disk coincides with the pointers
on the timer. Set the periods of time when you want the appliance to work by pushing the teeth inward. Each tooth corresponds to a period of 15 minutes. This will leave visible sectors which correspond to the periods of operation. When set, the radiator will operate automatically each day during the times programmed (important: the radiator must always be plugged into the socket).
– To change the programming, move the teeth and set the new periods of operation.
– To turn the appliance off, turn the power selector to “0”. In this position, the time will not be retained. If on the other hand, you want to retain the time set, turn the power selector (B) to the
position.
Important! DO NOT ROTATE THE CLOCK DIAL COUNTER-CLOCKWISE.
The timer is like an electric clock, and will only work when plugged into a power supply.
Timer override
If you wish to override the timer settings, push the timer switch to position I (fig.2) manual (timer override). To return to timed operation push the switch back to the middle position
(fig.2).
NOTE: if the timer switch is at the 0 positions (fig. 2), the heater is off and will not operate).

TIMER IN POSITION
| Slide switch (E) | Power selector (B) | Operation |
![]() | 0 | •Appliance off. •The time is not retained. |
| •Appliance off. •The time is retained. | ||
| Min | •Programming active. •The appliance operates at low power. •The time is retained. | |
| Med | •Programming active. •The appliance operates at medium power. •The time is retained. | |
| Max | •Programming active. •The appliance operates at high power. •The time is retained. |
TIMER IN POSITION 0
| Slide switch (E) | Power selector (B) | Operation |
| 0 | 0 | •Appliance off. •The time is not retained. |
| •Appliance off. •The time is retained. | ||
| Min | •Programming not active. •The product does not activate low power. •The time is retained. | |
| Med | •Programming not active. •The product does not activate medium power. •The time is retained. | |
| Max | •Programming not active. •The product does not activate maximum power. •The time is retained. |
TIMER IN POSITION ![]()
| Slide switch (E) | Power selector (B) | Operation |
| 0 | •Appliance off. •The time is not retained. | |
| •Appliance off. •The time is retained. | ||
| Min | •Programming not active. •The appliance operates continuously at low power. •The time is retained. | |
| Med | •Programming not active. •The appliance operates continuously at medium power. •The time is retained. | |
| Max | •Programming not active. •The appliance operates continuously at high power. •The time is retained. |
Safety device
A safety device shuts the radiator down in the case of overheating. To start the radiator up again, contact Customer Experience. See enclosed guarantee leaflet.
MAINTENANCE AND SERVICE
Always unplug the heater from the power outlet and allow the radiator to cool. Wipe the radiator with a soft damp cloth; do not use detergents or abrasives. Should the radiator not be in use over a certain length of time, wind the cord around the holder and store it in a dry place. This appliance has been built to last for many years of trouble-free service. In case of malfunction or doubt, do not try to repair the heater by yourself: this might increase the risk of fire and electric shock. Please refer to the enclosed guarantee leaflet for service and assistance details.
TECHNICAL CHARACTERISTICS
Power supply
See rating plate
Absorbed power
TROUBLESHOOTING
| PROBLEM | CAUSE | SOLUTION |
| The appliance doesn’t work | Be sure it is plugged in and that the electrical outlet is working. Check for any obstruction. The temperature may be set too low. | Plug into the power outlet. Remove the obstruction and let the appliance cool down. If the appliance doesn’t work please contact Customer Experience. Set the temperature to a higher position. |

www.delonghi.com/register
De’Longhi Appliances via Seitz, 47 31100 Treviso Italia www.delonghi.com



















