TRH 20 E / TRH 21 E / TRH 22 E / TRH 23 E / TRH 24 E
OPERATING MANUAL
OIL-FILLED RADIATOR
This product is only suitable for wee insulated spaces or occasional use.
Notes regarding the operating manual
Symbols
| Warning of electrical voltage This symbol indicates dangers to the life and health of persons due to electrical voltage. | |
| Warning of hot surface This symbol indicates dangers to the life and health of persons due to hot surfaces. | |
| Warning This signal word indicates a hazard with an average risk level that, if not avoided, can result in serious injury or death. | |
| Caution This signal word indicates a hazard with a low-risk level which, if not avoided, can result in minor or moderate injury. Note This signal word indicates important information (e.g. material damage) but does not indicate hazards. | |
| Info Information marked with this symbol helps you to carry out your tasks quickly and safely. | |
| Follow the manual Information marked with this symbol indicates that the operating manual must be observed. |
You can download the current version of the operating manual and the EU declaration of conformity via the following link:
https://hub.trotec.com/?id=43931 |
TRH22E/TRH23E https://hub.trotec.com/?id=43932 |
TRH 24 E https://hub.trotec.com/?id=45462 |
Safety
Read this manual carefully before starting or using the device. Always store the manual in the immediate vicinity of the device or its site of use.
Warning
Read all safety warnings and all instructions.
Failure to follow the warnings and instructions may result in electric shock, fire, and/or serious injury.
Save all warnings and instructions for future reference.
This appliance can be used by children aged 8 years and above and persons with reduced physical, sensory or mental capabilities or lack of experience and knowledge if they have been given supervision or instruction concerning the use of the appliance in a safe way and understand the hazards involved.
Children shall not play with the appliance. Cleaning and user maintenance shall not be made by children without supervision.
Warning
Children of less than 3 years should be kept away from the device unless continuously supervised.
Children aged from 3 years and less than 8 years shall only switch on/off the appliance provided that it has been placed or installed in its intended normal operating position and they have been given supervision or instruction concerning the use of the appliance in a safe way and understand the hazards involved.
Children aged from 3 years and less than 8 years shall not plug in, regulate and clean the appliance or perform user maintenance.
Warning
Do not use the device in small rooms if persons are present who cannot leave the room independently and who are not under constant supervision.
- Do not use the device in potentially explosive rooms or areas and do not install it there.
- Do not use the device in an aggressive atmosphere.
- Do not operate the device at an altitude of more than 2000 m.
- Only put up the device in an upright, stable position on firm ground.
- Let the device dry out after a wet clean. Do not operate it when wet.
- Do not use the device with wet or damp hands.
- Do not expose the device to directly squirting water.
- Never insert any objects or limbs into the device.
- Do not cover the device during operation.
- Do not remove any safety signs, stickers, or labels from the device. Keep all safety signs, stickers, and labels in legible condition.
- Do not sit on the device.
- This appliance is not a toy. Keep away from children and animals. Do not leave the device unattended during operation.
- Check accessories and connection parts for possible damage prior to every use of the device. Do not use any defective devices or device parts.
- Ensure that all electric cables outside of the device are protected from damage (e.g. caused by animals). Never use the device if electric cables or the power connection are damaged!
- The main connection must correspond to the specifications in the technical annex.
- Insert the mains plug into a properly fused mains socket.
- Observe the device’s power input, cable length, and intended use when selecting extensions to the power cable. Completely unroll extension cables. Avoid electrical overload.
- Before carrying out maintenance, care, or repair work on the device, remove the main plug from the main socket. Hold onto the mains plug while doing so.
- Switch the device off and disconnect the power cable from the main socket when the device is not in use.
- Check the power cable and mains plug for damage. If you notice damages, do not try to take the device back into operation. Order a new power cable with a mains plug from Trotec and replace the defective power cable with the mains plug with the new one. Defective power cables pose a serious health risk!
- The power cable must not rest on the device or run in front of the air outlet, otherwise, it may be damaged as a result of high temperatures.
- When installing the device, observe the minimum distances from walls and other objects as well as the storage and operating conditions according to the technical data (chapter Technical annex).
- Keep a safe distance of at least 1 m between the air inlet and the air outlet of the device and all combustible materials such as textiles, curtains, beds, and sofas.
- Make sure that the air inlet and outlet are not obstructed.
- Make sure that the suction side is kept free of dirt and lost objects.
- Do not place the device on the combustible ground.
- Only use original spare parts, for otherwise safe and functional operation cannot be ensured.
- Allow the device to cool down before transport and/or maintenance work.
- The device must not be positioned directly beneath a wall socket.
- Do not use the device if it has been dropped or if it shows visible signs of damage.
Intended use
The device is only suitable for well-insulated spaces or occasional use.
The device is only intended to be used as an additional heating device in dry, closed rooms whilst adhering to the technical data. For intended use, it must only be positioned on the ground.
Foreseeable misuse
- Do not place the device on wet or flooded ground.
- Do not place any objects, e.g. clothing, on the device.
- Do not use this device in the vicinity of fuel, solvents, varnishes, or other easily inflammable vapors or in rooms where these substances are stored.
- Do not use the device out of doors.
- This heating device must not be used in wet rooms.
- Never immerse the device in water.
- Do not use the device for heating vehicles.
- Never heat rooms with a cubature of fewer than 4 m3. Risk of overheating!
- Any use other than the intended use is regarded as a reasonably foreseeable misuse.
- Please bear in mind that our devices are not designed for application in business, craft, or industrial enterprises. We do not accept any liability if the device is used in business, craft, or industrial enterprises as well as for similar applications.
- Do not make any unauthorized modifications, alterations, or structural changes to the device.
Personnel qualifications
People who use this device must:
- be aware of the dangers that occur when working with electric devices in damp areas.
- have read and understood the operating manual, especially the Safety chapter.
Maintenance tasks that require the housing to be opened must only be carried out by specialist electrical companies or by Trotec.
Symbols on the device
| Symbols | Meaning |
| his symbol located on the device indicates that it is prohibited to place objects (such as towels, clothes etc.) above or directly in front of the device. In order to avoid overheating and fire hazards, the heater must not be covered. |
Residual risks
| Warning of electrical voltage Work on the electrical components must only be carried out by an authorized specialist company! | |
| Warning of electrical voltage Before any work on the device, remove the mains plug from the mains socket! Do not touch the mains plug with wet or damp hands. Hold onto the mains plug while pulling the power cable out of the mains socket. | |
| Warning of electrical voltage Risk of electric shock! The device must not come into contact with water, otherwise, there is a risk of an electric shock! Do not use this heating device in wet rooms! | |
| Warning of hot surface Parts of this appliance can become very hot and cause bums. Particular attention is to be paid when there are children or vulnerable persons present! | |
| Warning Dangers can occur to the device when it is used by untrained people in an unprofessional or improper way! Observe the personnel qualifications! | |
| Warning The device is not a toy and does not belong in the hands of children. | |
| Warning Risk of suffocation! Do not leave the packaging lying around. Children may use it as a dangerous toy. | |
| Warning Improper installation entails a risk of fire. Do not place the device on combustible ground. Do not place the device on high-pile carpets. | |
| Warning In order to avoid overheating and fire hazards, the device must not be covered! |
Behavior in the event of an emergency
- Switch the device off.
- In an emergency, disconnect the device from the mains feed-in: Hold onto the mains plug while pulling the power cable out of the mains socket.
- Do not reconnect a defective device to the mains.
Overheating protection
The device is provided with a safety thermostat which is activated by overheating the device (when exceeding the operating temperature).
Investigate the cause of overheating.
If the safety thermostat does not switch in the event of overheating, the overheating protection will be tripped. In that case, the device switches off completely. If so, please contact customer service to have the overheating protection replaced.
Tilt protection
The device comes equipped with tilt protection. The tilt protection is a safety device intended to minimize the risk of fire in case the device is tipped over inadvertently. The device will be switched off when knocked over (or if its upright position is changed in any other manner).
The tilt protection switches the device off when it is inclined out of its vertical position. The device can again be used as usual only a few seconds after placing it back in a vertical position and on solid ground.
Information about the device
Device description
The oil-filled radiator is used to generate warm air for interior spaces.
The device comes with 3 performance levels and an infinitely variable thermostat with the following maximum power values.
- TRH 20 E: 2,000 watts
- TRH 21 E: 2,500 watts
- TRH 22 E: 2,400 watts (performance with fan)
- TRH 23 E: 2,900 watts (performance with fan)
- TRH 24 E: 2,200 watts
The heat electrically generated by the heating elements within the device is absorbed by the heating medium oil. The heating medium oil offers the advantages of quick heat-up and long-term heat storage capacity. On these grounds, the heating medium oil can guarantee a continuous heat emission. The radiator’s 9 or 11 ribs increase the heat radiating surface and so enhance its effectiveness.
The devices are further equipped with overheating protection and tilt protection.
The device TRH 22 E / TRH 23 E comes with an additional turbo function. Accordingly, a turbo blower with an additional PTC heating element ensures quick and effective initial room heating.
Device depiction
TRH 20 E/ TRH 21 E
TRH 22 E/ TRH 23 E

TRH 24 E

| No. | Designation |
| 1 | Transport handle |
| 2 | Control panel |
| 3 | Cable winder (TRH 22 E / TRH 23 E with plug holder) |
| 4 | Foot with castors |
| 5 | Air inlet (blower) |
| 6 | Air outlet (blower) |
| 7 | Flip switch (blower) |
Transport and storage
Note
If you store or transport the device improperly, the device may be damaged.
Note the information regarding the transport and storage of the device.
Transport
To make the device easier to transport, it is fitted with wheels.
Before transporting the device, observe the following:
- Switch the device off.
- Hold onto the mains plug while pulling the power cable out of the mains socket.
- Do not use the power cable to drag the device.
- Allow the device to cool down sufficiently.
Storage Before storing the device, proceed as follows:
- Hold onto the mains plug while pulling the power cable out of the mains socket.
- Allow the device to cool down sufficiently.
When the device is not being used, observe the following storage conditions:
- Store the device in a dry location and protected it from frost and heat.
- Store the device in an upright position where it is protected from dust and direct sunlight.
- If required, use a cover to protect the device from invasive dust.
- Place no further devices or objects on top of the device to prevent it from being damaged.
Assembly and start-up
Scope of delivery
TRH 20 E/TRH 21 E/TRH 22 E/TRH 23 E
| TRH 24 E
|
Unpacking the device
- Open the cardboard box and take the device out.
- Completely remove the packaging.
- Fully unwind the power cable. Make sure that the power cable is not damaged and that you do not damage it during unwinding.
Assembly
Warning of electrical voltage Risk of injury due to incorrect assembly! Local or national regulations may apply for installation.. We recommend having the installation carried out by a qualified electrician.
Warning Risk of fire due to improper installation! There is a risk of fire if the required minimum distances are not observed. Observe the “Installation” section in the “Assembly and start-up” chapter and the technical data in the “Technical annex” chapter.
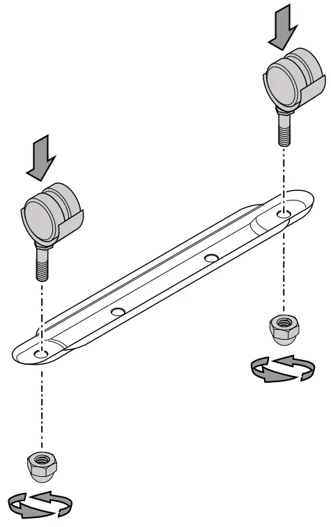
Mounting the castors (TRH 20 E/TRH 21 E/TRH 22 E/ TRH 23 E)
Make sure to mount the castors before you set the device up.
- Place the device upside down on a scratch-proof, even surface and in a stable position.
- Screw respectively two of each of the castors and cap nuts to one of the mounting plates.

- Detach the wing nuts from the U-bolts.

- Position the respective U-bolt between either the first or the last two ribs at the device’s bottom.

- Attach the mounting plates with the castors to the U-bolts. In doing so, observe the position of the cut-outs at one side of the mounting plates. They should be directed towards the device front (control panel).

- Bolt the mounting plates, wing nuts, and U-bolts together. Ensure the tight fit of the mounting plates. They should rest evenly on the ribs to ensure the upright position of the device.
- Turn the device over and set it down on the castors. If necessary, use a spirit level to check the correct positioning. Adjust the screw connection if required.
Mounting the feet (TRH 24 E)
The castors of the device are preassembled.
- Place the left foot upside down on the left side of the device.
- Fasten the left foot with a screw.
- Place the right foot with the slots upside down on the right side of the device on the penultimate rib.
- Close the four clips of the right foot.
⇒ Check the feet and castors for a tight fit. The feet should rest evenly on the fins to ensure the upright position of the device. - Turn the device over and set it down on the castors. If necessary, use a spirit level to check the correct positioning. Adjust the screw connection if required.
Start-up
Info
Odors might arise upon initial start-up or after a longer period of non-use.
When positioning the device, observe the minimum distance from walls or other objects as described in the chapter Technical annex.
- Before restarting the device, check the condition of the power cable. If there are doubts as to the sound condition, contact the customer service.
- The device may only be operated when fully assembled and set up in a vertical position on a stable surface. Operation on the unstable ground is prohibited.
- Set the device up in an upright and stable position.
- Do not create tripping hazards when laying the power cable or other electric cables, especially when positioning the device in the middle of the room. Use cable bridges.
- Make sure that extension cables are completely unrolled.
- Make sure that no curtains or other objects interfere with the airflow.
- Do not position the device directly below a wall socket.
- Make sure that the device cannot come into contact with moisture or water.
Connecting the power cable
- Insert the mains plug into a properly fused mains socket.
- Make sure that the power cable is guided along the back of the device. Never guide the power cable along the front of the device!
Operation
- Avoid open doors and windows.
Operating elements TRH 20 E / TRH 21 E
Operating elements TRH 22 E / TRH 23 E
Operating elements TRH 24 E
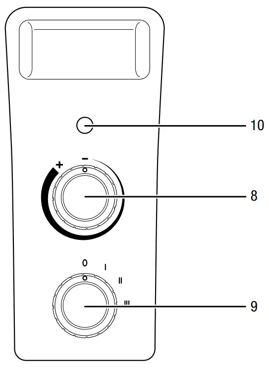
| No. | Designation |
| 8 | Rotary switch of the room thermostat |
| 9 | Performance level rotary switch |
| TRH 20 E level 1: 800 W level 2: 1,200 W level 3: 2,000 W | |
| TRH 21 E level 1: 1,000 W level 2: 1,500 W level 3: 2,500 W | |
| TRH 22 E level 1: 800 W level 2: 1,200 W level 3: 2,000 W level 3 (performance with fan): 2,400 W | |
| TRH 23 E level 1: 1,000 W level 2: 1,500 W level 3: 2,500 W level 3 (performance with fan): 2,900 W | |
| TRH 24 E level 1: 1,000 W level 2: 1,200 W level 3: 2,200 W | |
| 10 | Operating control lamp |
Switching the device
on Once you have completely installed the device as described in the chapter Assembly and start-up, you can switch it on.
Info
The device will not be switched on until the room temperature falls below the temperature set at the room thermostat.
Setting the performance level
- Set the rotary switch of the performance level (9) to the desired level.
Setting the room thermostat
- Select the desired temperature via the infinitely variable rotary switch of the room thermostat (8).
⇒ When the room thermostat is switched on the operating control lamp (10) will be illuminated.
⇒ After approx. 8 to 10 min the device will have reached the set power.
To find the ideal thermostat setting, please proceed as follows:
- Set the rotary switch of the room thermostat (8) to the highest level.
- As soon as the desired temperature has been reached, slowly turn the rotary switch of the room thermostat back until the operating control lamp (10) goes out.
⇒ The device now automatically maintains the desired temperature level.
Automatic temperature control via the room thermostat (TRH 20 E / TRH 21 E / TRH 22 E and TRH 23 E):
- Upon reaching the operating temperature of the heating medium in performance levels 2 and 3 the device reduces its power to level 1.
- When falling below the operating temperature of the heating medium, the heating will automatically switch back over to level 2 or level 3.
- When the device is set to performance level 1, the operating temperature of the heating medium will not be controlled automatically. Upon reaching the preselected room temperature, the device switches off completely.
Automatic temperature control via the room thermostat (TRH 24 E):
- Select the desired temperature via the infinitely variable rotary switch of the room thermostat (8). The heating switches off automatically upon reaching the set temperature. If the temperature falls below the set temperature. the heating switches back on.
- Upon reaching the operating temperature of the heating medium in level 3 the device reduces its power to level 2.
- When falling below the operating temperature of the heating medium, the heating will automatically switch back over to level 3.
- When the device is set to performance level 1 or performance level 2. the operating temperature of the heating medium will not be controlled automatically. Upon reaching the preselected room temperature, the device switches off completely.
Frost monitor function
The device is equipped with a frost monitor function that prevents the room temperature from falling below the frost protection temperature. Please proceed as follows to activate the frost monitor function:
- Set the rotary switch of the performance level (9) to level 1.
- Turn the rotary switch of the room thermostat (8) to a position just above -.
⇒The frost monitor function is activated.
Switching on the turbo blower (TRH 22 E / TRH 23 E)
- Set the flip switch for the blower (7) to me.
⇒ The lamp at the flip switch will be illuminated.
⇒ The blower will start to run when the device produces heat.
⇒ The blower will turn off when the room thermostat switches off the heating.
Shutdown
Warning of electrical voltage
Does not touch the mains plug with wet or damp hands.
- Set both rotary switches (8, 9) to position 0 or -.
- Hold onto the mains plug while pulling the power cable out of the mains socket.
- Allow the device to cool down completely.
- Clean the device according to the Maintenance chapter.
- Store the device according to the Transport and storage chapter.
Errors and faults
Warning of electrical voltage
Tasks that require the device to be opened must only be carried out by authorized specialist companies or by Trotec.
The device has been checked for proper functioning several times during production. If malfunctions occur nonetheless. check the device according to the following list.
The device makes noises after switch-on:
- The heating medium oil expands due to heating. This is what causes the noise. It is a perfectly normal process. No measures are required.
The device does not start
- Check the power connection.
- Check the power cable and mains plug for damages. If you notice damages, do not try to take the device back into operation. Order a new power cable with the mains plug from Trotec and replace the defective power cable with the mains plug with the new one.
- Check the on-site fusing.
- Check the room temperature. The room thermostat may have switched off because the desired room temperature has been reached.
- Check whether the device is standing upright and on level ground. The tilt protection may have been tripped owing to the fact that the device was knocked over. Always put up the device in an upright position on a suitable. sufficiently dimensioned surface.
- The room thermostat might be defective. Have a defective room thermostat replaced by a specialist electrical company.
- Check whether the overheating protection has tripped (see chapter Safety.
- Wait for 10 minutes before restarting the device. If the device is not starting. have the electrics checked by a specialist company or by Trotec.
The device is switched on, but the heating is not operating:
- Check the room temperature. The room thermostat may have switched off. because the desired room temperature has been reached.
- Check whether the overheating protection has tripped (see chapter Safety.
- The heating resistor might have blown. Have a defective heating resistor replaced by a specialist electrical company.
- The room thermostat might be defective. Have a defective room thermostat replaced by a specialist electrical company.
The fan does not run (TRH 22 E / TRH 23 E only):
- Check whether the device is switched on.
- Check the power connection.
- Check the power cable and mains plug for damages.
- Check the room temperature. When the room thermostat switches off, the blower turns off as well.
- The fan motor might be defective. Have a defective fan motor replaced by a specialist electrical company.
The air current is reduced (TRH 22 E / TRH 23 E only):
- Check the air inlet and outlet. Make sure that the air inlet and outlet are not obstructed. Remove any dirt. Observe the minimum distance from walls or other objects according to the technical data.
Note Wait for at least 3 minutes after maintenance and repair work. Only then switch the device back on.
The device still does not operate correctly after these checks:
Please contact customer service. If necessary, bring the device to an authorized specialist electrical company or to Trotec for repair.
Maintenance
Activities required before starting maintenance
Warning of electrical voltage
Do not touch the mains plug with wet or damp hands.
- Switch the device off.
- Hold onto the mains plug while pulling the power cable out of the mains socket.
- Allow the device to cool down completely.
The waning of electrical voltage Tasks that require the device to be opened must only be carried out by authorized specialist companies or by Trotec.
Note The device is filled with the heating medium oil. Tasks that require the oil tank to be opened must only be carried out by Trotec. In case of oil leakage please contact the customer service.
Cleaning the housing
Warning of electrical voltage
Never immerses the device in the water! Clean the housing with a soft, damp, and lint-free cloth. Make sure that no moisture enters the housing. Protect electrical components from moisture. Do not use any aggressive cleaning agents such as cleaning sprays, solvents, or alcohol-based or abrasive cleaners to dampen the cloth. Wipe the housing dry after cleaning.
Technical annex
Technical data
| Parameter | Value | ||||
| Model | TRH 20 E | TRH 21 E | TRH 22 E | TRH 23 E | TRH 24 E |
| Power level 1: level 2: level 3: (performance with fan): | 800 W 1200 W 2000 W – | 1000 W 1500 W 2500 W | 800 W 1200 W 2000 W 2400 W | 1000 W 1500 W 2500 W 2900 W | 1000 W 1200 W 2200 W |
| Mains connection | 220 — 240 V / 50 — 60 Hz | 220 — 240 V / 50 — 60 Hz | 220 — 240 V / 50 — 60 Hz | 220 — 240 V / 50 — 60 Hz | 220 — 240 V / 50 Hz |
| Number of heating fins | 9 | 11 | 9 | 11 | 11 |
| Nominal current consumption | 8.7 A | 10.9 A | 10.4 A | 12.6 A | 9.5 A |
| Fusing | 16A | 16A | 16A | 16A | 16A |
| Plug type | VDE plug CEE 7/7 | VDE plug CEE 7/7 | VDE plug CEE 7/7 | VDE plug CEE 7/7 | VDE plug CEE 7/7 |
| Cable length | 1.4 m | 1.4 m | 1.4 m | 1.4 m | 1.8 m |
| Type of protection | IPXO | IPXO | IPXO | IPXO | IPXO |
| Dimensions (depth x width x height) | 120 x 400 x 500 mm | 120x 480 x 500 mm | 125 x 410 x 500 mm | 125x 490x 580 mm | 240 x 442 x 639 mm |
| Minimum distance to walls and other objects top (A): rear (B): sides (C): front (D): | 100 cm 100 cm 100 cm 100 cm | 100 cm 100 cm 100 cm 100 cm | 100 cm 100 cm 100 cm 100 cm | 100 cm 100 cm 100 cm 100 cm | 100 cm 100 cm 100 cm 100 cm |
| Weight | 7 kg | 8 kg | 8.5 kg | 10 kg | 9.5 kg |
Information requirements for electrical local space heaters
| Parameter | Value / item | ||||
| Model | TRH 20 E | TRH 21 E | TRH 22 E | TRH 23 E | TRH 24 E |
| Heat output | |||||
| Nominal heat output P…. | 0.8274 IN | 0.9003 kW | 1.0477 kW | 1.0917 kW | 1.5 IN |
| Minimum heat output (indicative) P.„ | 0 kW | 0 kW | 0 kW | 0 kW | 1.0 IN |
| Maximum continuous heat output Para, | 0.8274 IN | 0.9003 IN | 1.0477 kW | 1.0917 kW | 1.5 kW |
| Auxiliary electricity consumption | |||||
| At nominal heat output et,„ | NA | NA | NA | NA | NA |
| At minimum heat output el,,,, | NA | NA | NA | NA | NA |
| In standby mode el, | NA | NA | NA | NA | NA |
| Type of heat Input | |||||
| Manual heat charge control. with integrated thermostat | NA | NA | NA | NA | NA |
| Manual heat charge control with room and/or outdoor temperature feedback | NA | NA | NA | NA | NA |
| Electronic heat charge control with room and/or outdoor temperature feedback | NA | NA | NA | NA | NA |
| Fan-assisted heat output | NA | NA | NA | NA | NA |
| Type of heat output/room temperature control | |||||
| Single-stage heat output. no room temperature control | NO | NO | NO | NO | NO |
| Two or more manual stages. no room temperature control | NO | NO | NO | NO | NO |
| With mechanic thermostat room temperature control | YES | YES | YES | YES | YES |
| With electronic room temperature control | NO | NO | NO | NO | NO |
| With electronic room temperature control plus day timer | NO | NO | NO | NO | NO |
| With electronic room temperature control plus week timer | NO | NO | NO | NO | NO |
| Other control options | |||||
| Room temperature control. with presence detection | NO | NO | NO | NO | NO |
| Room temperature control. with open window detection | NO | NO | NO | NO | NO |
| With the distance control option | NO | NO | NO | NO | NO |
| With adaptive start control | NO | NO | NO | NO | NO |
| With working time limitation | NO | NO | NO | NO | NO |
| With a black bulb sensor | NO | NO | NO | NO | NO |
| Contact details | Trotec GmbH Grebbener Strafe 7 D-52525 Heinsberg | ||||
Disposal
The icon with the crossed-out waste bin on waste electrical or electronic equipment stipulates that this equipment must not be disposed of with the household waste at the end of its life. You will find collection points for free return of waste electrical and electronic equipment in your vicinity. The addresses can be obtained from your municipality or local administration. You can also find out about other return options that apply for many EU countries on the website https://hub.trotec.com/?id=45090.Otherwise, please contact an official recycling center for electronic and electrical equipment authorized for your country.
The separate collection of waste electrical and electronic equipment aims to enable the re-use, recycling, and other forms of recovery of waste equipment as well as to prevent negative effects on the environment and human health caused by the disposal of hazardous substances potentially contained in the equipment.
Heating medium oil
The heating medium oil must be drained from the device and collected.
The heating medium oil is to be disposed of according to national regulations.
Only for the United Kingdom
According to Waste Electrical and Electronic Equipment Regulations, 2013 (2013/3113) power tools that are no longer usable must be collected separately and disposed of in an environmentally friendly manner.
Trotec GmbH
Grebbener Str. 7
D-52525 Heinsberg
+49 2452 962-400
+49 2452 962-200
[email protected]
www.trotec.com
TRT-BA4RH20ETRH21E-TRH22E
TRH23E-IRH24E TC210927TTRT01
010-EN






















