Hotpoint RDGE9643WUKN Freestanding Washer Dryers

THANK YOU FOR PURCHASING A HOTPOINT PRODUCT
To receive more comprehensive assistance, register the appliance on www.hotpoint.eu/register
Before using the appliance carefully read the Health and Safety guide.
Before using the machine, it is imperative that the transport bolts are removed. For more detailed instructions on how to remove them, see the Installation Guide.
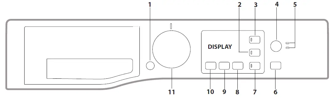
CONTROL PANEL
- ON/OFF button
- DRY ONLY button and indicator light
- KEY LOCK button and indicator light
- CLEANING ACTION button
- CLEANING ACTION indicator lights
- START/PAUSE button and indicator light
- DELAY button and indicator light
- DRYING button
- SPIN button
- TEMPERATURE button
- WASH CYCLE SELECTOR KNOB
WASH CYCLE TABLE
The cycle duration indicated on the display or instruction manual is an estimate based on standard conditions. The actual duration may vary in relation to several factors, such as the temperature and pressure of the incoming water, ambient temperature, amount of detergent, load quantity and type, load balancing and any additional options selected.The values given for programmes other than the Eco 40-60 programme are indicative only.
- Eco 40-60 (Wash) – Test wash cycle in compliance with EU Ecodesign regulation 2019/2014. The most efficient programme in terms of energy and water consumption for washing normally soiled cotton laundry.
Note: spin speed values shown on the display can slightly differs from the values stated in the table. - Eco 40-60 (Wash &Drying)- Test wash and drying cycle in compliance with EU Ecodesign regulation 2019/2014. To access “wash and dry” cycle select “Eco 40-60” wash programme and set “Drying” option level to “A3”. The most efficient programme in terms of energy and water consumption for washing and drying normally soiled cotton laundry. At the end of cycle the garments can be immediately stored to the cupboard.
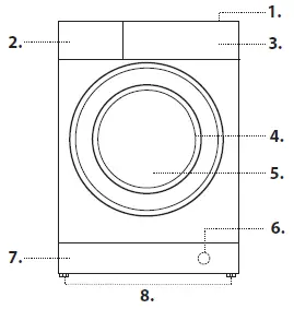
PRODUCT DESCRIPTION
- Top
- Detergent dispenser drawer
- Control panel
- Handle
- Porthole door
- Drain pump (behind the plinth)
- Plinth (removable)
- Adjustable feet (2)
For all testing institutes:
- Long cotton cycle: set programme 3 at temperature 40°C.
- Long synthetics cycle: set cycle 4 at a temperature of 40°C.
- By selecting the
cycle and excluding the spin cycle, the washer-dryer will drain only. - The duration of the wash cycles can be checked on the display.
- After programme end and spinning with maximum selectable spin speed, in default programme setting.
- If a drying cycle is also programmed, the machine will run a “wash+dry” programme lasting 45’ and a 1kg laundry load.
DETERGENT DISPENSER DRAWER
Compartment
Do not insert detergent in this compartment. Compartment 1: Washing detergent (powder or liquid)
If liquid detergent is used, the removable plastic partition A (supplied) should be used for proper dosage.
If powder detergent is used, place the partition into slot B.
Compartment 2: Additives (fabric softeners, etc.)
The fabric softener must not exceed the “MAX” level.
WASH CYCLES
Follow the instructions on the symbols of the garment’s wash care label. The value indicated in the symbol is the maximum recommended temperature for washing the garment.
- Anti-Stain Turbo
this programme is ideal for washing the most difficult daily stains in 1 hour. It is ideal for mixed fabrics and coloured garments, caring for your clothes as it washes. . - Anti-Stain 40°
the programme is suitable to heavily-soiled garments with resistant colours. It ensures a washing class that is higher than the standard class (A class).
When running the programme, do not mix garments of different colours. We recommend the use of powder detergent. Pre-treatment with special additives is recommended if there are obstinate stains. - Cotton
Suitable for washing towels, underwear, table cloths, etc. made of resistant linen and cotton that are moderately to heavily soiled. Synthetics
Specific for synthetic items. If the dirt is difficult to remove, the temperature can be increased up to 60° and powder detergent can be used too. - Rapid 30’
For washing lightly soiled garments in a short time. Not suitable for wool, silk and garments to be washed by hand. - Mix Wash & Dry
use programme 6 to wash and dry mixed garments (cotton and synthetics). This cycle may be used to wash and dry loads of up to 3.5 kg; we recommend the use of liquid - detergent.
The use of the steam in this programme is optimised to reduce the formation of creases on garments, making them easier to iron. - Shirts Wash & Dry
Use programme 7 to wash and dry shirts and T-shirts in different fabrics and colours to ensure maximum care. This cycle may be used to wash and dry loads of up to 2 kg. To achieve optimum results, use liquid detergent and pre-treat cuffs, collars and stains. The use of the steam in this programme is optimised to reduce the formation of creases on garments, making them easier to iron.
Wool – Woolmark Apparel Care – Green:
the wool wash cycle of this machine has been approved by The Woolmark Company for the washing of wool garments labelled as “hand wash” provided that the products are washed according to the instructions on the garment label and those issued by the manufacturer of this washer-dryer. (M1318)
- Eco 40-60
For washing normally soiled cotton garments declared to be washable at 40 °C or 60 °C, together in the same cycle. This is the standard cotton programme and the most efficient in terms of water and energy consumption. - 20°C
For washing lightly soiled cotton garments, at a temperature of 20 °C. White
For heavily soiled whites and resistant colours. - Anti Allergy
Suitable for removing major allergens such as pollen, mites and cat or dog hair. Steam Refresh
For refreshing garments, neutralised unpleasant odours and relaxing the fibres by delivering steam into the drum. The garments will be damp at the end of the cycle. - Ultradelicates
For washing very delicate garments. It is advisable to turn the garments inside out before washing them. For best results, use liquid detergent on delicate garments.
We recommend turning the garments inside out before washing and placing small items into the special bag for washing delicates. Use liquid detergent on delicate garments for best results.
When selecting an exclusively time-based drying function, a drying cycle is performed at the end of the wash cycle that is particularly delicate, thanks to light handling and appropriate temperature control of the water jet.
The recommended durations are:- 1 kg of synthetic garments –> 150 min
- 1 kg of synthetic and cotton garments –> 180 min
- 1 kg of cotton garments –> 180 min
- The degree of dryness depends on the load and fabric composition.
- Rinse&Spin
Designed for rinsing and spinning. - Spin&Drain
Designed for spinning and draining the water. - DISPLAY

Section A displays the duration of the various available wash cycles and, once the cycle starts, the time remaining to the latter’s end (the display will show the maximum duration of the selected cycle which may decrease after a few minutes, as the actual duration varies in relation to the laundry load and the chosen settings); if the Delay option was set, the display will show the time remaining to the start of the selected wash cycle. Moreover, pressing the relative button allows for visualising the maximum values for the temperature, spin speed or type of drying relative to the selected programme or the most recently selected ones, if compatible with the selected programme.
The “washing phases” relative to the selected cycle and the “washing phase” of the running cycle appear in section B:
- Main Wash
- Rinse
- Spin/Pump out
- Drying
Section C displays – starting from the left – the icons corresponding to “temperature”, “spin” and “drying”. The “temperature” bars
indicate the maximum temperature level that can be selected for the chosen cycle. The “spin” bars
indicate the maximum spin speed that can be selected for the chosen cycle.
The
symbol lights up while the drying settings are being adjusted
LOCKED DOOR INDICATOR
When lit, the symbol indicates that the door is locked. To prevent any damage, wait until the symbol turns off before opening the door. To open the door while a cycle is in progress, press the START/PAUSE button
; if the symbol
is off, the door can be opened
FIRST-TIME USE
Once the appliance has been installed, and before it is used for the first time, run a wash cycle with detergent and no laundry, by setting the “Auto-Clean” cycle.
DAILY USE
Prepare the laundry by following the suggestions appearing under the “TIPS AND SUGGESTIONS” section.
- Press the ON/OFF button
; the indicator light relative to START/PAUSE
will flash slowly green. - Open the door. Load the laundry while making sure not to exceed the maximum load quantity indicated in the wash cycle table.
- Pull out the detergent dispenser drawer and pour the detergent into the relevant compartments, as described in the “DETERGENT DISPENSER DRAWER” section.
- Close the door.
- The machine automatically displays the maximum temperature and spin speed values for the selected cycle, or the most recently used settings if they are compatible with the selected cycle. Pressing the button
gradually reduces the temperature down to the cold wash “OFF” setting. Pressing the button gradually reduces the spin speed until it is completely excluded (“OFF” setting). Pressing the buttons further restores the maximum allowed values for the selected cycle. - Select the desired wash cycle.
- Select the desired options.
- Press the START/PAUSE
button to start the wash cycle; the relative indicator light will light up steady green and the door will lock
( symbol on).
PAUSING A CYCLE
To pause the wash cycle, press the START/PAUSE button again; the indicator light will flash amber. To start the wash cycle from the point at which it was interrupted, press the START/PAUSE
button again.
Once a cycle starts, the symbol
turns on to signal that the door cannot be opened. While a wash cycle is running, the door remains locked. To open the door while a cycle is under way, for example, to add or remove garments, press the START/PAUSE
button to pause the cycle; the indicator light will flash amber. If the symbol is not lit, the door may be opened. Press the START/PAUSE
button again to continue the cycle.
CHANGING A RUNNING WASH CYCLEOPENING
To change a wash cycle while it is in progress, pause the washer-dryer using the START/PAUSE
button (the relative indicator light will flash amber),
then select the desired cycle and press the START/PAUSE
button again.
To cancel a cycle that has already begun, press and hold the ON/OFF button. The cycle will be stopped and the machine will switch off.
AT THE END OF THE WASH CYCLE
This will be indicated by the word “END” on the display; when the
symbol switches off, the door may be opened. Open the door and switch off the machine. If you do not press ON/OFF
button, the washing machine will switch off automatically after about a 10 minutes. Close the water tap and unload the washing machine. Leave the door ajar to allow the drum to dry.
OPTIONS
- If the selected option is not compatible with the set wash cycle, the indicator light will flash and the option will not be activated
Delay
To set a delayed start for the selected cycle, press the corresponding button repeatedly until the required delay period has been reached. To remove the delayed start setting, press the button until the text “OFF” appears on the display.
Temperature
Each wash cycle has a pre-defined temperature. To modify the temperature, press the button
. The value will appear on the display.
Spin
Each wash cycle has a pre-defined spin speed. To modify the spin speed, press the button
. The value will appear on the display.
Drying
The first time the button
is pressed, the machine will automatically select the maximum drying cycle which is compatible with the selected wash cycle. Subsequent presses will decrease the drying level and then the drying time, until the cycle is excluded completely (“OFF”).
Drying may be set as follows:
A – Based on the desired laundry dryness level:
Iron “A1”: suitable for clothes which will need ironing afterwards. the remaining dampness softens creases, making them easier to remove. Hanger “A2”: ideal for clothes which do not need to be dried fully. Cupboard “A3”: suitable for laundry which can be put back in a cupboard without being ironed.
B – Based on a set time period: between 30 and 210 minutes.
If your laundry load to be washed and dried is much greater than the maximum stated load, perform the wash cycle, and when the cycle is complete, divide the garments into groups and put some of them back in the drum. At this point, follow the instructions provided for a “Dry Only” cycle. Repeat this procedure for the remainder of the load. A cooling-down period is always added to the end of each drying cycle.
Dry Only
Press button
to perform the drying-only cycle. After selecting the desired cycle (compatible with the type of garments), press button
to exclude the washing phase and start the drying phase at the maximum level for the selected cycle. The drying level or time may be set and changed by pressing the drying button .
Cleaning action
Option
makes it possible to optimise washing based on the level of soil in the fabrics and on desired wash cycle intensity.
For heavily-soiled garments press button
until the “Intensive” level is reached. This level ensures a high-performance wash due to a larger quantity of water used in the initial phase of the cycle and due to increased drum rotation. It is useful when removing the most stubborn stains.
For lightly-soiled garments or a more delicate treatment of the fabrics, press button
until the “Delicate” level is reached. The cycle will reduce drum rotation to ensure washing results that are perfect for delicate garments.
KEY LOCK
To activate the control panel lock, press and hold the
button for approximately 2 seconds. When the
symbol is lit, the control panel is locked (except for the ON/OFF button)
. This will prevent accidental modifications to wash cycles, especially when children are at home. To deactivate the control panel lock, press and hold the button
for approximately 2 seconds.
TIPS AND SUGGESTIONS
Divide the laundry according to:
Type of fabric (cotton, mixed fibres, synthetics, wool, garments to be hand-washed). Colour (separate coloured garments from whites, wash new coloured garments separately). Delicates (small garments – such as nylon stockings – and items with hooks – such as bras: insert them in a fabric bag).
Empty the pockets:
Objects such as coins or lighters can damage the washer-dryer and the drum. Check all buttons.
Follow the dosage recommendation / additives
It optimizes the cleaning result, it avoids irritating residues of surplus detergent in your laundry and it saves money by avoiding waste of surplus detergent.
Use low temperature and longer duration
The most efficient programmes in terms of energy consumption are generally those that perform at lower temperatures and longer duration.
Observe the load sizes
Load your washing machine up to the capacity indicated in the
“Wash Cycle Table” table to save water and energy.
Noise and remaining moisture content
They are influenced by the spinning speed: the higher the spinning speed in the spinning phase, the higher the noise and the lower the remaining moisture content.
CARE AND MAINTENANCE
Before performing cleaning and maintenance, switch the washer-dryer off and disconnect it from the mains power. Do not use flammable liquids to clean the washer-dryer. Clean and maintain your washer-dryer periodically (at least 4 times per year).
- Cutting off the water and electricity supplies
Close the water tap after every wash. This will limit wear on the hydraulic system inside the washer-dryer and help to prevent leaks.
Unplug the washer-dryer when cleaning it and during all maintenance work. - Cleaning the washer-dryer
The outer parts and rubber components of the appliance can be cleaned using a soft cloth soaked in lukewarm soapy water. Do not use solvents or abrasives.
The washer-dryer has a “Auto-Clean” cycle for its internal parts; it must be run without any load in the drum.
To optimise this cycle, it is possible to use either detergent (10% of the quantity specified for lightly soiled garments) or special additives to clean the washer-dryer. We recommend running a cleaning cycle every 40 wash cycles.
To start the programme press
button for 5 seconds.
The cycle will start automatically and will run for about 70 minutes. To stop the cycle, press the START/PAUSE
button. - Cleaning the detergent dispenser drawer
Remove the dispenser drawer by lifting and pulling it outwards. Wash it under running water; this procedure should be effected regularly. - Caring for the door and drum
Always leave the porthole door ajar in order to prevent unpleasant odours from forming. - Cleaning the pump
The washer-dryer is fitted with a self-cleaning pump that does not require any maintenance. Small items (such as coins or buttons) may sometimes fall into the protective pre-chamber situated at the base of the pump.
Make sure that t~he wash cycle has ended and unplug the appliance. To access the pre-chamber:
- remove the covering panel on the front side of the machine by inserting a screwdriver in the centre and sides of the panel and using it as a lever;
- loosen the drainage pump cover by turning it anti-clockwise: it is normal for some water to leak out;
- clean the inside thoroughly;
- screw the cover back on;
- put the panel back in place, making sure the hooks slot in place before pushing the panel onto the appliance.
Checking the water inlet hose
Check the water inlet hose at least once a year. If it is cracked or broken, it must be replaced: during wash cycles, the high pressure of the water could suddenly split the hose open.
Never use hoses that have already been used.
ACCESSORIES
Contact our Technical Assistance Service to check whether the following accessories are available for this washer-dryer model.
Stacking kit
With this accessory you can secure the tumble dryer to the upper part of your washer-dryer to save space and facilitate loading and unloading of the tumble dryer.
TRANSPORT AND HANDLING
Do not lift the washer-dryer by gripping it from the upper section.
Unplug the appliance and close the water tap. Check that the door and detergent dispenser drawer are tightly closed. Detach the filling hose from the water tap then detach the drain hose. Empty all the water remaining in the hoses and secure the latter so that they do not get damaged during transport. Apply the transport bolts back on. Repeat, in reverse order, the transport bolt removal procedure described in the
“Installation instructions”.
DEMO MODE: to deactivate this function, switch the washer-dryer OFF. Than press and hold “Start/Pause”
button, within 5 seconds press also “ON/OFF”
button and hold both buttons for 2 seconds.
TROUBLESHOOTING
Your washer-dryer could occasionally fail to work. Before contacting the Technical Assistance Service, make sure that the problem cannot be easily solved using the following list.
| Anomalies | Possible causes / Solution |
| The washer-dryer does not start. | The appliance is not plugged into the socket fully, or not enough to make contact. |
| There is no power in the house. | |
|
The wash cycle does not start. | The washer-dryer door is not closed properly. |
| The ON/OFF | |
| The START/PAUSE | |
| The water tap has not been opened. | |
| A delay has been set for the start time. | |
|
The washer-dryer does not fill with water (“H2O” appears on the display). | The water inlet hose is not connected to the tap. |
| The hose is bent. | |
| The water tap has not been opened. | |
| There is no water supply in the house. | |
| The pressure is too low. | |
| The START/PAUSE | |
|
The washer-dryer continuously loads and unloads water. | The drain hose is not fitted between 65 and 100 cm from the floor. |
| The free end of the hose is immersed in water. | |
| The wall drainage system is not fitted with a breather pipe.
If the problem persists even after these checks, turn off the water tap, switch the appliance off and contact the Technical Assistance Service. If the home is on one of the upper floors of a building, there may be problems relating to back-siphonage, causing the washer-dryer to fill with water and drain continuously. Special anti-siphon valves are available in shops and help to prevent this inconvenience. | |
| The washer-dryer does not drain or spin. | The cycle does not include drainage: with certain cycles it must be started manually. |
| The drain hose is bent. | |
| The drainage duct is clogged. | |
| The washer-dryer vibrates a lot during the spin cycle. | The drum was not unlocked correctly during installation. |
| The washer-dryer is not level. | |
| The washer-dryer is tucked between furniture cabinets and the wall. | |
| The washer-dryer leaks. | The water inlet hose is not screwed on properly. |
| The detergent dispenser drawer is obstructed. | |
| The drain hose is not properly attached. | |
| The START/PAUSE indicator light flash rapidly and an error code appears on the display (e.g.: F-01, F-..). | Switch off the machine and unplug it, wait for approximately 1 minute and then switch it back on again. If the problem persists, contact the Technical Assistance Service. |
| There is too much foam. | The detergent is not suitable for machine washing (it should display the text “for washer-dryers” or “hand and machine wash”, or the like). |
| Too much detergent was used. | |
|
The washer-dryer does not dry. | The appliance is not plugged into the socket, or not enough to make contact. |
| There has been a power failure. | |
| The appliance door is not shut properly. | |
| A Delay Timer has been set. | |
| DRYING is in the OFF position. |
You can download the Safety Instructions, Product Fiche and Energy data by:
- Visiting our website – http://docs.hotpoint.eu
- Using QR Code

- Alternatively, contact our After-sales Service (See phone number in the warranty booklet). When contacting our After-sales Service, please state the codes provided on your product’s identification plate.
- For User’s Repair & Maintenance Information visit www.hotpoint.eu
- The model information can be retrieved using the QR-Code reported in the energy label. The label also includes the model identifier that can be used to consult the portal of the registry at https://eprel.ec.europa.eu























