Hotpoint NDB 8635 GK UK Washer Dryer

THANK YOU FOR PURCHASING A HOTPOINT PRODUCT.
To receive more comprehensive assistance, register the appliance on www.hotpoint.eu/register
Before using the appliance carefully read the Health and Safety guide.
Before using the machine, it is imperative that the transport bolts are removed. For more detailed instructions on how to remove them, see the Installation Guide.
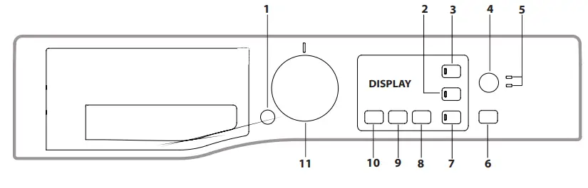
CONTROL PANEL

- ON/OFF button
- DRY ONLY button and indicator light
- KEY LOCK button and indicator light
- EXTRA TOUCH button
- EXTRA TOUCH indicator lights
- START/PAUSE button and indicator light
- DELAY button and indicator light
- DRYING LEVEL button
- SPIN button
- TEMPERATURE button
- WASH CYCLE SELECTOR KNOB
WASH CYCLE TABLE

The cycle duration indicated on the display or instruction manual is an estimate based on standard conditions. The actual duration may vary in relation to several factors, such as the temperature and pressure of the incoming water, ambient temperature, amount of detergent,load quantity and type, load balancing and any additional options selected. he values given for programmes other than the Eco 40-60 programme are indicative only.
- Eco 40-60 (Wash) – Test wash cycle in compliance with EU Ecodesign regulation 2019/2014. The most efficient programme in terms of energy and water consumption or washing normally soiled cotton laundry.
Note: spin speed values shown on the display can slightly differs from the values stated in the table.
For all testing institutes: - Long cotton cycle: set programme COTTON at temperature 40°C.
- Long synthetics cycle: set cycle SYNTHETICS at a temperature of 40°C.
* By selecting thecycle
and excluding the spin cycle, the washer-dryer will drain only.
** The duration of the wash cycles can be checked on the display.
*** After programme end and spinning with maximum selectable spin speed, in default\ programme setting.
**** The display will show the suggested spin speed as default value. - Eco 40-60 (Wash & Dry)- Test wash and drying cycle in compliance with EU Ecodesign regulation 2019/2014. To access “wash and dry” cycle select “Eco 40-60” wash rogramme and set “Drying Level” to “A3”. The most efficient programme in terms of energy and water consumption for washing and drying normally soiled cotton aundry. At the end of cycle the garments can be immediately stored to the cupboard.
PRODUCT DESCRIPTION

- Top
- Detergent dispenser drawer
- Control panel
- Handle
- Porthole door
- Drain pump (behind the plinth)
- Plinth (removable)
- Adjustable feet (2)
DETERGENT DISPENSER DRAWER

Compartment *:
Do not insert detergent in this compartment.
Compartment 1: Washing detergent (powder or liquid)
If liquid detergent is used, the removable plastic partition A (supplied) should be used for proper dosage.
If powder detergent is used, place the partition into slot B.
Compartment 2: Additives (fabric softeners, etc.)
The fabric softener must not exceed the “MAX” level.
! Use powder detergent for white cotton garments, for pre-washing, and for washing at temperatures over 60°C.
! Follow the instructions given on the detergent packaging.
WASH CYCLES

Follow the instructions on the symbols of the garment’s wash care label. The value indicated in the symbol is the maximum recommended temperature for washing the garment.
Wash & Dry Mixed
Use this cycle to wash and dry mixed garments (cotton and synthetics) in less than 4 hours. This cycle may be used to wash and dry loads of up to halfof the machine drying capacity; we recommend the use of liquid detergen.
Wash & Dry XL Bed & Bath
This cycle is suitable for washing and drying without interruption cotton bulky items, like bed linens and towels, with the possibility to fully load the machine; we recommend sing liquid detergent.
Cotton
Suitable for washing towels, underwear, table cloths, etc. made of resistant linen and cotton that are moderately to heavily soiled.
Synthetics
Specific for synthetic items (e.g. polyester, polyacrylic, viscose, etc.). If the dirt is difficult to remove, the temperature can be increased up to 60° and powder detergent can be sed too.
Wool – Woolmark Apparel Care – Green:

The wool wash cycle of this machine has been approved by The Woolmark Company for the washing of wool garments labelled as “hand wash” provided that the products re ashed according to the instructions on the garment label and those issued by the manufacturer of this washer-dryer. (M1318)
Delicates
For washing very delicate garments. For best results, turn the garments inside out and use liquid detergent. If a time-based drying option is added, a particularly delicate rying ycle is performed at the end of the wash cycle, thanks to light handling and appropriate temperature control of the water jet. The recommended durations are:
1 kg of synthetic garments –> 150 min
1 kg of synthetic and cotton garments –> 180 min
1 kg of cotton garments –> 180 min
The degree of dryness depends on the load and fabric composition. Anti Allergy
Suitable for removing major allergens such as pollen, mites and cat or dog hair.
Anti Stain
This program ensures stain removal at low temperatures, preserving fabrics and colours. It is suitable to heavily-soiled garments with resistant colours. When running the rogram, do not mix garments of different colours. We recommend the use of powder detergent.
Steam Refresh
The garments will be damp once the cycle is completed, so we recommend hanging them to dry (2 kg, roughly 3 items). This programme refreshes garments by removing bad odours and relaxing the fibres and it is meant for dry, unsoiled items. Insert dry items only (that are not dirty) and select programme “Steam Refresh”. The “Steam efresh” programme make sironing easier.
Do not add softeners or detergents.
Not recommended for wool or silk garment
Spin & Drain
Spins the load then empties the water. For resilient garments. If you exclude the spin cycle, the machine will drain only.
Rinse & Spin
Rinses and then spins. For resilient garments.
Wash 20°C
For washing lightly soiled cotton garments, at a temperature of 20 °C.
Eco 40-60
For washing normally soiled cotton garments declared to be washable at 40 °C or 60 °C, together in the same cycle. This is the standard cotton programme and the most efficient in terms of water and energy consumption.
The cycle runs only at 40°C as per regulation.
Intense 60-90°C
For heavily soiled whites and resistant colours.
Rapid Wash
For washing lightly soiled garments in a short time. Not suitable for wool, silk and garments to be washed by hand.
Wash & Dry XS Rapid
This cycle is to wash and dry without interruption small garments or -shirts in different fabrics and colours up to 1kg in 45’. To achieve optimum results, use liquid detergent.
DISPLAY
The display is useful when programming the washer-dryer and provides plenty of information.
Section A displays the duration of the various available wash cycles and, once the cycle starts, the time remaining to the latter’s end (the display will show the maximum uration of the selected cycle which may decrease after a few minutes, as the actual duration varies in relation to the laundry load and the chosen settings); if the Delay option as set, the display will show the time remaining to the start of the selected wash cycle. Moreover, pressing the relative button allows for visualising the maximum values for he temperature, spin speed or type of drying relative to the selected programme or the most recently selected ones, if compatible with the selected programme.
The “washing phases” relative to the selected cycle and the “washing phase” of the running cycle appear in section B:
Main Wash
Rinse
Spin/Drain
Drying
Section C displays – starting from the left – the icons corresponding to “temperature”, “spin” and “drying”.
The “temperature” bars
indicate the maximum temperature level that can be selected for the chosen cycle.
The “spin” bars
indicate the maximum spin speed that can be selected for the chosen cycle.
The
symbol lights up while the drying settings are being adjusted.
LOCKED DOOR INDICATOR
When lit, the symbol indicates that the door is locked. To prevent any damage, wait until the symbol turns off before attempting to open the door. To open the door while a ycle is in progress, press the START/PAUSE
button ; if the
symbol is off, the door can be opened.
FIRST-TIME USE
Once the appliance has been installed, and before it is used for the first time, run a wash cycle with detergent and no laundry, by setting the “Auto-Clean” cycle.
DAILY USE
Prepare the laundry by following the suggestions appearing under the “TIPS AND SUGGESTIONS” section.
- Press the ON/OFF button
; the indicator light relative to START/PAUSE
will flash slowly. - Open the door. Load the laundry while making sure not to exceed the maximum load quantity indicated in the wash cycle table.
- Pull out the detergent dispenser drawer and pour the detergent into the relevant compartments, as described in the “DETERGENT DISPENSER DRAWER” section.
- Close the door.
- The machine automatically displays the maximum temperature and spin speed values for the selected cycle, or the most recently used settings if they are compatible with the selected cycle. Pressing the button gradually reduces the temperature down to the cold wash “OFF” setting. Pressing the °C button gradually reduces the spin speed until it is completely excluded (“OFF” setting). Pressing the
buttons further restores the maximum allowed values for the selected cycle. - Select the desired wash cycle.
- Select the desired options.
STARTING CYCLE
Press the START/PAUSE
button.
The machine will lock the door (
symbol on) and the drum will start to rotate; the door will be unlocked (
symbol off ) and then locked again (
symbol on) as preparation phase of each washing cycle. The “Clicking” noise is part of the door locking mechanism. Water will enter the drum and start the washing phase once the door is locked.
PAUSING A CYCLE
To pause the wash cycle, press the START/PAUSE
button again; the indicator light will flash. To start the wash cycle from the point at which it was interrupted, press the START/PAUSE
button again.
OPENING THE DOOR, IF NECESSARY
Once a cycle starts, the
symbol turns on to signal that the door cannot be opened. While a wash cycle is running, the door remains locked. To open the door while a cycle is under way, for example, to add or remove garments, press the START/PAUSE
button to pause the cycle; the indicator light will flash. If the
symbol is not lit, the door may be opened. Press the START/PAUSE
button again to continue the cycle.
CHANGING A RUNNING WASH CYCLE
To change a wash cycle while it is in progress, pause the washer-dryer using the START/PAUSE
button (the relative indicator light will flash), then select the desired cycle and press the START/PAUSE
button again.
To cancel a cycle that has already begun, press and hold the ON/OFF
button. The cycle will be stopped and the machine will switch off.
AT THE END OF THE WASH CYCLE
This will be indicated by the word “END” on the display; when the
symbol switches off, the door may be opened. Open the door and switch off the machine. If you do not press ON/OFF
button, the washing machine will switch off automatically after about a 10 minutes. Close the water tap and unload the washing machine. Leave the door ajar to allow the drum to dry.
OPTIONS
- If the selected option is not compatible with the set wash cycle, the indicator light will flash and the option will not be activated.
Delay
To set a delayed start for the selected cycle, press the corresponding button repeatedly until the required delay period has been reached. To remove the delayed start setting, press the button until the text “OFF” appears on the display.
ºC Temperature
Each wash cycle has a pre-defined temperature. To modify the temperature, press the ºC button. The value will appear on the display.
Spin
Each wash cycle has a pre-defined spin speed. To modify the spin speed, press the
button. The value will appear on the display.
Extra Touch
After pushing the button for the 1st time, option “Steam Hygiene”
enhances washing performance by generating steam during the wash cycle to remove up to 99,9% of viruses and bacteria.
! The steam generated during the operation of the washing machine may cause the porthole door to become hazy.
After pushing the button for the 2nd time, option “Rapid”
is selected and the cycle duration will be reduced.
Drying Level
The “Drying Level”
button adds a drying phase that will start automatically at the end of the washing phase, without interruption. The machine will select the maximum drying level which is compatible with the chosen wash cycle. It is possible to change the drying setting by pressing the button and choosing the desired laundry dryness level or drying time:
- Cupboard (A3): suitable for laundry which can be put back in a cupboard without being ironed.
- Hanger (A2): ideal for clothes which do not need to be dried fully.
- Iron (A1): suitable for clothes which will need ironing afterwards; the remaining dampness softens creases, making them easier to remove.
- Drying time: from 210 to 30 minutes.
! A cooling down period is always added to the end of each drying cycle.
If your laundry load to be washed and dried is bigger than the maximum stated drying capacity of the machine, perform only the washing.
Then unload some garments from the drum, until the maximum drying capacity is reached. At this point, follow the instructions provided for a “Dry Only” cycle.
Dry Only
The “Dry Only”
button allows you to start a drying-only cycle.
Select the wash cycle compatible with the type of garments you wish to dry, then press the button
to skip the washing phase and perform only the drying.
The drying level is automatically set at the maximum for the selected cycle. It is possible to change it by pressing the drying button
. Press start. Compatible cycles listed in the “wash cycle table”
A cooling down period is always added to the end of each drying cycle.
KEY LOCK
To activate the control panel lock, press and hold the button
for approximately 2 seconds. When the
symbol is lit, the control panel is locked (except for the ON/OFF
button). This will prevent accidental modifications to wash cycles, especially when children are at home. To deactivate the control panel lock, press and hold the
button for approximately 2 seconds.
TIPS AND SUGGESTIONS
Divide the laundry according to:
Type of fabric (cotton, mixed fibres, synthetics, wool, garments to be hand-washed). Colour (separate coloured garments from whites, wash new coloured garments separately). Delicates (small garments – such as nylon stockings – and items with hooks – such as bras: insert them in a fabric bag).
Empty the pockets:
Objects such as coins or lighters can damage the washer-dryer and the drum. Check all pockets.
Follow the dosage recommendation / additives
To optimise cleaning results, and avoid skin irritation from excess detergent residue. Also saving money, by avoiding wasting detergent.
Use low temperature and longer duration
The most efficient programmes in terms of energy consumption are generally those that perform at lower temperatures and longer duration.
Observe the load sizes
Load your washing machine up to the capacity indicated in the “Wash Cycle Table” table to save water and energy.
Noise and remaining moisture content
They are influenced by the spinning speed: the higher the spinning speed in the spinning phase, the higher the noise and the lower the remaining moisture content.
CARE AND MAINTENANCE
Before performing cleaning and maintenance, switch the washer-dryer off and disconnect it from the mains power. Do not use flammable liquids to clean the washer-dryer. Clean and maintain your washer-dryer periodically (at least 4 times per year).
Cutting off the water and electricity supplies
Close the water tap after every wash. This will limit wear on the hydraulic system inside the washer-dryer and help to prevent leaks.
Unplug the washer-dryer when cleaning it and during all maintenance work.
Cleaning the washer-dryer
The outer parts and rubber components of the appliance can be cleaned using a soft cloth soaked in lukewarm soapy water. Do not use solvents or abrasives.
The washer-dryer has a “Auto-Clean” cycle for its internal parts; it must be run without any load in the drum.
To optimise this cycle, it is possible to use either detergent (10% of the quantity specified for lightly soiled garments) or special additives to clean the washer-dryer. We recommend running a cleaning cycle every 40 wash cycles.
To start the programme press button
for 5 seconds.
The cycle will start automatically and will run for about 70 minutes. To stop the cycle, press the START/PAUSE
button.
Cleaning the detergent dispenser drawer
Remove the dispenser drawer by lifting and pulling it outwards. Wash it under running water; this procedure should be effected regularly.
Caring for the door and drum
Always leave the porthole door ajar in order to prevent unpleasant odours from forming.
Cleaning the pump
The washer-dryer is fitted with a self-cleaning pump that does not require any maintenance. Small items (such as coins or buttons) may sometimes fall into the protective pre-chamber situated at the base of the pump.
Make sure that the wash cycle has ended and unplug the appliance.
To access the pre-chamber:
- remove the covering panel on the front side of the machine by inserting a screwdriver in the centre and sides of the panel and using it as a lever;
- loosen the drainage pump cover by turning it anti-clockwise: it is normal for some water to leak out;
- clean the inside thoroughly;
- screw the cover back on;
- put the panel back in place, making sure the hooks slot in place before pushing the panel onto the appliance.
Checking the water inlet hose
Check the water inlet hose at least once a year. If it is cracked or broken, it must be replaced: during wash cycles, the high pressure of the water could suddenly split the hose open.
Never use hoses that have already been used.
ACCESSORIES
Contact our Technical Assistance Service to check whether the following accessories are available for this washer-dryer model.
Stacking kit
With this accessory you can secure the tumble dryer to the upper part of your washer-dryer to save space and facilitate loading and unloading of the tumble dryer.
TRANSPORT AND HANDLING
Do not lift the washer-dryer by gripping it from the upper section. Unplug the appliance and close the water tap. Check that the door and detergent dispenser drawer are tightly closed. Detach the filling hose from the water tap then detach the drain hose. Empty all the water remaining in the hoses and secure the latter so that they do not get damaged during transport. Apply the transport bolts back on. Repeat, in reverse order, the transport bolt removal procedure described in the “Installation instructions”.
DEMO MODE: to deactivate this function, switch the washer-dryer OFF. Than press and hold “START/PAUSE”
button, within 5 seconds press also “ON/OFF”
button and hold both buttons for 2 seconds.
TROUBLESHOOTING
Your washer-dryer could occasionally fail to work. Before contacting the Technical Assistance Service, make sure that the problem cannot be easily solved using the following list.
| Anomalies | Possible causes / Solution |
| The washer-dryer does not start. | The appliance is not plugged into the socket fully, or not enough to make contact. |
| There is no power in the house. | |
| The wash cycle does not start. | The washer-dryer door is not closed properly. |
| The ON/OFF | |
| The START/PAUSE | |
| The water tap has not been opened. | |
| A delay has been set for the start time. | |
| The washer-dryer does not fill with water (“H2O” appears on the display). | The water inlet hose is not connected to the tap. |
| The hose is bent. | |
| The water tap has not been opened. | |
| There is no water supply in the house. | |
| The pressure is too low. | |
| The START/PAUSE | |
| The washer-dryer continuously loads and unloads water. | The drain hose is not fitted between 65 and 100 cm from the floor. |
| The free end of the hose is immersed in water. | |
| The wall drainage system is not fitted with a breather pipe. If the problem persists even after these checks, turn off the water tap, switch the appliance off and contact the Technical Assistance Service. If the home is on one of the upper floors of a building, there may be problems relating to back-siphonage, causing the washer-dryer to fill with water and drain continuously. Special anti-siphon valves are available in shops and help to prevent this inconvenience. | |
| The washer-dryer does not drain or spin. | The cycle does not include drainage: with certain cycles it must be started manually. |
| The drain hose is bent. | |
| The drainage duct is clogged. | |
| The washer-dryer vibrates a lot during the spin cycle. | The drum was not unlocked correctly during installation. |
| The washer-dryer is not level. | |
| The washer-dryer is tucked between furniture cabinets and the wall. | |
| The washer-dryer leaks. | The water inlet hose is not screwed on properly. |
| The detergent dispenser drawer is obstructed. | |
| The drain hose is not properly attached. | |
| The START/PAUSE indicator light flash rapidly and an error code appears on the display (e.g.: F-01, F-..). | Switch off the machine and unplug it, wait for approximately 1 minute and then switch it back on again. If the problem persists, contact the Technical Assistance Service. |
| There is too much foam. | The detergent is not suitable for machine washing (it should display the text “for washer-dryers” or “hand and machine wash”, or the like). |
| Too much detergent was used. | |
| The washer-dryer does not dry. | The appliance is not plugged into the socket, or not enough to make contact. |
| There has been a power failure. | |
| The appliance door is not shut properly. | |
| A Delay Timer has been set. | |
| DRYING LEVEL is in the OFF position. |

Policies, standard documentation, ordering of spare parts and additional product information can be found by:
Visiting our website http://docs.hotpoint.eu and parts-selfservice.whirlpool.com
- Using the QR code.
- Alternatively, contact our After-sales Service (See phone number in the warranty booklet). When contacting our
After-sales Service, please state the codes provided on your product’s identification plate. - For User’s Repair & Maintenance Information visit www.hotpoint.com
The model information can be retrieved using the QR-Code reported in the energy label. The label also includes the model identifier that can be used to consult the portal of the registry at https://eprel.ec.europa.eu



















