
Technical Description and
Operating Instructions

Speaker stand
AC 7001 SP
General notes and information
Proper use
Only use the speaker stand for mounting suitable speakers. You can find a corresponding list on our website www.teufel.de.Any other use will be deemed as not in accordance
with the instructions and may lead to damage of property or even persons.
The manufacturer accepts no liability for damage caused by use not in accordance with the instructions. The unit is intended for private use.
Before operating the product for the fi rst time, please read the safety notes and operating instructions carefully. This is the only way to use all func-tions safely and reliably. Keep the operating instructions safe and pass them on to anyone who may own the unit after you.
Notice
The information in this document may change without prior notice and in no way constitutes any liability on the part of Lautsprecher Teufel GmbH. No part of these instructions may be reproduced in any form or be broadcasted in any way electronically, mechanically, by photocopy or recording without the written permission of Lautsprecher Teufel GmbH.
Original packaging
If you wish to exercise your right of return, we ask that you be absolutely sure to hold onto the packaging. We can only accept the return of a unit WITH THE ORIGINAL PACKAGING. Empty boxes are not available!
Complaints
In case of a complaint we implicitly need your invoice number and the serial or lot number for processing. The serial number is located on the bottom side of the device.
Many thanks for your support!
Contact
Please contact our customer service with any questions, suggestions or criticism:
Lautsprecher Teufel GmbH BIKINI Berlin Budapester Str. 44 10787 Berlin (Germany)
Phone 00800 – 200 300 40 (toll-free)
Fax: +49 (0)30 / 300 930 930
Service: www.teufelaudio.com/service
Contact: www.teufelaudio.com/contact
Safety notes
Danger
Danger of injury/damage!
Incorrect location may result in damage.
- Place the speakers in such a way that they cannot be knocked over unseen and make sure that the cables do not pose a trip hazard.
- Do not place the speakers near or directly above sources of heat (e.g. heaters, ovens, other heat generating equipment such as amplifi ers etc.).
- Avoid direct sunlight at the setup location.
Danger
Danger to children!
Children can become trapped in the packing film when playing and suffocate.
- Do not allow children to play with the unit or the packing film. Danger of suffocation.
- Ensure that children do not remove small parts from the unit or take them off of the unit (e.g. control knobs or plug adapters). They could swallow the parts and choke.
Warning of damage to property!
The isolation pads can produce discolouration on sensitive surfaces.
- On parquet, varnished wood and similar surfaces, you should stick felt gliders to the rubber feet of the speaker stand or put blankets or small carpets under them. This will prevent discolouration of the fl oor over the long term.
Product contents
① 1 x base plate
② 1 x pipe
③ 1 x speaker bracket
④ 1 x counter-sunk screw M6 x 35
⑤ 2 x counter-sunk screw M4 x 12
⑥ 4 x cylinder head screw M6 x 30
⑦ 4 x washer
⑧ 1 x hexagon wrench
Check that all items have been delivered and that nothing is damaged.
If anything is missing or damaged, please contact our service department (see page 1). Do not use a product if it is damaged.

Note:
You can find a current list with all the speakers that are suitable for use with this speaker stand on our website at www.teufel.de
Assembly

- Screw the pipe ② on the base plate ① using four screws ⑥ and four washers ⑦. The big hole on the upper end is the cable feedthrough which should point to the back.

- Run the speaker cable through the upper hole and through the pipe until it extends somewhat out of the opening in the base plate. Then pull it through until there is suffi cient length left for connecting the speaker at the top.

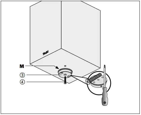
- Screw the speaker bracket ③ on the speaker from below using the screw ④. The M mark must point to the front in the process.

- Place the speaker with the speaker bracket on the pipe and screw the bracket on the pipe through the bore holes using two screws ⑤.
- Connect the speaker cables as described in the operating instructions for the speakers.
Technical data
| Max. carrying capacity: | 15 kg |
| Height: | 685 mm |
| Base plate dimensions: | 250 x 370 mm |
You can obtain further technical data on our website.

Please contact our customer service department with any questions, suggestions, or complaints:
| Lautsprecher Teufel GmbH BIKINI Berlin Budapester Str. 44 10787 Berlin (Germany) www.teufelaudio.com | Phone.: 00800 200 300 40 (toll-free) Fax: +49 (0)30 – 300 930 930 Service: www.teufelaudio.com/service Contact: www.teufelaudio.com/contact | No responsibility is assumed for the correctness of this information. Technical changes, typographical errors and other errors reserved. |
No responsibility is assumed for the correctness of this information.
Technical changes, typographical errors and other errors reserved.
Instruction No. 199912_20220111_EN / HC-HAM






















