Technical Description and Operating Instructions
Speaker wall mount
AC 5500 SM
General notes and information
Proper use
Only use the wall mount as described in these operating instructions. Any other use will be deemed as not in accordance with the instructions and may lead to damage of property or even persons. The manufacturer accepts no liability for damage caused by use not in accordance with the instructions. The product is intended for private use.
Before mounting the wall mount, please read the safety notes and operating instructions carefully. This is the only way to use the product safely and reli- ably. Keep the operating instructions safe and pass them on to anyone who may own the unit after you.
Notice
The information in this document may change without prior notice and in no way constitutes any liability on the part of Lautsprecher Teufel GmbH. No part of these instructions may be reproduced in any form or be broadcasted in any way electronically, mechanically, by photocopy or recording without the written permission of Lautsprecher Teufel GmbH.
Original packaging
If you wish to exercise your right of return, we ask that you be absolutely sure to hold onto the packaging. We can only accept the return of the wall mount WITH THE ORIGINAL PACKAGING. Empty boxes are not available!
Complaints
In case of a complaint we implicitly need your invoice number and the serial or lot number for processing. The serial number can be found on the back side of the device. Many thanks for your support!
Contact
Please contact our customer service with any questions, suggestions or criticism: Lautsprecher Teufel GmbH BIKINI Berlin Budapester Str. 44 10787 Berlin (Germany) Phone 00800 – 200 300 40 (toll-free)
Fax: +49 (0)30 / 300 930 930
Service: www.teufelaudio.com/service
Contact: www.teufelaudio.com/contact
Safety notes
Caution icons
You will fi nd the following caution icons in these instructions:
Danger = High risk ! Failure to observe the warning may result in severe personal injury or death.
Attention = Moderate risk ! Failure to observe the warning may result in p roperty damage.
= Minor risk! Points which should be observed when handling the unit.
Danger Danger to children!
Children can become trapped in the packing film when playing and suffocate.
- Do not allow children to play with the wall mount and the packaging fi lm. Danger of suffocation.
- Make sure that children do not remove or pull off small parts from the packaging (e.g. screws). They could swallow the parts and choke.
Danger Danger of injury/damage!
An inadequate installation location may result in damage.
- Mount the speakers such that they can not be hit accidentally and that the cables do not pose a tripping hazard. The speakers could break off, fall down and cause personal injury or be damaged.
- Do not mount the wall mounts near or directly above sources of heat (e. g. heaters, ovens, other heat generating equipment such as amplifi ers etc.).
- Avoid direct sunlight at the installation location.
- Verify the carrying capacity of the wall. Plasterboard walls or drywalls (Rigips etc.) may give way when exposed to excessive loads.
- Furthermore, please keep in mind that the vibrations which are generated by the speaker can be transferred to the wall by the wall mount. In case of wooden walls this may cause distortions.
- Also note the dimensions of the speaker.
- Make sure that the installation is performed in a workmanlike manner.
- Only use mounting material which is suitable for the composition of your walls. If you are unsure regarding the selection, consult an expert.
- Before drilling the holes, make sure that no pipes are located within the drilling area using a metal detector.
Product contents
① 1 x retaining plate (long)
② 1 x retaining plate (medium)
③ 1 x retaining plate (short)
④ 1 x base plate
⑤ 1 x cover (put on base plate ④)
⑥ 1 x bracket
⑦ 1 x screw (long)
⑧ 4 x half round head wood screw
⑨ 4 x masonry plug
⑩ 3 x nut
⑪ 4 x half round head machine screw
⑫ 2 x retaining bolt
⑬ 2 x washer
⑭ 4 x hex nut
⑮ 1 x Allen key
Danger Mounting material
The enclosed mounting material (4 half round head wood screws ⑧ and 4 masonry plugs ⑨) is exclusively suitable for normal stone and concrete walls.
Lautsprecher Teufel GmbH can in no case assume any guarantee or warranty for improper (self-)assembly or for the use of assembly materials not included in the scope of
delivery by the purchaser. Make sure that the installation is performed in a workmanlike manner.
If your walls are made of a material other than stone and concrete, make sure to use mounting materials suitable for your specifi c walls. Always consult an expert. Adhere to the above-mentioned safety notes.
Assembly
- Remove the cover ⑤ from the base plate ④.
- Hold the base plate ④ against the wall at the desired location and mark the four drill holes horizontally. Important: The base plate must be rotated by 90° for mounting a center speaker in landscape format.
- Drill holes with a diameter of 6 mm in the wall at the marked positions.
- Insert four masonry plugs ⑨ in the drill holes.
- Run the speaker cable through the holes in the base plate ④ from below.

- Screw the base plate ④ on the wall using four half round head wood screws ⑧.
- The cover ⑤ is marked with “TOP” and “DOWN” inside. Run the upper end of the speaker cable through the upper hole in the cover ⑤.
- Put the cover ⑤ on the base plate ④. Do not pinch the speaker cable in the process!
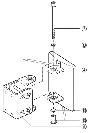
- Place the bracket ⑥ on the base plate ⑤ and insert the screw ⑦ with a washer ⑬ from above.

- Tighten the screw ⑦ with a washer ⑬ and a nut ⑩.
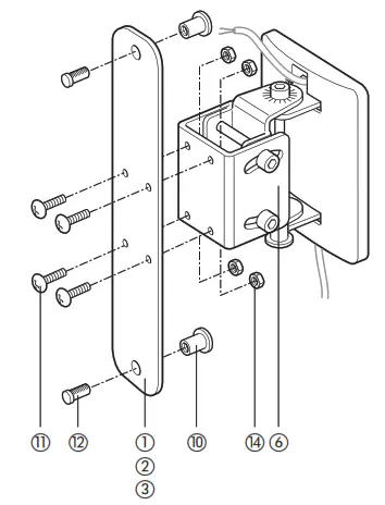
- From the three retaining plates ① ② ③, choose the one which fits the hanger of your speaker:
① for a hole spacing of 30, 31 or 32 cm
② for a hole spacing of 27 cm
③ for a hole spacing of 20.5 cm
- Screw tighten the appropriate retaining plate to the bracket ⑥ using four screws ⑪ and four nuts ⑭.

- Loosely screw the two retaining bolts ⑫ on the top and bottom of the retaining plate ①, ② or ③ using one nut ⑭ each (only two to three turns).
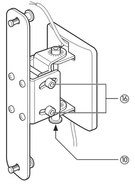
- If necessary, loosen the two screws ⑯, change the inclination of the bracket and tighten the screws ⑯ again. To align the wall mount horizontally, loosen the nut ⑩, align the bracket with the listening zone and tighten the nut ⑩ again.

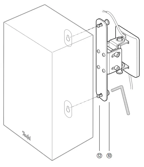
- Hang up the speaker on the retaining bolts ⑫ and screw tighten it using the nuts ⑩.

Technical data
| Max. carrying capacity: | 10 kg |
| Dimensions (W x D x H) with longest retaining plate (approx.): | 84 x 80 x 345 mm |
| Net weight with longest retaining plate (approx.): | 820 |
Technical changes reserved!
Please contact our customer service department with any questions, suggestions, or complaints:
Lautsprecher Teufel GmbH
BIKINI Berlin
Budapester Str. 44 10787 Berlin (Germany)
www.teufelaudio.com
Phone.: 00800 200 300 40 (toll-free)
Fax: +49 (0)30 – 300 930 930
Service: www.teufelaudio.com/service
Contact: www.teufelaudio.com/contact
No responsibility is assumed for the correctness of this information.
Technical changes, typographical errors and other errors reserved.
No responsibility is assumed for the correctness of this information.
Technical changes, typographical errors and other errors reserved. Instruction No. 199914_20220602_EN / HC-HAM






















