Burns Barkles 014053 Charcoal Grill
SAFETY INSTRUCTIONS
WARNING!
- The grill gets very hot, do not move it when it is lit.
- Do not use the grill indoors.
- Do not use alcohol or petrol to light the grill. Do not spray any form of flammable liquid over the charcoal or briquettes when they have already been lit. Only use firelighters that comply with EN 1860-3.
- Keep children and pets at a safe distance from the grill.
OTHER SAFETY INSTRUCTIONS
- Never use water to control or extinguish the flames.
- Put the lid on and close the air valves when you have finished grilling.
- Wear grill gloves to avoid burn injuries when grilling.
- Do not throw hot charcoal or briquettes into rubbish bins, or where someone could tread on them, or anywhere else where they could start a fire. Make sure briquettes are completely extinguished before discarding them.
- Do not put the grill away, in your garden shed for example, before it has completely gone out.
- Keep flammable liquids and pressure containers at a safe distance from the barbecue area.
- When using an electric lighter, keep the cable well away from the hot surfaces on the grill.
- The grill is not intended to be used as a heater, and must never be used indoors under any circumstances.
- Clean the grill regularly to ensure that it will keep on working properly.
- The grill must stand on a stable and level surface when in use. Place the grill at a distance of at least 3 metres from any trees or combustible material.
- Only use charcoal and briquettes for the grilling.
- Check that the charcoal is red-hot before grilling, it takes at least 30 minutes. Start grilling when the briquettes/charcoal have a uniform red-hot glow with a thin crust of grey ash over them.
NOTE:
Always put the briquettes/charcoal in the charcoal tray in the bottom of the grill. Otherwise there is a risk of damaging the grill. Do not use too much charcoal/briquettes, one layer is enough.
SYMBOLS
WARNING:
Read the instructions.
Do not use the product in enclosed areas and/or indoors, in a tent, caravan, camper, or boat, etc. Risk of death as a result of carbon monoxide poisoning.
DESCRIPTION
Assembly parts:


ASSEMBLY
- Remove all the parts from the packaging and sort before assembly.
- Assemble the grill on a level surface.
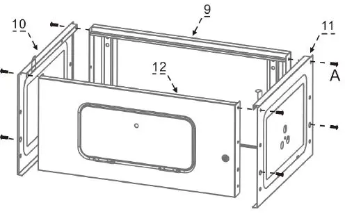
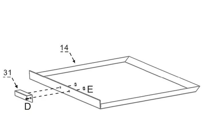
- See diagrams for correct order of assembly. FIG. 4- 21
NOTE: - Check that all the screws and nuts are correctly tightened before using the grill.


















Burns Barkles 014053 Charcoal Grill






































