Spacetronik SP-LT03 Network Cable Tester

SAFFTY INFORMATION
READ BEFFORE USE -SAFETY INFORMATION
To ensure safe operation and service of the equipment, please follow these guidelines:
- Do not use the equipment just before, during or just after an electrical storm (electrical shock/high energy overvoltage!). Please make sure that your hands, your shoes, your clothing, the floor, switches and switching components are dry.
- Trace only non-energized wiring except Power over Ethernet. Contact with live circuits can resut in serious injury or death. Aways disconnect power to the circuit prior to using the earphone.
- Never use the cable testing features on live circuits.
- Do not use the equipment if they look damaged and /or wet.
- Never use the equipment if it just brought from a place with great temperature difference.
- Avoid to use the equipment in the environment with strong magnetic fiels,strong electrostatic fields and strong RF fields.
- Read the instruction before use and follow all safety instructions.
- Use the equipment only as specified in the instruction card; otherwise, the equipment’s safety features may not protect you.
- Clean the case with a damp doth and mil detergent only. Do not use abrasives or solvents.
- Replace the battery(ies) if the power indicator is flashing.
- Remove the batteries if the equipment planned to be stored for long period.
- A” Warning” statement identifies hazardous conditions and actions that could cause bodily harm or death.
- A” Caution”statement identifies conditions and actions that could damage the Meter or the equipment under test.
TRANSMITTER
- External Probe Connector
- Power Switch
- Voltage Detecting Button
- Cable Testing Button
- Display
- Cable Tracing Button
- Continuity Test Button
- Signal Selection Button
- Pairing Speed Adjusting Button
- Battery Door
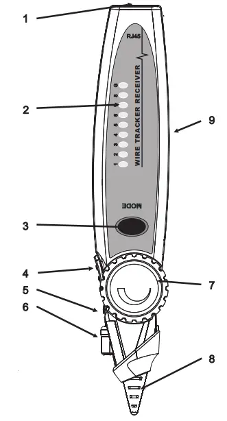
RECEIVER
- RJ45 Connector
- Indicators
- Mode Button
- Flashlight Switch
- Scan Ready Indicator
- Flashlight
- Volume Adjusting Wheel
- Tracing Probe
- Battery Door
REMOTE IDENTIFICATION UNIT (OPTIONAL ACCESSORIES)
- Remote Identity Number
- RJ45 cable jack
TRACING CABLES
TRACING CABLES
Switch on the transmitter by pressing the Power button. Or press the “SCAN”button to select the cable tracing functions. “SCAN” and “L1” will be appeared to indicate that the Tester is ready for tracing cables by analogue signals.
Select the signals, as listed in the following table, by press “Hz” button.
- L1: Analogue 1 Signals
- L2: Digital Signals
- L3: Analogue 2 Signals
1)Plug the cable need to be found in the RJ45 or RJ11 jack on the transmitter.
Remarks : By using the alligator clip provided to connect the pairs or cables without connectors.
- Plug in alligator clip provided to the transmitter;
- Connect the testing object by the red clip and black clip.

- press the MODE button on the Receiver for a second then release, blue indicator switch on to indicate the Receiver is ready for tracing by digital signal and indicating by sound.
- tracing by digital signal (with audio indication) : Move the receiver tip near each pair/cable/phone line. The pair/cable/phone line with the loudest tone is the intended pair/cable/phone line.
- tracing by analogue signal (with audio indication) : Press the MODE button on the Receiver twice after the Receiver is just turn on, red indicator switch on to indicate the Receiver is ready for tracing by analogue signal. Move the receiver tip near each pair/cable/phone line. The pair/cable/phone line with the loudest tone is the intended pair/cable/phone line.
- tracing by digital signal (with vibration indication) : Press the MODE button on the Receiver once after the Receiver is just turn on, blue indicator flash to indicate the Receiver is ready for tracing by digital signal and indicating by vibration. Move the receiver tip near each pair/cable/phone line. The pair/cable/phone line with the strongest vibration is the intended pair/cable/phone line.
- After tracing, switch off the Receiver by press the MODE button for 3 seconds.
- After completing the tracing, switch off the Transmitter by pressing the power button for 3 seconds.
CABLE TESTING
CABLE TESTING (INTELLIGENT WIREMAP)
Never use the Cable Testing features on live circuits.
The equipment is designed to test the following cables. Network cables : IEEE 10Base-T, EIA/TIA 568A,
EIA/EIA568B, AT&T258A, Token Ring
Phone lines : Both 2 and 4 lines
Any metallic connection cables
- Switch on the transmitter by pressing the “TEST” button.
- Push the button, the upper part of the Wiremap Indicator will move from 1 to 8 continuously.
- Connect the cable to be tested to the transmitter and receiver.
- If the cable is connected correctly, the lines under the upper moving numbers will be appeared.
- Alternatively, users can also observe the green LEDs on the Receiver. If the lines are connect correct, the number of green LED will be matched with the moving numbers on the upper part of the Wiremap Indicator.

CABLE TESTING (Line to line function of network switch)
connection net cables
- Switch on the transmitter by pressing the power button.
- Push the “TEST” button twice Display on LCD
- Connect the cable to be tested to the transmitter and network switch,
- If the cable is connected correctly, with the moving numbers on the upper part of the Wiremap Indicator.
B2.CABLE TESTING (Network switch port flashing function)
connection net cables
- Switch on the transmitter by pressing the power button.
- Push the “TEST” button Three times. Display( twinkle) on LCD
- Connect the cable to be tested to the transmitter and network switch,
- If the cable is connected correctly, The LED light of the corresponding port on the network switch will flash at an interval of about 2 seconds.

VOLTAGE TESTING
VOLTAGE TESTING
Never use the equipment to test AC voltage and other Hi-volt circuit.
- Switch on the transmitter by pressing the “V” button.
- Push the button and “Voltage” will appear on the display to indicate the transmitter is standby.
- Plug the alligator clip provided to the RJ11 jack on the transmitter. Connect the red clip to the + terminal of battery and black clip to the – terminal.
Results:
When voltage is present, Wiremap indicator will show as left.
The flashing number indicate the voltage on that cable is positive.
For connecting with the aligator clip, cable number 3 flashing indicating that the cable connect to red clip is positive.
POE VOLTAGE TESTING
POE VOLTAGE TESTING
- Switch on the transmitter by pressing the ”V” button twice
- Push the button two times and “Voltage” and “PoE” will appear to indicate the transmitter is standby.
- Plug the cable to be tested to the RJ45 or RJ11 jack on the transmitter.
- the measured voltage will be displayed.
- For all three models, cable numbers on the Wiremap Indicator flash means those cables are the positive side.

CONTINUITY TEST
CONTINUITY TEST
- Plug the cable with alligator clip provided in the transmitter
- Connect the cable with alligator clip to the two ends of the testing cable
- Switch on the transmitter.
- Push the “OHM” button.
- 00 and apear on the display if the cable is good enough to let current pass though; 0L appear indicate that the current cannot pass through.

REMOTE IDENTIFICATION
(WITH OPTIONAL ACCESSORIES)
This function need to have the optional Remote Indication Unit which is not included in the standard package.
- Connect the cable need to be identified to the Remote Indication Unit.
- Plug the cable at the other end to the transmitter;
- The Remote Identity Number will be shown on the display of transmitter.
DISPLAY
Battery Indicator
The Transmitter is ready for network cables / phone lines Circuit allow current pass through
The Transmitter is ready for BNC cables
Power over Ethernet
The Transmitter is ready for switc
The Transmitter is ready for connecting to Remote Identification Unit
The Transmitter is ready to serve
Tracing Cables
The Transmitter is ready for sending analogue signal 1
The transmitter is ready for sending digital signal
The Transmitter is ready for sending analogue signal 2
Voltage Testing
Display the Voltage detected
Continuity
Current can pass through
Current cannot pass through
Cable Testing
Displaying the Cable Number which the signal is sending to Remote Identification (need optical accessories)
Display the Remote Identification Unit No.
If No Remote Identification Unit is connected, — will be displayed
Other
Unit – Volt
Unit – Ohm
The Tester is ready for Cable Testing
The Tester is ready for Voltage Test
The Tester is sending digital signal
The Tester is ready for tracing cables
The Tester is ready for Continuity Test
CLEANING
Caution
To avoid damaging the equipment, do NOT submerge the equipment in water. Do not use abrasive cleaners, they will damage the case.
Wipe the case with a damp cloth and mild detergent. Do not use abrasives or solvents. Dirt or moisture in the jacks can affect the measurement.
AUTO POWER OFF
The equipment will automatically switch off if there is no function or button press for about 20 minutes.
SPECIFICATIONS
- Temperature Operating: 0°C ~ 40°C
Storage: -10°C ~ 50°C - Relative Humidity < 90%
- Battery Transmitter: 3 x 1.5V AA (R6)
Receiver: 9V (6F22) - Size Transmitter: 65 x 120 x 32mm
Receiver: 35 x 187 x 29mm - Weight Transmitter: ~109g (exclude battery)
Receiver: ~66g (exclude battery) - Analogue Cable Tracing SP-LT03
- Digitalized Cable Tracing √
- Tracing cables with PoE support √
- Identify wire pairs & quality of wire connections √
- Battery Voltage Polarity Checking √
- Battery Voltage measurment (for reference only) √
- PoE Voltage Polarity Checking √
- PoE Voltage measurment (for reference only) √
- Intelligent Wiremap √
- Split Pair √
- Breakpoint checking √
- Continuity Test √
- Tracing signal transmission distance 3Km
- Output signal level ~15Vp-p
- Vibration indication √
- Flashlight √
- Loudness adjustable √
- Low Battery Indicator (Transmitter) √
- Auto Power Off (Transmitter) switch off after idling for ~20 minutes
- Auto Power Off (Receiver) √
MAINTENANCE
CHANGING BATTERY
To avoid shock, injury, or damage to the equipment, remove all the connection before opening the battery doors.
the transmitter batteries if all the bargraph in the power indicator are gone and/or the receiver battery if it cannot be switched on.
To replace the battery, switch off the transmitter / receiver.
Open the battery doors as following photos.
Replace the 3 x 1.5V AA (R6) batteries for the transmitter and 1 x 9V (6F22) battery for the receiver.





























