AUTOMIG 130 Ampere AWELCO Mig Mag No Gas Welding Station

Thank you for choosing this product.
The images are purely illustrative, do not have any contractual reference.
GENERAL DESCRIPTION
MIG welders can weld flux-cored gasless wire. When welding, use promising jet welding spray to obtain optimal welding. the use of this product will enhance the binding of the weld and reduce spattering.
DESCRIPTION OF THE MACHINE
- ON/OFF switch
- Min-Max Switch
- Wire speed regulator (Optional)
- Check Firmware (Optional)
- Power LED (Optional)
- Thermal protection LED
ELECTRICAL CONNECTION
Before connecting the machine to the outlet, check that your supply voltage is like the machine’s voltage and that the power supply is sufficient to feed the full load machine. Make sure that the electric plant is provided with a sufficient earth connection.
EARTH CONNECTION
A suitable earth cable connected to a clamp is supplied with the welding machine. The earth clamp should be attached to the workpiece itself. It must be a very good connection wherever made, as a poor or dirty connection will produce difficult welding conditions and could result in a bad weld.
TECHNICAL INFORMATION
The welding machine has an On-Off switch (1), with luminous led that indicates the operation of the machine (5). The welderhas a switch (2) that provides 2-position power, to select based on the power required. Using the knob (3) placed on the frontal you can regulate the welding wire speed. The knob should be used in conjunction with the voltage switch to give a smooth and perfect arc. The machine is fitted with a thermal overload protection which will automatically interrupt the welding current on reaching excessive temperatures; in which instance a yellow pilot light (6) will switch on. Once the temperature has decreased to a level low enough to allow welding, the light will switch itself off and the machine is ready for use again.
SPOOLS INSTALLATION
You can use spools of Ø 100mm (0.1 Kg, 0,5 Kg).
WIRE-FEEDER MOTOR
Make sure that the size of the groove in the feed roll corresponds to the welding wire size being used. The machines are arranged with feed roll Ø 0.9mm. The feed roll has the wire diameter stamped on its side. The machines are equipped with proper K rolls suitable for welding with flux cored wire without gas protection. In any case, the machine uses only wire type FLUX.
FEEDING WIRE INTO THE WELDING TORCH (FIG.1)
Cut the first 10 cm of wire and then check that there are no burrs or distortions at the cut end. Release the small wheel which is connected to the pressure arm by unscrewing the pressure screw and pass the wire through the feed roll’s groove and then re-insert the wire into the guide. At this point, make sure that the wire lies in the feed roll’s groove in a natural line. Drop the pressure arm on the wire and swing it back under the pressure screw. Pressure on the welding wire is regulated by turning the pressure screw, the correct pressure being critically important to the smooth operation of the welding machine. The optimum pressure is the one which ensures that the wire runs smoothly though allows the feed roll to slip in the event of a blockage in the torch. It is possible to adjust the friction of the paddle hub. If the hub over-runs, then increase the friction pressure in order to always have the spool wire drawn. On the contrary, if the friction pressure is too much, some tension can be released to obtain a regular wire feeding.
TORCH CONNECTION
The torch is connected directly to the welding machine so it is ready for use. A probable replacement of the torch must be done with care and if possible by a technician. To replace contact tips, it is necessary to unscrew or to pull it. Replace tip, check that it corresponds with the wire size and replace the gas shroud. For good wire feeding during welding operations, it is essential that the correct size parts are used for each wire. Always Keep clean the contact tip.
WELDING GUIDE
When welding on the lowest output settings, it is necessary to keep the arc as short as possible. This should be achieved by holding welding torch as close as possible and at an angle of approximately 45 degrees to the workpiece. The arc length can be increased when welding on the highest settings, an arc length up to 20 mm can be enough when welding on maximum settings.
GENERAL WELDING TIPS
From time to time, some faults may be observed in the weld owing to external influences rather than due to welding machine’s faults. Here are some that you may come across :
- Porosity
Small holes in the weld, caused by break-down in gas coverage of the weld or sometimes by foreign bodies inclusion. Remedy is, usually, to grind out the weld. Remember, clean well the working place and finally incline the torch while welding. - Spatter
Small balls of molten metal which come out of the arc. A little quantity is unavoidable, but it should be kept down to a minimum by selecting correct settings. - Narrow and rounded welding
Can be caused by moving the torch too fast. - Very thick or wide welding
Can be caused by moving the torch too slowly. - Wire burns back
It can be caused by wire feed slipping, loose or damaged welding tip, poor wire, nozzle held too close to work or voltage too high. - Little penetration
It can be caused by moving the torch too fast, too low voltage setting or incorrect feed setting, reversed polarity, insufficient blunting and distance between strips. Take care of operational parameters adjustment and improve the preparation of the workpieces. - Workpiece’s piercing
It may be caused by moving the welding torch too slowly, too high welding power or by an invalid wire feeding. - Heavy spatter and porosity
It can be caused by the nozzle too far from work, dirt on work. Remember that the current of welding is appropriate to the wire you are using. - Welding arc instability
It may be caused by an insufficient welding voltage, or irregular wire feed.
DESCRIPTION OF SIGNS AND SYMBOLS
![]() | 1 ~ | Single-phase alternating voltage |
| U 0 … (V) | Nominal open circuit voltage | |
| Transformer | ||
| EN 60974-1 | Norm of reference | |
![]() | Flat characteristic | |
![]() | MIG-MAG wire feed welding | |
| U 1 … (V/Hz) | Nominal values of mains voltage and frequency | |
| I 2 … (A) | Welding current | |
| I 1 max … (A) | The welding unit’s maximum absorbed current | |
| I 1 eff … (A) | Effective current supplied | |
| X | Duty cycle | |
| IP21S | The welding unit’s protection class | |
| H | The transformer’s insulation class. | |
![]() | Welding machine suitable for use in environments with heightened risk of electric shock. | |
![]() | Symbols referring to safety regulations | |
FAULT FINDING
| FAULT | REASON | REMEDY |
| Wire isn’t conveyed when Feed roll is turning | 1) Dirt in liner and/or contact tip 2) The frition brake in the hub is too tightened 3) Faulty welding torch | 1) Blow with compressed air, replace contact tip 2) Loosen 3) Check torch liner |
| Wire feeding in jerk or erratic way | 1) Contact tip defect 2) Burns in contact tip 3) Dirt in feed roll groove 4) Feed roll’s groove worn | 1) Replace 2) Replace 3) Clean 4) Replace |
| No arc | 1) Bad concat between earth clamp and workpiece 2) Short-circuit between contact tip & gas shroud | 1) Tighten earth clamp and check connections 2) Clean, replace tip and/or shroud as necessary |
| The machine suddenly stops welding operations after an extended and heavy duty use | Welding machine overheated due to an excessive use in stated duty cycle | Don’t switch off the machine, let it cool down for about 20/30 minutes |
NOTICE
This welding machine is for professional use only and is reserved for the industry.
Duty Cycle – Welding current
Welding cables shall meet the requirements of IEC 60245-6 or meet national and local regulations. Additional information about the current carrying capability of welding cables can be found in EN 50565-1 :2014
Value-based on table D.3 of CEI EN50565-1:2015-02
Value-based on table D.4 of CEI EN50565-1:2015-02
Welding Machine Technical Data
Electrical Schema
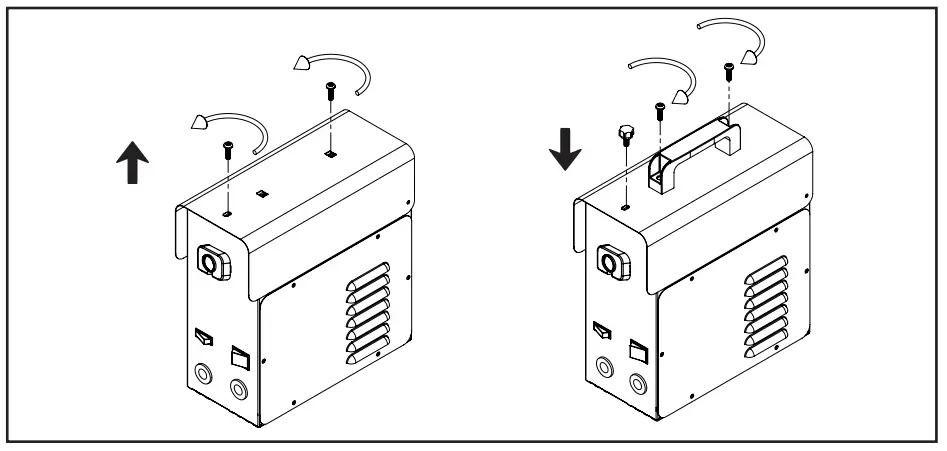
Handle Assembly
Assembly
Spare Parts List
EU DECLARATION OF CONFORMITY
This declaration of conformity is issued under the sole responsibility of the manufacturer.
- Product model / Unique identification of the EEE (Electrical and electronic equipment) 1
- Name and address of the manufacturer 2
- Object of the declaration 3
- The object of the declaration described above is in conformity with Directive 4; where possible, compliance is determined by the EC declarations issued by the suppliers along the raw material supply chain
- The object of the declaration described above is in conformity with the relevant harmonization legislation 5
- Additional information 6
- AUTOMIG 130 / 10700
- AWELCO Inc. Production S.p.A. – 83040 – Conza d. C. – Italy – email: [email protected] – phone: +39 0827 363601 – fax: +39 0827 36940
- WELDING MACHINE
- LVD 2014/35/EU Low Voltage Directive EMC 2014/30/EU Electromagnetic Compatibility Directive RoHS II 2011/65/EU Restriction of Hazardous Substances Directive RoHS II 2011/65/EU Annex lI: Delegated Directive (EU) 2015/863
- LVD IEC 60974-1:2017
EMC IEC 60974-10:2014 
WARRANTY
The manufacturer warrants the good working of the machines and takes the engagement of performing free of charge the replacement of the pieces which should result faulty for the bad quality of the material or of defects of construction within 24 MONTHS from the date of selling of the machine, proved on the certificate for countries of the European community and within 12 MONTHS for extra communitarian countries. The inconvenience coming from bad utilization, tampering or carelessness is excluded from the guarantee while all responsibility is refused for all direct or indirect damages. Machines to be returned, to verify if a defect becomes from the factory and so under warranty, they can be sent at carriage forward (but please after agreement with the factory about the choice of forwarder) and they will be sent back at carriage free of charge.
























