audizio MAD30 Triple Monitor Arm 17-32″

Read the entire instruction manual before you start installation and assembly. If you have any questions regarding any of the
instructions or warnings, please contact your local distributor for assistance.
CAUTION!
• Use with products heavier than the rated weights indicated may result in instability causing possible injury.
• Please closely follow the assembly instructions. Improper installation may result in damage or serious personal injury.
• Safety gear and proper tools must be used. This product should only be installed by professionals.
• Make sure that the supporting surface will safely support the combined weight of the equipment and all attached hardware and components.
• Use the mounting screws provided and DO NOT OVER-TIGHTEN mounting screws.
• This product contains small items that could be a choking hazard if swallowed. Keep these items away from children.
• This product is intended for indoor use only. Using this product outdoors could lead to product failure and personal injury.
IMPORTANT! Ensure that you have received all parts according to the component checklist prior to installation. If any parts are missing or faulty, contact your place of purchase for a replacement.
MAINTENANCE
Check that the product is secure and safe to use at regular intervals (at least every three months). Specifications and design are subject to change without prior notice.
TOOL REQUIRED

INSTALLATION
STEP 1


STEP 2




STEP 3

STEP 4

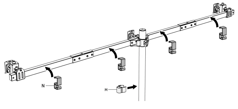
STEP 5

STEP 6


Check that the product is secure and safe to use at regular intervals (at least every three months). Specifications and design are subject to change without prior notice.
www.tronios.com
Copyright © 2021 by Tronios The Netherlands


















