SUN GLOW Roller Shade Curved Cassette and Compact Curved Cassette

WARNING
STRANGULATION HAZARD — Young children can be strangled by cords. Immediately remove this product if a cord longer than 22 cm or a loop exceeding 44 cm around becomes accessible.
PREPARATION

Component List
- A. Shade
- B. Mounting Brackets
- C. Chain Tension Device
DETERMINE NUMBER OF BRACKETS
Shade Width # of Brackets
| <60” | 60” to 96” | 96” to 120” | 120” to 148” | >148” |
| 2 | 3 | 4 | 5 | 6 |
- Determine the proper position for each bracket. The outside brackets should be no further than 2” from the ends of the cassette.
- The brackets should be securely mounted and equally spaced for the width of the shade.
- It is important that the mounting brackets be installed level and aligned to each other. Shimming may be required.
MOUNT THE BRACKETS
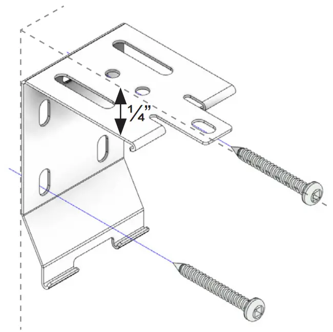
CEILING MOUNT
For ceiling mount applications, please ensure that you leave a ¼” between the wall and the mounting bracket to facilitate mounting and dismounting. 
WALL MOUNT
For wall mount applications, please ensure that you leave a ¼” between the ceiling and the mounting bracket to facilitate mounting and dismounting. 
50mm bracket may vary in shape
INSTALL THE SHADE
- With the curved face of the cassette facing you, (1) insert the back edge of the cassette onto the bottom of each mounting bracket, as shown below.
- (2) Starting from the center of the shade, push the cassette back and up until the cassette snaps into the top tab of the mounting bracket.
- (3) You should hear an audible click as the cassette snaps in to the mounting brackets. Repeat this process for each bracket.


INSTALL THE SAFETY SHIELD
NOTE: For shades with chain operation only.
Ensure that Safety Shield is carefully and properly installed. 




















