
ATTACHMENT JDQH2 Quick Hitch Adaptor
Owner’s Manual
MPN(s): QH2, JDQH2, KOQH2
SKU(s): 191128, 191144, 191145
UPC(s): 840009202858, 840009216701, 840009216718
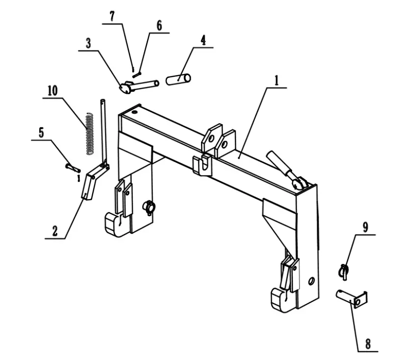
PARTS DIAGRAM / EXPLODED VIEW
AVAILABLE IN BLACK, GREEN, OR ORANGE
| KEY | DESCRIPTION | QTY | KEY | DESCRIPTION | QTY |
| (1) | MAINFRAME | 1 | (6) | PIN (06) | 2 |
| (2) | BLOCK | 2 | (7) | COTTER PIN | 4 |
| (3) | HANDLE | 2 | (8) | PIN (022) | 2 |
| (4) | RUBBER SLEEVE | 2 | (9) | CIRCLE PIN | 2 |
| (5) | PIN (012) | 2 | (10) | SPRING | 2 |
ASSEMBLY INSTRUCTIONS
– No Assembly Instructions Required.
This concludes the QH2 Owner’s Manual. If applicable to your product, make sure to tighten all nut-and-bolt combinations before use. Enjoy!
DISCLAIMER
This equipment must be used with care by capable and competent individuals under supervision, if necessary. The use of any equipment, including this one, involves the potential risk of injury. You accept and assume full responsibility for any and all injuries, damages (both economic and non-economic), and losses of any type, which may occur, and you fully and forever release and discharge Titan, its insurers, employees, officers, directors, associates, and agents from any and all claims, demands, damages, rights of action, or causes of action, present or future, whether the same be known or unknown, anticipated, or unanticipated, resulting from or arising out of the use of said equipment. TITAN MAKES NO WARRANTY WHATSOEVER WITH RESPECT TO THE EQUIPMENT, INCLUDING ANY WARRANTY OF MERCHANTABILITY OR WARRANTY OF FITNESS FOR A PARTICULAR PURPOSE, WHETHER EXPRESS OR IMPLIED BY LAW, COURSE OF DEALING, COURSE OF PERFORMANCE, USAGE OF TRADE, OR OTHERWISE. THE BUYER ASSUMES ALL LIABILITY IN THE USE OF THE EQUIPMENT.
NEED HELP?
CONTACT US FIRST.
1(800)605-8241
[email protected]
/www.palletforks.com
Business Hours: Monday Friday
8:00 a.m.5:00 p.m. (CT)



















