

LANDSCAPES
Air purifier




AIR PURIFIER LANDSCAPES DESCRIPTION
DESCRIPTION
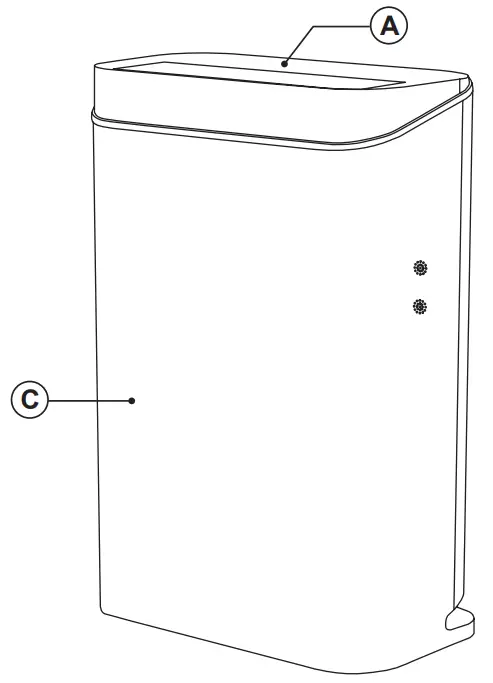
A-Control panel
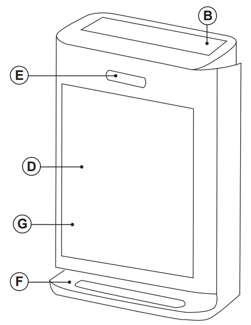
B-Air outlet
C-Front panel
D-Filter cover
E-Handle
F-Base
G-Air inlet
- Fan speed indicator
- Filter replacement indicator
- Timer
- ON/OFF
- Night mode button
- Fan speed button
- Filter button
- Timer button
- ON-OFF button
USE AND CARE:
– Do not operate the appliance in a very dusty and/or humid place or in a location with fire hazards.
– Never insert objects into the appliance. Never place anything on the appliance or insert anything into it.
– Do not cover the air inlets or the outlet grid.
– Never allow any liquid to enter the appliance
– Do not touch appliances with wet hands.
– Never use the appliance in humid places.
– Never use the appliance close to a heat source.
– Do not use appliances close to flammable objects or products (curtains, aerosols, solvents, etc.)
– Do not spray any flammable material such as insecticides or fragrances around the appliance.
It may cause an explosion or fire
– Do not drink the accumulated water, use it to feed animals, nor to water plants. Empty the water tank, and pour the water down the drain.
– This appliance cannot replace normal ventilation, daily dust collection, or oil pumping when cooking.
– Ensure that the appliance is used in the condition of a stable and horizontal surface.
– Leave at least 150 cm of space on the back and sides of the appliance, and at least 150 cm of space above the product when using.
– Fully extend the appliance’s power cable before each use.
– Do not use the appliance without its filter(s) correctly in place.
– Do not use the appliance if the on/off switch does not work.
– Do not move the appliance while in use.
– Use the appliance handle/s, to catch it or move it.
– Do not use the appliance if it is tipped up and does not turn it over.
– Do not turn the appliance over while it is in use or connected to the mains.
– Unplug the appliance from the mains before replacing any accessory.
– Unplug the appliance from the mains when not in use and before undertaking any cleaning task.
– Store this appliance out of reach of children and/or persons with physical, sensory, or reduced mental or lack of experience and knowledge.
– Do not expose the appliance to extreme temperatures.
– Do not expose to extreme temperatures or strong magnetism.
– Keep the appliance in a dry, dust-free place, out of direct sunlight.
– Make sure that dust, dirt, or other foreign objects do not block the fan grill on the appliance.
– Keep the appliance in good condition. Check that the moving parts are not misaligned or jammed and make sure there are no broken parts or anomalies that may prevent the appliance from operating correctly.
– Use the appliance and its accessories and tools in accordance with these instructions, taking into account the working conditions and the work to be performed. Use the appliance for operations different from those intended could result in a hazardous situation.
INSTALLATION
– Be sure to remove all packaging material from inside the appliance.
– Respect the legal provisions concerning safety distances from other elements such as pipes, electrical connections, etc.
– Ensure that the appliance is level with respect to the floor.
– The appliance requires suitable ventilation in order to work properly. Leave a space of 150 cm between walls or other obstacles..
– Do not cover or obstruct any of the openings of the appliance.
– The plug must be easily accessible so it can be disconnected in an emergency.
INSTRUCTIONS FOR USE
BEFORE USE:
– Remove the appliance’s protective film.
– Make sure that all the product’s packaging has been removed.
– To eliminate the smell given off by the appliance when used for the first time, it is recommended to have it on at full power for 2 hours in a well-ventilated room.
– Prepare the appliance according to the function you wish to use:
INSTALLING THE PRODUCT
– Pull the rear cover handle to remove it (FIG1)
– Remove the plastic package from the filter. (FIG2)
– Install the filter into the machine (FIG3)
– Fasten up the rear cover and connect to the power source (FIG4)
USE:
– The appliance can be used directly connected to the mains.
– Extend the cable completely before plugging it in.
– Attach the appliance to its base/connector making sure that it is correctly fitted into place.
– Attach the appliance to its base making sure that it is correctly fitted into place.
– Ensure that the electronic connector is properly attached to the appliance.
– Connect the appliance to the mains.
– Guide the appliance to direct the flow of air in the desired direction.
– Turn the appliance on, by using the on/off button.
– Turn the appliance on, by using one of the speed selection buttons.
– The pilot light (4) comes on.
– Select the desired speed.
TIMER FUNCTION:
– The appliance’s operating time can be controlled.
– To program the operating time simply select it using the (8) buttons.
FILTER REPLACEMENT
– When the filter life expires (about 3000 hours of a lifetime) the filter replacement indicator will blink blue to remind you.
– Follow “installing the product” instructions
– After changing the new filter, press and hold for 5 seconds to reset.
ONCE YOU HAVE FINISHED USING THE APPLIANCE:
– Select the minimum position (MIN) using the speed control.
– Turn the appliance off, using the on/off button.
– Unplug the appliance from the mains.
– Clean the appliance.
SAFETY THERMAL PROTECTOR:
– The appliance has a safety device, which protects the appliance from overheating.
– When the appliance switches itself on and off repeatedly, for reasons other than the thermostat control, check to ensure that there are no obstacles that impede correct air entry or expulsion.
– If the appliance turns itself off and does not switch itself on again, disconnect it from the mains supply, and wait for approximately 15 minutes before reconnecting. If the machine does not start again seek authorized technical assistance.
CLEANING
– Disconnect the appliance from the mains and allow it to cool before undertaking any cleaning task.
– Clean the electrical equipment and the mains connection with a damp cloth and dry. DO NOT IMMERSE IN WATER OR ANY OTHER LIQUID.
– Clean the equipment with a damp cloth with a few drops of washing-up liquid and then dry.
– Do not use solvents, or products with an acid or base pH such as bleach, or abrasive products, for cleaning the appliance.
– Do not let water or any other liquid get into the air vents to avoid damage to the inner parts of the appliance.
– Never submerge the appliance in water or any other liquid or place it under running water.
– Do not wash the filter.
– Do not use a vacuum cleaner to clean the filter.
– Sterilize the filter under sunlight regularly.
– If the appliance is not in good condition of cleanliness, its surface may degrade and inexorably affect the duration of the appliance’s useful life and could become unsafe to use.
SUPPLIES
– Supplies can be acquired from distributors and authorized establishments (such as filters, etc.) for your appliance model.
– Always use original supplies, designed specifically for your appliance model.
– Only the following type of supplies must be used with the appliance.
– Filters
SPECIFICATIONS:
– Protection degree: IPX0
– Applied part type: BF
– Weight: 4,7kg
– Acoustic pressure level < 43dB(A)
– Operating temperature: 0°C~35°C
– Storage temperature: -15°C~45°C
– Continuous operation with short-time loading
– Not suitable for use in presence of flammable anesthetic mixture with air or with Oxygen or nitrous oxide
– NB: These specifications are subject to change without notice of the purpose of improvement.
– NB: By virtue of the conditions of fabrication of this product, the maximum absorbed power can differ from that specified.
– NB: By virtue of the conditions of fabrication of this product, the maximum used power can differ from that specified.

Avda. Barcelona, s/n
25790 Oliana Spain
Rev. 03/08/20


















