
59490 Portable Sand Blaster Gun Kit
Owner’s Manual
PORTABLE SAND
BLASTER GUN KIT
59490 Portable Sand Blaster Gun Kit
Owner’s Manual & Safety Instructions
Save This Manual Keep this manual for the safety warnings and precautions, assembly, operating, inspection, maintenance and cleaning procedures. Write the product’s serial number in the back of the manual (or month and year of purchase if product has no number). Keep this manual and the receipt in a safe and dry place for future reference.
![]()
Read this material before using this product.
Failure to do so can result in serious injury.
Save this Manual.
WARNING SYMBOLS AND DEFINITIONS | |
| This is the safety alert symbol. It is used to alert you to potential personal injury hazards. Obey all safety messages that follow this symbol to avoid possible injury or death. | |
| Indicates a hazardous situation which, if not avoided, will result in death or serious injury. | |
| Indicates a hazardous situation which, if not avoided, could result in death or serious injury. | |
| Indicates a hazardous situation which, if not avoided, could result in minor or moderate injury. | |
![]() | Addresses practices not related to personal injury. |
IMPORTANT SAFETY INSTRUCTIONS
INSTRUCTIONS PERTAINING TO A RISK OF FIRE, ELECTRIC SHOCK, OR INJURY TO PERSONS The warnings and precautions discussed in this manual cannot cover all possible conditions and situations that may occur. It must be understood by the operator that common sense and caution are factors which cannot be built into this product, but must be supplied by the operator.
WARNING — When using tools, basic precautions should always be followed, including the following:
Work Area
a. Keep the work area clean and well lighted. Cluttered benches and dark areas increase the risks of electric shock, fire, and injury to persons.
b. Do not operate the tool in explosive atmospheres, such as in the presence of flammable liquids, gases, or dust. The tool is able to create sparks resulting in the ignition of the dust or fumes.
c. Keep bystanders, children, and visitors away while operating the tool. Distractions are able to result in the loss of control of the tool.
Personal Safety
a. Stay alert. Watch what you are doing and use common sense when operating the tool. Do not use the tool while tired or under the influence of drugs, alcohol, or medication. A moment of inattention while operating the tool increases the risk of injury to persons.
b. Dress properly. Do not wear loose clothing or jewelry. contain long hair. Keep hair, clothing, and gloves away from moving parts. Loose clothes, jewelry, or long hair increases the risk of injury to persons as a result of being caught in moving parts.
c. Do not overreach. Keep proper footing and balance at all times. Proper footing and balance enables better control of the tool in unexpected situations.
d.
use safety equipment. Wear protective paint spraying gloves and a NIOSH‑approved respirator during use. Non‑skid safety shoes and a hard hat must be used for the applicable conditions.
e.
always wear eye protection. Wear ANSI‑approved safety goggles.
f.
always wear hearing protection when using the tool. Prolonged exposure to high intensity noise is able to cause hearing loss.
Tool Use and Care
a. Do not force the tool. Use the correct tool for the application. The correct tool will do the job better and safer at the rate for which the tool is designed.
b. Disconnect the tool from the air source before making any adjustments, changing accessories, or storing the tool. Such preventive safety measures reduce the risk of starting the tool unintentionally. Turn off and detach the air supply, safely discharge any residual air pressure, and release the throttle and/or turn the switch to its off position before leaving the work area.
c. Store the tool when it is idle out of reach of children and other untrained persons. A tool is dangerous in the hands of untrained users.
d. check for misalignment or binding of moving parts, breakage of parts, and any other condition that affects the tool’s operation. If damaged, have the tool serviced before using. Many accidents are caused by poorly maintained tools. There is a risk of bursting if the tool is damaged.
e. use only accessories that are identified by the manufacturer for the specific tool model. Use of an accessory not intended for use with the specific tool model, increases the risk of injury to persons.
Service
a. tool service must be performed only by qualified repair personnel.
b. When servicing a tool, use only identical replacement parts. use only authorized parts.
Air Source
a.
Never connect to an air source that is capable of exceeding 200 psi.
Over pressurizing the tool may cause bursting, abnormal operation, breakage of the tool or serious injury to persons.
Use only clean, dry, regulated compressed air at the rated pressure or within the rated pressure range as marked on the tool. Always verify prior to using the tool that the air source has been adjusted to the rated air pressure or within the rated air‑pressure range.
b. never use oxygen, carbon dioxide, combustible gases or any bottled gas as an air source for the tool. Such gases are capable of explosion and serious injury to persons.
SAVE THESE INSTRUCTIONS.
Symbol Definitions
| Symbol | property or Statement |
| PSI | Pounds per square inch of pressure |
| CFM | Cubic Feet per Minute flow |
| SCFM | Cubic Feet per Minute flow at standard conditions |
| NPT | National pipe thread, tapered |
| NPS | National pipe thread, straight |
| Symbol | Property or Statement |
| WARNING marking concerning Risk of Eye Injury. Wear ANSI-approved eye protection. | |
| WARNING marking concerning Risk of Respiratory Injury. Wear NIOSH-approved respirator. | |
| WARNING marking concerning Risk of Explosion. | |
| WARNING marking concerning Risk of Fire. Do not use solvents improperly. |
SAFETY
Specific Safety instructions
- Do not direct spray at people or animals.
- Do not exceed maximum air pressure.
- RISK OF INJECTION ‑ Do not point blast gun at any person or any part of the body. In case of skin injection, seek medical attention immediately.
- Industrial applications must follow OSHA requirements.
- Attach all accessories properly to the tool before connecting the air supply. A loose accessory may detach or break during operation.
- Install an in‑line shutoff valve to allow immediate control over the air supply in an emergency, even if a hose is ruptured.
- Air hose fittings may get hot during use. Allow fittings to cool before disconnecting.
- Avoid unintentional starting. Prepare to begin work before turning on the tool.
- Do not leave the tool unattended when it is plugged into an compressor. Release the Trigger, and unplug the tool from its air source before leaving.
- Use clamps (not included) or other practical ways to secure and support the workpiece to a stable platform.
Warning: This product, when used for abrasive blasting and similar applications, produces chemicals known to the State of California to cause cancer and birth defects (or other reproductive harm). - If any abnormal vibration occurs, stop use immediately.
Silicosis and aluminum Oxide Warnings
Warning: Abrasive blasting with sand containing crystalline silica can cause serious or fatal respiratory disease. Exposure to crystalline silica may cause silicosis (a serious lung disease), cancer and death. Exposure to aluminum oxide (a dust generated from material removing processes) can result in eye, skin and breathing irritation. Always use a NIOSH (National Institute for Occupational Safety and Health) approved respirator and safety goggles. Avoid skin exposure. Proper ventilation in the work area is required. Read and understand the 10 recommended measures below to reduce crystalline silica exposures in the workplace and prevent silicosis and silicosis related deaths.
NIOSH recommends the following measures to reduce crystalline silica exposures in the workplace and prevent silicosis and silicosis-related deaths:
- Prohibit silica sand (or other substances containing more than 1% crystalline silica) as an abrasive blasting material and substitute less hazardous materials.
- Conduct air monitoring to measure worker exposures.
- Use containment methods such as blast‑cleaning machines and cabinets to control the hazard and protect adjacent workers from exposure.
- Practice good personal hygiene to avoid unnecessary exposure to silica dust.
- Wear washable or disposable protective clothes at the work site. Shower and change into clean clothes before leaving the work site to prevent contamination of cars, homes and other work areas.
- Use respiratory protection when source controls cannot keep silica exposures below the NIOSH REL.
- Provide periodic medical examinations for all workers who may be exposed to crystalline silica.
- Post signs to warn workers about the hazard and to inform them about required protective equipment.
- Provide workers with training that includes information about health effects, work practices and protective equipment for crystalline silica.
- Report all cases of silicosis to State health departments and to OSHA or the Mine Safety and Health Administration (MSHA).
SAVE THESE INSTRUCTIONS.
Specifications
| Max. Air Pressure | 150 PSI |
| Air Inlet | 1/4 IN. ‑ 18 NPT Female |
| Hopper Capacity | 18 OZ. |
| Air Flow | 7 CFM @ 90 PSI |
Initial Set up
Read the entire important Safety information section at the beginning of this manual including all text under subheadings therein before set up or use of this product.
Note: For additional information regarding the parts listed in the following pages, refer to the Assembly Diagram near the end of this manual.
Before air Supply Setup
- This air tool may be shipped with a protective plug covering the air inlet. Remove this plug before set up.
- Nozzle must be attached to Gun Body before use.
- Insert short end of Nozzle into Gun Body.
- Slide the Ring Nut over the Nozzle and thread onto the Gun Body.
- Hand tighten the Ring Nut. Do not use a tool or pliers to tighten.

![]()
TO PREVENT SERIOUS INJURY FROM EXPLOSION:
Use only clean, dry, regulated, compressed air to power this tool. Do not use oxygen, carbon dioxide, combustible gases, or any other bottled gas as a power source for this tool.
- Incorporate a filter, regulator with pressure gauge, in‑line shutoff valve, and quick coupler for best service, as shown on Figure A on page 7 and Figure B on page 9. an in-line shutoff ball valve is an important safety device because it controls the air supply even if the air hose is ruptured. the shutoff valve should be a ball valve because it can be closed quickly.
Note: Do not use an automatic oiler system or add oil to airline. The oil will contaminate the material being propelled, ruining the final result. - Attach an air hose to the compressor’s air outlet. Connect the air hose to the air inlet of the tool. Other components, such as a coupler plug and quick coupler, will make operation more efficient, but are not required.
Note: A 3/8″ air hose is recommended. - To attach an air hose ‑ 1/4″ ‑ 18 NPT (not included) to the Blast Gun, wrap approximately 3″ of pipe thread sealer tape (not included) around the male threads at the end of the air hose. Then, firmly tighten the air hose onto the Air Inlet of the Blaster Gun.
WARNING! TO PREVENT SERIOUS INJURY FROM ACCIDENTAL OPERATION: Do not install a female quick coupler on the tool.
Do not install a female quick coupler on the tool. Such a coupler contains an air valve that will allow the air tool to retain pressure and operate accidentally after the air supply is disconnected.
Note: Air flow, and therefore tool performance, can be hindered by undersized air supply components. - The air hose must be long enough to reach the work area with enough extra length to allow free movement while working.
- Close the in‑line shutoff valve between the compressor and the tool.
- Turn on the air compressor according to the manufacturer’s directions and allow it to build up pressure until it cycles off.
- Open the in‑line shutoff valve.
- Adjust the air compressor’s output regulator so that the air output is enough to properly power the tool, but the output will not exceed the tool’s maximum air pressure at any time. Adjust the pressure gradually, while checking the
air output gauge to set the right pressure range. - Inspect the air connections for leaks. Repair any leaks found.
- If the tool will not be used at this time, turn off and detach the air supply and safely discharge any residual air pressure to prevent accidental operation.
Note: Residual air pressure should not be present after the tool is disconnected from the air supply.
However, it is a good safety measure to attempt to discharge the tool in a safe fashion after disconnecting to ensure that the tool is disconnected and not powered.

| Description | Function | |
| A | Air Hose | Connects air to tool |
| B | Filter | Prevents dirt and condensation from damaging tool or work piece |
| C | Regulator | Adjusts air pressure to tool |
| D | Lubricator (optional) | For air tool lubrication |
| E | Coupler and Plug | Provides each connection |
| F | Leader Hose (optional) | Increases coupler life |
| G | Air Cleaner / Dryer (optional) | Prevents water vapor from damaging work piece |
| H | Air Adjusting Valve (optional) | For fine tuning airflow at tool |

| Description | Function | |
| A | Vibration Pads | For noise and vibration reduction |
| B | Anchor Bolts | Secures air compressor in place |
| C | Ball Valve | Isolates sections of system for maintenance |
| D | Isolation Hose | For vibration reduction |
| E | Main Air Line ‑ 3/4″ minimum recommended | Distributes air to branch lines |
| F | Ball Valve | To drain moisture from system |
| G | Branch Air Line ‑1/2″ minimum recommended | Brings air to point of use |
| H | Filter | Prevents dirt and condensation from damaging tool or work piece |
| I | Air Cleaner / Dryer (optional) | Prevents water vapor from damaging work piece |
| J | Regulator | Adjusts air pressure to tool |
| K | Lubricator | For air tool lubrication |
| L | Air Hose | Connects air to tool |
| M | Coupler and Plug | Provides each connection |
| N | Air Adjusting Valve | For fine tuning airflow at tool |
| O | Lead Hose | Increases coupler life |
Operating Instructions
Read the ENTIRE IMPORTANT SAFETY INFORMATION section at the beginning of this manual including all text under subheadings therein before set up or use of this product.
Inspect tool before use, looking for damaged, loose, and missing parts. If any problems are found, do not use tool until repaired.
Workpiece and Work Area Set Up
- Designate a work area that is clean and well lit. The work area must not allow access by children or pets to prevent distraction and injury.
- Route the air hose along a safe path to reach the work area without creating a tripping hazard or exposing the air hose to possible damage. The air hose must be long enough to reach the work area with enough extra length to allow free movement while working.
- There must not be hazardous objects (such as utility lines or foreign objects) nearby that will present a hazard while working.
CAUTION! Prior to sandblasting, protect other people (and property) in the work area from flying debris by providing barriers or shields. Wear appropriate clothing and safety gear when operating the Abrasive Blast Gun. If possible, place the workpiece inside a sandblast cabinet (not included). Otherwise, isolate the workpiece to make sure no damage can occur to nearby walls, tools, equipment, or other property. - Remove the cap from the Hopper (19) and fill the Hopper with abrasive media. WARNING! TO PREVENT SERIOUS INJURY : Do not use sand (crystalline silica) for blasting.
- Once filled, replace the cap.
NOTE: To keep the beads from accidentally spilling out of the Nozzle, do not point the Nozzle downward. - Connect the compressor’s air hose to the pre‑installed quick connector on the Blast Gun. Turn the compressor’s regulator to 90 PSI. WARNING! TO PREVENT SERIOUS INJURY: Do not exceed 150 PSI.
NOTE: Test the spray pattern and intensity of the Blast Gun on a piece of scrap material. - Turn on the compressor, aim the Nozzle toward the object that is to be sandblasted. Grip the Blaster Gun firmly with both hands.
- Squeeze the Trigger (4) to turn on the Blast Gun. Turn the Media Flow Control Knob (15) counterclockwise slowly to increase the flow until desired media flow is achieved.
- To refill the Hopper, release pressure on the Trigger. Turn off the air compressor and squeeze the Trigger once again to release any compressed air. Then refill the Hopper.
- When finished using the Blast Gun, turn the media flow off before release pressure on the Trigger. Turn off the air compressor. Squeeze the Trigger once to release any compressed air. Disconnect the Blaster Gun from its air supply.
- Dispose of used abrasive media only according to local solid waste guidelines.
- Clean, then store the tool indoors out of children’s reach.
Media Flow control Knob
- Turn the Media Flow Control Knob counterclockwise to increase media flow and clockwise to decrease.
- Begin blasting with Media Flow Control Knob in the off position. Slowly increase the flow until desired media flow is achieved.
- To stop all media flow turn the Media Flow Control Knob clockwise until it stops.
- When finished blasting, turn the media flow off before releasing the pressure on the trigger.
- Steps 3 & 4 will help prevent the nozzle from clogging.
User-Maintenance instructions
Procedures not specifically explained in this manual must be performed only by a qualified technician.
![]()
TO PREVENT SERIOUS INJURY:
Detach the air supply and safely discharge any residual air pressure in the tool before performing any inspection, maintenance, or cleaning procedures.
TO PREVENT SERIOUS INJURY FROM TOOL FAILURE: Do not use damaged equipment. If abnormal noise, vibration, or leaking air occurs, have the problem corrected before further use.
Inspection
Note: These procedures are in addition to the regular checks and maintenance explained as part of the regular operation of the air‑operated tool.
BEFORE EACH USE, inspect the general condition of the tool. Check for:
- Loose screws.
- Misalignment or binding of moving parts.
- Clogged nozzle.
- Damaged air supply hose.
- Cracked or broken parts.
- Any other condition that may affect its safe operation.
Cleaning and Maintenance
Note: These procedures are in addition to the regular checks and maintenance explained as part of the regular operation of the air-operated tool.
- BEFORE EACH USE, inspect the general condition of the tool. Check for loose screws, misalignment or binding of moving parts, clogged Nozzle, damaged supply hose, cracked or broken parts, and any other condition that may affect its safe operation. Do not use damaged equipment.
- AFTER USE, clean external surfaces of tool with a clean, most cloth. If necessary, use a mild detergent. CAUTION! Do not use solvents or immerse in liquids, as damage to Blast Gun may occur.
- Store in a dry, secure area out of reach of children.
Air Supply Maintenance
Every day, perform maintenance on the air supply according to the component manufacturers’ instructions.
Storage
Store in a dry, secure area out of reach of children.
Troubleshooting
| Problem | Possible Causes | Likely Solutions |
| Tool will not start. | 1. Compressor not on. 2. Air line not connected properly. | 1. Turn compressor on. 2. Check that air line is connected. |
| Blast flow surges /Excessive abrasive consumption. | Air pressure too low. | Increase air pressure. |
| Clogging and plugging of blast flow. | Excessive debris in abrasive. | Purge and filter abrasive. |
| Lack of abrasive flow. | 1. Hopper empty. 2. Moisture in abrasive 3. Not enough air pressure. 4. Air hose kinked. 5. Excessive debris in abrasive. | 1. Fill hopper. 2. Use dry abrasive. 3. Increase air pressure. 4. Un‑kink air hose. 5. Clean or filter abrasive. |
PLEASE READ THE FOLLOWING CAREFULLY
THE MANUFACTURER AND/OR DISTRIBUTOR HAS PROVIDED THE PARTS LIST AND ASSEMBLY DIAGRAM IN THIS MANUAL AS A REFERENCE TOOL ONLY. NEITHER THE MANUFACTURER OR DISTRIBUTOR MAKES ANY REPRESENTATION OR WARRANTY OF ANY KIND TO THE BUYER THAT HE OR SHE IS QUALIFIED TO MAKE ANY REPAIRS TO THE PRODUCT, OR THAT HE OR SHE IS QUALIFIED TO REPLACE ANY PARTS OF THE PRODUCT. IN FACT. THE MANUFACTURER AND/OR DISTRIBUTOR EXPRESSLY STATES THAT ALL REPAIRS AND PARTS REPLACEMENTS SHOULD BE UNDERTAKEN BY CERTIFIED AND LICENSED TECHNICIANS. AND NOT BY THE BUYER. THE BUYER ASSUMES ALL RISK AND LIABILITY ARISING OUT OF HIS OR HER REPAIRS TO THE ORIGINAL PRODUCT OR REPLACEMENT PARTS THERETO. OR ARISING OUT OF HIS OR HER INSTALLATION OF REPLACEMENT PARTS THERETO.
Record product’s Serial number Here:
Note: If product has no serial number, record month and year of purchase instead.
Note: Some parts are listed and shown for illustration purposes only, and are not available individually as replacement parts. Specify UPC 193175472571 when ordering parts.
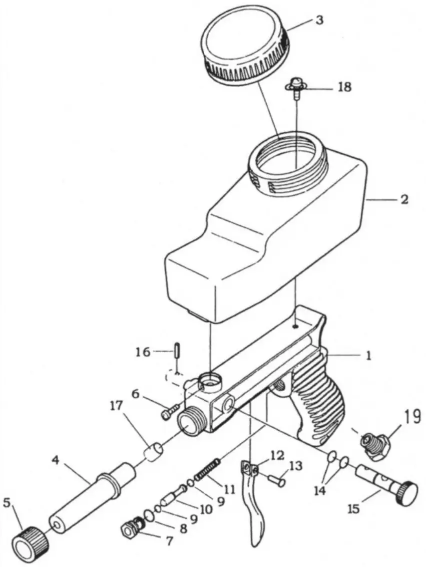
Parts List and Diagram
Parts List
| Part | Description | Q’ty |
| 1 | Gun Body | 1 |
| 2 | Storage Case | 1 |
| 3 | Lid | 1 |
| 4 | Nozzle | 1 |
| 5 | Ring Nut | 1 |
| 6 | Screw | 1 |
| 7 | Air Valve | 1 |
| 8 | O‑Ring | 1 |
| 9 | O‑Ring | 2 |
| 10 | Valve Stem | 1 |
| 11 | Spring | 1 |
| 12 | Trigger | 1 |
| 13 | Rivet | 1 |
| 14 | O‑Ring | 2 |
| 15 | Media Flow Control Knob | 1 |
| 16 | Lock Pin | 1 |
| 17 | Adaptor | 1 |
| 18 | Screw / Washer | 1 |
| 19 | Air Inlet with Screen | 1 |
Assembly Diagram

Limited 90 Day Warranty
Harbor Freight Tools Co. makes every effort to assure that its products meet high quality and durability standards, and warrants to the original purchaser that this product is free from defects in materials and workmanship for the period of 90 days from the date of purchase. This warranty does not apply to damage due directly or indirectly, to misuse, abuse, negligence or accidents, repairs or alterations outside our facilities, criminal activity, improper installation, normal wear and tear, or to lack of maintenance. We shall in no event be liable for death, injuries to persons or property, or for incidental, contingent, special or consequential damages arising from the use of our product. Some states do not allow the exclusion or limitation of incidental or consequential damages, so the above limitation of exclusion may not apply to you. THIS WARRANTY IS EXPRESSLY IN LIEU OF ALL OTHER WARRANTIES, EXPRESS OR IMPLIED, INCLUDING THE WARRANTIES OF MERCHANTABILITY AND FITNESS.
To take advantage of this warranty, the product or part must be returned to us with transportation charges prepaid. Proof of purchase date and an explanation of the complaint must accompany the merchandise. If our inspection verifies the defect, we will either repair or replace the product at our election or we may elect to refund the purchase price if we cannot readily and quickly provide you with a replacement. We will return repaired products at our expense, but if we determine there is no defect, or that the defect resulted from causes not within the scope of our warranty, then you must bear the cost of returning the product. This warranty gives you specific legal rights and you may also have other rights which vary from state to state.

26677 Agoura road • Calabasas, ca 91302
• 1-888-866-5797




















