PARKSIDE PDSP 1000 E6 Air Sandblasting Gun

The air sandblasting gun is designed for the removal of rust and paint from metal surfaces. It is a high-quality product that comes with a set of operating instructions. The instructions contain important information about safety, usage, and disposal. Please read and familiarize yourself with all operating and safety instructions before using the product.
product Intended Use
The air sandblaster gun is intended for domestic use only. It is not suitable for any other usage or modification as it carries a significant risk of accidents. The manufacturer accepts no responsibility for damage(s) resulting from improper usage.
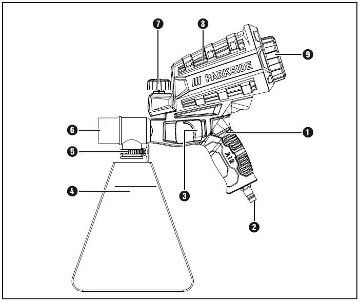
product Features
- Air sandblaster gun
- Nipple for air connection
- Trigger
- Collecting bag for sandblasting material
- Screw clamp
- Jet nozzle
- Control dial
- Blasting medium container
- Screw cap
- Surface attachment
- Point attachment
- Inner edge attachment
- Outer edge attachment
- Blasting medium
Technical Details
- Working pressure: 6.3 bar
- Air consumption: 320 l/min
- Tank capacity: 900 ml
- Required air quality: Cleaned and oil-free
- Setting value for working pressure: Working pressure on the pressure reducer or filter pressure gauge set to max. 6.3 bar.
- Noise emission value: The A-rated noise level of this compressed-air tool is typically determined in accordance with EN 1265.
product Package Contents
- 1 air Sandblasting Gun
- 1 surface attachment
- 1 point attachment
- 1 edge attachment
- 1 interior corner attachment
- 1 collecting bag for sandblasting material
- 1 screw clip
- 2 kg blasting medium
- 1 set of operating instructions
Product Usage Instructions
- Before using the product, please read and familiarize yourself with all operating and safety instructions provided in the set of operating instructions.
- Ensure that the air quality is cleaned and oil-free before using the product.
- Connect the nipple for air connection to a compressed air source.
- Fill the blasting medium container with blasting medium.
- Attach the desired attachment to the jet nozzle according to the surface to be sandblasted.
- Adjust the control dial to regulate the amount of blasting medium to be used.
- Aim the gun at the surface to be sandblasted and pull the trigger to start sandblasting.
- Use the collecting bag for sandblasting material to collect the spent blasting medium.
- After use, disconnect the air source and clean the gun thoroughly before storing it in a safe place.
AIR SANDBLASTING GUN
Translation of the original instructions
- Before reading, unfold the page containing the illustrations and familiarise yourself with all functions of the device.
Introduction
Congratulations on the purchase of your new appliance. You have selected a high-quality product. The operating instructions are part of this product. They contain important information about safety, usage and disposal. Before using the product, please familiarise yourself with all operating and safety instructions. Use the product only as described and for the range of applications speci-fied. Please also pass these operating instructions on to any future owner.
Intended use
The air sandblaster gun (hereinafter appliance) is designed for the removal of rust and paint from metal surfaces. Any other usage of or modification to the appliance is deemed to be improper and carries a significant risk of accidents. The manufac-turer accepts no responsibility for damage(s) resulting from improper usage. This appliance is intended for domestic use only.
Features



- Air sandblaster gun
- Nipple for air connection
- Trigger
- Collecting bag for sandblasting material Screw clamp
- Jet nozzle
- Control dial
- Blasting medium container
- Screw cap
- Surface attachment
- Point attachment
- Inner edge attachment
- Outer edge attachment
- Blasting medium
Package contents
- 1 air Sandblasting Gun
- 1 surface attachment
- 1 point attachment
- 1 edge attachment
- 1 interior corner attachment
- 1 collecting bag for sandblasting material 1 screw clip
- 2 kg blasting medium
- 1 set of operating instructions
Technical details
- 1Working pressure 6.3 bar
- Air consumption 320 l/min
- Tank capacity 900 ml
- Required air quality Cleaned and oil-free
- Setting value for working Working pressure on the pressure reducer or filter pressure gauge set to max. 6.3 bar.
Noise emission value
Noise measurement value determined in accordance with EN 1265. The A-rated noise level of this compressed-air tool is typically:
- Sound pressure level LpA = 84.4 dB (A)
- Uncertainty KpA = 3 dB (A)
- Sound power level LWA = 95.4 dB (A)
- Uncertainty KWA = 3 dB (A)
Wear hearing protection!
- Vibration emission value
Vibration values determined in accordance with
- EN ISO 20643: ah = ≤ 2.5 m/s2
- Uncertainty = 1.5 m/s2
WARNING!
- The vibration level specified in these instruc-tions has been measured in accordance with a standardised measuring procedure speci-fied in EN ISO 20643 and can be used to make equipment comparisons. The specified vibration emission value can also be used to make an initial exposure estimate. The vibration level varies in accordance with the use of the compressed air tool and may be higher than the value specified in these instructions in some cases. It is easy to under-estimate the vibration load if the compressed air tool is used regularly in a certain manner.
NOTE
- For an accurate estimate of the vibration load during a specific working period, the periods during which the appliance is switched off or is running but not actually being used must also be taken into consideration. This can significantly reduce the vibration load over the total working period.
General safety information
WARNING!
- Read all safety warnings and all instructions. Failure to follow the warnings and instructions may result in electric shock, fire and/or serious injury.
Save all warnings and instructions for future reference.
Workplace safety
- Keep work area clean and well lit. Cluttered or dark areas invite accidents.
- Do not operate power tools in explosive atmospheres, such as in the presence of flammable liquids, gases or dust. Appliance can create sparks which may ignite the dust or fumes.
- Keep children and bystanders away while operating a tool. Distractions can cause you to lose control.
Device-specific safety instructions for compressed air sandblasters
- Check the appliance for any possible defects before use. If the appliance exhibits any faults, it should not be used under any circumstances.
- Keep children and bystanders away while operating the tool. Distractions can cause you to lose control.
- RISK OF INJURY! MISUSE! Do not point the tool towards people or animals!

- RISK OF EXPLOSION! The compressed air sandblaster gun should not be used in areas with gas/open flames/fire/gas-operated water heaters.
- SMOKING PROHIBITED!
- Work only in sufficiently ventilated rooms.
- Do not use oxygen or any combustible gas as an energy source.
- Never exceed the maximum operating pressure of 6.3 bar.
WARNING!
- KICKBACK FORCES! At high working pressures, kickback can occur which can, under certain circumstances, lead to danger due to continuous loads.
- RISK OF INJURY! Disconnect the appliance from the compressed air source before starting any repairs or maintenance work and before transportation.
- RISK OF INJURY! Disconnect the appliance from the compressed air source before refilling the blasting medium.
NOTE
- Please heed the safety instructions provided by the manufacturer of the blasting medium.
- Use only materials that are suited for use in the compressed air sandblaster gun 1 . Do not use quartz sand. This can lead to a dangerous build-up of silicosis-inducing dust.
- Take steps to ensure that others are not incon-venienced (dust formation).
- Ensure that the blasting medium is collected so that it can be disposed of in an environmentally friendly manner.
- Do not remove any type plates. These contain important information for the safe operation of the appliance.
- If you are inexperienced with the appliance, seek training in how to use it safely.
WARNING! TOXIC DUST!
- Working with the tool can produce harmful/toxic dusts which represent a health hazard for the person operating the appliance and for anyone else in the vicinity.
CAUTION!
- Ensure that the appliance is disconnected from the air supply when not in use, when exchanging accessories or during repair work. The air hose should not be under pressure.
Operation
Mount the collecting bag for sandblasting material
- Use a screwdriver to attach the collecting 4 bag 5 to the appliance with the supplied screw clip .
Select and fitting attachments
- Start by selecting the appropriate attachment for the job at hand (10 ,11 ,12 ,13 ).
- Push the selected attachment firmly onto the jet 6 nozzle , ensuring that no air can escape from the sides.
Filling the blasting medium container
CAUTION!
- Before you open the screw cap 9 on the blasting medium container 8 , or make any other settings, the connection to the compressed air hose must be disconnected and all pressure completely discharged.
- Use only suitable blasting media 14 for your sandblasting work.
NOTE
- We recommend using a blasting medium (ground blast furnace slag) with a grain size of 0.2–0.8 mm and which has been shown not to cause silicosis.
- Please ensure that the blasting medium 14 is totally dry and not too coarse-grained.
NOTE
- The maximum grain size is 0.8 mm.
- Open the screw cap 9 on the blasting medium container 8 by turning it anticlockwise.
- Fill the required amount of blasting medium 14 into the blasting medium container 8.
- Ensure that you do not exceed the maximum fill level for the container of 900 ml.
- Afterwards, close the screw cap 9 on the blasting medium container 8 by turning it clockwise.
NOTE REGARDING THE BLASTING MEDIUM GRAIN SIZE
- The larger/coarser the grain size of the blasting medium used, the coarser the dirt that can be removed using it. The supplied material, on the other hand, is fine and thus more suitable for the removal of items such as paint or rust film. The fine material also causes less damage to the surfaces being treated, meaning a choice can be made regarding these. For coarse rust, for example, it is best to use a coarser-grained blasting medium which you can buy online (see section “Importer”) or in any good specialist retailer. Please observe the guidelines regarding maximum grain size.
Connecting the compressed air supply
NOTE
- The compressed air sandblaster gun 1 may only be operated on cleaned, condensate- and oil-free compressed air and may not exceed the maximum operating pressure of 6.3 bar at the appliance. To ensure that you can regulate the air pres-sure, the compressed air source should be equipped with a (filter) pressure reducer.
- Connect the compressed air sandblaster gun 1 to a suitable compressed air source by attaching the quick-connect coupling on the supply hose to the nipple 2 on the sandblaster gun 1 . The connection locks automatically.
NOTE
- Ensure that the control dial 7 is set to
before connecting the appliance to the compressed air source.
Using the compressed air sandblaster gun
- Carefully prepare the workpiece that is to be blasted. Clean it if necessary.
NOTE
- Layers of dust or fat will significantly impair the results.
- Carefully cover or mask everything that is not to be blasted.
- The distance between the attachment and the surface being worked plays an important role and should be kept as low as possible so that the blasting medium 14 can be collected by the collecting bag 4 .
- The nearer you are to the workpiece, the smaller the dispersion pattern and vice versa.
- Do a test run on an old workpiece to find out the correct distance/working pressure and avoid excessive reflection from your workpiece.
Switching on
- Set the control dial 7 to
open the air outlet. - Move the compressed air sandblaster 1 close to the area to be worked.
- Press the trigger 3 to start operating the compressed air sandblaster gun 1 .
Switching off
- Release the trigger 3 to switch off of the compressed air sandblaster gun 1.
- Set the control dial 7 to
close the air outlet. - Disconnect the appliance from the compressed air source after you finish work.
NOTE
- First detach the hose from the compressed air source before disconnecting the supply hose from the appliance. In this way, you avoid uncontrollable thrashing about of the supply hose.
Collecting bag for sandblasting material
NOTE
- Do not re-use surplus sand-blasting material from the collecting bag 4 .
- You can remove the surplus sand-blasting material which has collected in the collecting bag 4 via the zip fastener or use a screwdriver to undo the screw clamp 5 and remove the collecting bag 4 from the appliance.
Troubleshooting
| Fault/possible cause | Remedy |
| No material flow | |
| The air is not dry enough. | Install a water separator in your compressed air system. |
| Air pressure too low | Increase the output pressure of your compressor. |
| Attachment not sitting correctly | Ensure that the attach- ment is firmly on the appliance and that no air escapes at the sides. |
|
Blocked sand-blasting material pipes | Check that no lumps of sandblasting material are blocking the pipes. Preferably, use a blow- out gun to clean blocked pipes. (Wear safety goggles!) Also check the tank outlet opening. |
| Fault/possible cause | Remedy |
| Sand-blasting pattern not as expected | |
| The air is not dry enough. | Install a water separator in your compressed air system. |
| Sand-blasting material grain size not uniform | Replace sand-blasting material. |
| Sand-blasting material impure | Replace sand-blasting material |
| The attachment is worn | Replace the attachment |
| Other defects | |
| Please contact an expert or your retailer. | |
Maintenance and cleaning
WARNING! RISK OF INJURY! ALWAYS disconnect the appliance from the compressed air supply before cleaning it.
- Always clean the compressed air sandblaster gun 1 and the blasting medium container 8 immediately after completing your work. To do this, blow out the compressed air sandblaster gun 1 and the blasting medium container 8 with compressed air.
- Store the compressed air sandblaster gun 1 only in dry rooms.
Disposal
Do not dispose of power tools in your normal domestic waste! The adjacent symbol of a crossed-out dustbin means that this appliance is subject to Directive 2012/19/EU. This directive states that this appliance may not be disposed of in the normal household waste at the end of its useful life, but must be taken to specially set-up collection locations, recycling depots or disposal companies. The disposal is free of charge for the user. Protect the environment and dispose of this appliance properly.
- Your local community or municipal authorities can provide information on how to dispose of the worn-out product.
- The packaging is made from environ-mentally friendly material and can be disposed of at your local recycling plant.
- Dispose of the packaging in an environmentally friendly manner. Note the labelling on the packaging and separate the packaging material components for disposal if necessary. The pack-aging material is labelled with abbreviations (a) and numbers (b) with the following meanings: 1–7: plastics, 20–22: paper and cardboard, 80–98: composites.
Kompernass Handels GmbH warranty
Dear Customer,
This appliance has a 3-year warranty valid from the date of purchase. If this product has any faults, you, the buyer, have certain statutory rights. Your statu-tory rights are not restricted in any way by the warranty described below.
Warranty conditions
The warranty period starts on the date of purchase. Please keep your receipt in a safe place. This will be required as proof of purchase. If any material or manufacturing fault occurs within three years of the date of purchase of the product, we will either repair or replace the product for you or refund the purchase price (at our discretion). This warranty service requires that you present the defective appliance and the proof of purchase (receipt) within the three-year warranty period, along with a brief written description of the fault and of when it occurred. If the defect is covered by the warranty, your product will either be repaired or replaced by us. The repair or replacement of a product does not signify the beginning of a new warranty period.
Warranty period and statutory claims for defects
The warranty period is not prolonged by repairs effected under the warranty. This also applies to replaced and repaired components. Any damage and defects present at the time of purchase must be reported immediately after unpacking. Repairs carried out after expiry of the warranty period shall be subject to a fee.
Scope of the warranty
This appliance has been manufactured in accord-ance with strict quality guidelines and inspected meticulously prior to delivery. The warranty covers material faults or production faults. The warranty does not extend to product parts subject to normal wear and tear or to fragile parts which could be considered as consumable parts such as switches or parts made of glass. The warranty does not apply if the product has been damaged, improperly used or improperly maintained. The directions in the operating instruc-tions for the product regarding proper use of the product are to be strictly followed. Uses and actions that are discouraged in the operating instructions or which are warned against must be avoided. This product is intended solely for private use and not for commercial purposes. The warranty shall be deemed void in cases of misuse or improper handling, use of force and modifications / repairs which have not been carried out by one of our authorised Service centres.
The warranty period does not apply to
- Normal reduction of the battery capacity over time
- Commercial use of the product
- Damage to or alteration of the product by the customer
- Non-compliance with safety and maintenance instructions, operating errors
- Damage caused by natural hazards
Warranty claim procedure
To ensure quick processing of your case, please observe the following instructions:
- Please have the till receipt and the item number (IAN) 365028_2204 available as proof of purchase.
- You will find the item number on the type plate on the product, an engraving on the product, on the front page of the operating instructions (below left) or on the sticker on the rear or bottom of the product.
- If functional or other defects occur, please contact the service department listed either by telephone or by e-mail.
- You can return a defective product to us free of charge to the service address that will be provided to you. Ensure that you enclose the proof of purchase (till receipt) and information about what the defect is and when it occurred.
You can download these instructions along with many other manuals, product videos and installation software at www.lidl-service.com.

This QR code will take you directly to the Lidl service page (www.lidl-service.com) where you can open your operating instructions by entering the item number (IAN) 365028_2204.
Service
- Service Great Britain
- Tel.: 0800 404 7657
- E-Mail: [email protected]
- Service Cyprus
- Tel.: 8009 4241
- E-Mail: [email protected] IAN 365028_2204
Importer
Please note that the following address is not the service address. Please use the service address provided in the operating instructions. KOMPERNASS HANDELS GMBH BURGSTRASSE 21 44867 BOCHUM GERMANY www.kompernass.com
Translation of the original Conformity Declaration
We, KOMPERNASS HANDELS GMBH, documents officer: Mr. Semi Uguzlu, BURGSTR. 21,
44867 BOCHUM, Deutschland, hereby declare that this product complies with the following standards, normative documents and EC directives:
Machinery Directive
(2006/42/EC)
Applied harmonized standards
- EN 1248: 2001+A1
- EN ISO 4414: 2010
- EN ISO 12100:2010
- Type designation of machine: Air Sandblasting Gun PDSP 1000 E6
- Year of manufacture: 08–2022
- Serial number: IAN 365028_2204 Bochum, 25/07/2022 Semi Uguzlu – Quality Manager – The right to effect technical changes in the context of further development is reserved.




















