OUTDOOR ESSENTIALS 472544 Haven 4X4 Cedar Elevated Garden Planter

Product Information
The Haven 4×4 Cedar Elevated Garden Planter is a raised garden bed made from high-quality cedar wood. Its dimensions are 45-1/2 inches in length, 45-1/2 inches in width, and 31-3/4 inches in height. The planter comes with all the necessary parts for assembly, including long boards with cleats, legs, long filler strips, short filler strips, dovetailed long boards, notched bottom boards, vinyl caps, and screws. The planter is designed to provide a comfortable gardening experience and is suitable for planting vegetables, flowers, and herbs.
Product Usage Instructions
- Before assembly, ensure that you have the recommended items, including work gloves, safety glasses, landscape fabric, rubber mallet, power drill with a Phillips bit.
- Begin by snapping the filler strips (B/C) into the legs. The short filler strips (C) should face each other. Insert the filler strip at one end and continue pressing it in as you move up the post.
- If the assembled planter will be placed on soft ground, drive a screw (I) through each of the eight installed short filler strips (C).
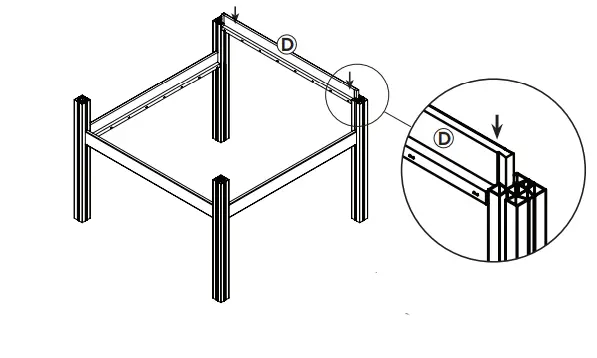
- Slide the four boards with cleats (D) into the legs as shown.
- Slide eight dovetailed boards (E) into the legs as shown.
- Place four bottom boards (F/G) on cleats for bracing as shown.
- Place remaining bottom boards (G) on the four bracing boards perpendicular to the bracing boards. Note that boards will have small gaps in between them to allow for drainage.
- Push vinyl caps (H) onto legs.
- Fill the planter with soil. You’ll need approximately 8.6 cubic feet of soil to fill the planter.
With these simple steps, your Haven 4×4 Cedar Elevated Garden Planter will be ready for use!
Parts List

RECOMMENDED ITEMS
- Work gloves
- Safety glasses
- Landscape fabric
- Rubber mallet
- Power drill with Phillips bit
Assembly
- Snap filler strips (B/C) into legs. Short fillers strips (C) should face eachother.

Tip: Begin by inserting the filler strip at one end and continue pressing in the filler strip as you continue up the post.

- If assembled planter will be placed on soft ground, drive a screw (I) through each of the 8 installed short filler strips (C).

- Slide the 4 boards with cleats (D) into the legs as shown.

- Slide 8 dovetailed boards (E) into legs as shown.

- Place four bottom boards (F/G) on cleats for bracing as shown

- Place remaining bottoms boards (G) on the four bracing boards, perpendicular to the bracing boards. Note: Boards will have small gaps in between them to allow for drainage

- Push vinyl caps (H) onto legs

TIPS:
- Place planter on level surface.
- Lay down landscape fabric (optional) prior to filling with soil.
- When adding soil, place evenly across the bed
You’ll need approximately 8.6 cubic feet of soil to fill the planter.
THE DIAGRAMS AND INSTRUCTIONS IN THIS BROCHURE ARE FOR ILLUSTRATION PURPOSES ONLY AND ARE NOT MEANT TO REPLACE A LICENSED PROFESSIONAL. ANY CONSTRUCTION OR USE OF THE PRODUCT MUST BE IN ACCORDANCE WITH ALL LOCAL ZONING AND/OR BUILDING CODES. THE CONSUMER ASSUMES ALL RISKS AND LIABILITY ASSOCIATED WITH THE CONSTRUCTION OR USE OF THIS PRODUCT. THE CONSUMER OR CONTRACTOR SHOULD TAKE ALL NECESSARY STEPS TO ENSURE THE SAFETY OF EVERYONE INVOLVED IN THE PROJECT, INCLUDING, BUT NOT LIMITED TO, WEARING THE APPROPRIATE SAFETY EQUIPMENT. EXCEPT AS CONTAINED IN THE WRITTEN LIMITED WARRANTY, THE WARRANTOR DOES NOT PROVIDE ANY OTHER WARRANTY, EITHER EXPRESS OR IMPLIED, AND SHALL NOT BE LIABLE FOR ANY DAMAGES, INCLUDING CONSEQUENTIAL DAMAGES
©2022 UFP Retail Solutions, LLC. Outdoor Essentials is a registered trademark of UFP Industries, Inc.
All rights reserved. 2801 E. Beltline NE, Grand Rapids, MI 49525 | (844) 529-5882
OutdoorEssentialProducts.com













