AudioControl ACR-3 Remote for Audio Control Processors

REMOTE LEVEL CONTROL
- Placement And Mounting of Optional Dash Remote:
The dash control may be mounted under the dash using its own bracket or through a custom hole in the dash. It should be within reach of the driver and in a spot where the LED is plainly visible. - Bracket Installation:
The dash control mounts with two screws, which attach to the underside of the dashboard. Slide under the dash and place the dash control in its mounting position, mark the two mounting holes, drill pilot holes, and secure with two screws. - Custom Installation:
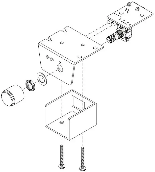
For that custom, finished look, the dash control can be flush mounted directly on the dashboard (or anywhere else). Referencing the drawing right, disassemble the dash control from the mounting bracket. Drill a 9/32” (7 mm) hole in the dashboard for the control along with a 3/32” (2.3 mm) hole for the lock tab and a 1/8” (3 mm) hole(s) for the LED holder. Reassemble the dash control components on the dashboard.

Available Models
- ACR1 COMPATIBLE WITH LCZi™, LCOi™, LC7i™, Overdrive™ Plus, Matrix™ Plus, 6XS, The Epicenter®, LC-4.800m
- AGR2 COMPATIBLE WITH LCO-1™ The Epicenter® Plus
- ACR3 COMPATIBLE WITH DQ-61™M, DQDX™, LC8i™M DM-608™, DM-810™, D-4.800 ™
22410 70th Ave West | Mountlake Terrace, WA 98043 USA Phone 425-775-8461 | Fax 425-778-3166 www.audiocontrol.com
FEATURES
- With the use of this wired remote (ACR-3), you are able to simply change the input source, modify the volume of the auxiliary input, and alter the output level of channel 4 of the AudiControl LC8i, which is typically used for a subwoofer. It is possible to attach the remote under the dashboard using the bracket that is supplied with the unit; alternatively, the bracket can be removed, and the remote’s knob and LED can be mounted under the dashboard in a manner that is more aesthetically pleasing to the driver. The auxiliary input can be activated by pressing the knob.
- Appropriate for use with:
DM-608, DM81 digital signal processors, the LC8i 8-channel line converter, the DQ-61 factory sound processor, the DQDX digital signal processor, the D-4.800 4-channel amp with DSP, the D-6.1200 6-channel amp and DSP, and The Epicenter Amplifiers. - Mounting Alternatives:
The dashboard control can be attached to the underside of the dashboard using either the bracket that comes with it or a bespoke hold that is installed in the dashboard. It ought to be within easy reach of the driver and located in a place where the driver can easily see the LED. - Installation of the Bracket:
The underside of the dashboard serves as the attachment point for the two screws that hold the dash control in place. Slide under the dashboard and mount the dashboard control by first marking the two mounting holes, then drilling pilot holes, and finally securing it with two screws. - Installation Made to Order:
The dashboard control can be flush placed right on the dashboard (or anywhere else), giving the vehicle an individualized and finished appearance. Remove the dash control from its mounting bracket and disassemble it. To begin, dislodge the LED from its holder, then detach the circuit board and rotary control from the bracket they were attached to. Drill a hole measuring 9/32 inches for the control in the dashboard. Drill a hole measuring 1/8 inches for the lock tab. Drill a hole measuring 13/54 inches for the LED holder. Put back together the components that make up the dashboard’s control panel.
Note:
Products that are equipped with electrical plugs are suitable for use in the United States. Because power outlets and voltage levels vary from country to country, it is possible that you will need an adaptor or converter in order to use this device in your destination. Before making a purchase, you should make sure everything is compatible.
FREQUENTLY ASKED QUESTIONS
What is the AudioControl ACR-3 Remote?
The AudioControl ACR-3 Remote is a handheld remote control designed to operate AudioControl processors and audio equipment.
What is the purpose of the ACR-3 Remote?
The ACR-3 Remote allows users to conveniently control and adjust various parameters and settings of AudioControl processors.
What functions can be controlled using the ACR-3 Remote?
The ACR-3 Remote provides control over volume levels, input selection, tone adjustments, and other parameters based on the capabilities of the connected AudioControl processor.
How does the ACR-3 Remote connect to the AudioControl processor?
The ACR-3 Remote typically connects to the AudioControl processor using a standard 3.5mm cable.
Does the ACR-3 Remote require batteries?
Yes, the ACR-3 Remote is battery-powered and usually requires AAA batteries.
Are batteries included with the ACR-3 Remote?
The inclusion of batteries may vary, so it's recommended to check with the seller or AudioControl for specific details.
Does the ACR-3 Remote have an LCD screen?
Yes, the ACR-3 Remote features an LCD screen that displays information and settings during operation.
Can multiple ACR-3 Remotes be used with a single AudioControl processor?
In most cases, multiple ACR-3 Remotes can be used simultaneously with a single AudioControl processor, allowing for convenient control from different locations.
Does the ACR-3 Remote have a backlight?
Yes, the ACR-3 Remote usually features a backlight for enhanced visibility in low-light environments.
Can the ACR-3 Remote control multiple AudioControl processors?
The ACR-3 Remote is typically designed to control a single AudioControl processor at a time. However, multiple remotes can be used for the same processor.
Is the ACR-3 Remote programmable?
The ACR-3 Remote is pre-programmed to work with specific AudioControl processors and does not usually offer user-programmable functionality.
Does the ACR-3 Remote have a mute button?
Yes, the ACR-3 Remote often includes a dedicated mute button to quickly silence the audio.
Can the ACR-3 Remote adjust bass and treble settings?
Yes, the ACR-3 Remote usually allows users to adjust bass and treble settings if the connected AudioControl processor supports those adjustments.
Does the ACR-3 Remote have a range limitation?
The effective range of the ACR-3 Remote can vary depending on environmental factors. It is generally designed for use within a reasonable distance from the AudioControl processor.
Can the ACR-3 Remote control source selection?
Yes, the ACR-3 Remote typically provides source selection capabilities to switch between different audio sources connected to the AudioControl processor.
DOWNLOAD THE PDF LINK: AudioControl ACR-3 Remote for Audio Control Processors User Guide


















