SIEMENS TH 193 HC Heating and Cooling Room Thermostat

| Free Energy Band® TH 193 HC Heating/Cooling Room Thermostat | ||
| Description | The TH 193 HC thermostats are proportional, dual output, dual setpoint, two-pipe (dual one-pipe, low air capacity) or three-pipe (dual two-pipe, high air capacity) sensor controllers. Each thermostat includes a wall mounting plate for installation in a variety of rough-in terminal boxes. Sensitive bimetals respond to temperature changes to modulate control air through a flapper nozzle. As the heating load decreases due to internal heat gains, a dead band of control minimizes energy consumption while the setpoint changes from 72°F (22°C) heating mode to 78°F (26°C) cooling mode. Two setpoint dials allow adjustment of the dead band 4°F (2°C) minimum. Air connections are made with 5/32-inch (4 mm) O.D. plastic tubing, directly to the thermostat chassis for retrofit applications or with plug-in adapters (provided with the TH 192 rough-in terminal box or optional accessories), which slide into the wall mounting plate. | |
| Optional Design Features | · Fixed temperature limit stops meet government specifications. · Metal covers available in standard configurations with Desert Beige finish. · Competitor adapter mounting kits available. | |
| Application | TH 193 HC thermostats control space temperature and take advantage of the dead band to “float” room temperature between heating and cooling modes while maintaining energy management (maximum economy) and occupancy comfort. TH 193 HC thermostats control valve and damper actuators in building applications that require early morning heat and afternoon cooling.
Use TH 193 HC two-pipe (dual one-pipe) thermostats with external restrictors (20 scim, 5.4 ml/sec) where a limited air capacity operates a single valve and/or actuator. Use TH 193 HC three-pipe (dual two-pipe) thermostats where multiple valves and actuators, used with or without high/low limiting controls, require higher air capacities. The thermostats are available with covers that conceal or expose the setpoint adjustment dials.
Figure 1. Typical TH 193 HC Thermostat Application. | |
| Piping | ![]() Figure 2. TH 193 HC Thermostat Dual One-Pipe Connections. |
|
| Product Numbers and Ordering Information Chassis | See Table 1 for product number and ordering information on TH 193 HC thermostat chassis. 1. Does the application require a one-pipe or two-pipe connection? a. One-pipe thermostats are low air capacity devices and have only one port connection (R1). This application requires an external restrictor. b. Two-pipe thermostats are high air capacity devices for controlling two or more terminal devices such as damper actuators or valves. This application requires two port connections: supply (S) and return (R1). |
| 2. Is a Fahrenheit or Celsius scale required? 3. Is the heating control direct or reverse acting? 4. Is the cooling control direct or reverse acting? |
| Chassis with Wall Plate | ||||
| Connection Type | Setpoint Adjustment | Fahrenheit | Celsius | |
| Heating DA | Heating RA | Heating DA | ||
| One-Pipe Relay |
Exposed at bottom of cover | Cooling DA 193-211 | Cooling DA 193-213 | — |
| Cooling RA 193-212 | — | — | ||
| Two-Pipe Relay | Cooling DA 193-215 | Cooling DA 193-217 | Cooling DA 193-235 | |
| Cooling RA 193-216 | Cooling RA 193-218 | — | ||
| Covers | See Table 2 for product number and ordering information on TH 193 HC thermostat covers. 1. Is the setpoint adjustment exposed for customer adjustment or concealed to prevent alteration of setting? 2. Is the thermometer exposed or concealed? 3. Is the setpoint indication exposed or concealed behind cover? 4. Is a plastic or zinc cast metal cover required? a. Plastic covers order 192-2XX. b. Metal covers order 192-3XX. 5. Is finish of cover standard or optional? The standard finish color for plastic and metal covers is Desert Beige. · For white plastic cover option, add “W” suffix code to cover part number (for example: 192-256W). See Table 2. |
|
Setpoint Adjustment | Cover Configuration | Cover Part Number 2 | ||
| Thermometer | Setpoint Indicator | Standard Plastic Cover Desert Beige | Optional Metal Cover Desert Beige | |
| Concealed | Concealed | Concealed | 192-256 | 192-356 |
| Exposed | 192-254 | 192-354 | ||
| Key1 | Concealed | Exposed | 192-267 | — |
| Exposed | 192-268 | — | ||
| Exposed | Concealed | 192-258 | — | |
| Exposed | 192-260 | — | ||
- Key setpoint adjustment cover is required for all thermostat chassis with optional 1/2-inch setpoint adjustment knobs (for replacement only).
- To order a plastic cover with white finish, add the “W” suffix

| Specifications | Control action See Table 1 Operating ranges 45°F to 85°F (7°C to 30°C) Supply air pressure, maximum 30 psi (207 kPa) Normal air supply pressure 18 to 25 psi (124 to 172 kPa) Sensitivity adjustment 1 to 4 psi/°F (12 to 50 kPa/°C) Nominal air consumption One-pipe 25 scim (6.8 ml/sec) per side Two-pipe 230 scim (63 ml/sec) per side Temperature response 0.1°F (0.06°C) Temperature Storage temperature -10°C to 140°F (-23°C to 60°C) Ambient operating temperature 40°F to 140°F (4°C to 60°C) Dial graduations 2°F (1°C) Factory settings Calibration @ 72°F (22°C) 7.5 psi (52 kPa) Sensitivity 2.5 psi/°F (31 kPa/°C) Limit stop adjustment 45°F and 85°F (7°C and 30°C) Standard cover Cycolac, Desert Beige Shipping weight 0.7 lbs. (0.3 kg) Dimensions See Figure 10 | |
| Accessories | See the following Technical Bulletins for information on accessories: | |
| Technical Bulletin TB 237 Terminal Kits TB 214 Adapter Kits TB 193 Guard Kit TB 241 Test Head Kit TB 167 Restrictors | Document Number 155-244P25 155-231P25 155-222P25 155-255P25 155-213 | |
| Operation | The TH 193 HC thermostat is a two-temperature thermostat with two separate outputs. In direct acting control, an increase in temperature increases the control air pressure and a decrease in temperature decreases the control pressure. In reverse acting control, an increase in temperature decreases the control air pressure and a decrease in temperature increases the control pressure.
The TH 193 HC provides two separate bimetal elements; one for heating mode and the other for cooling mode. The setpoint of the two elements determines the window of the dead band. A 4°F (2°C) minimum dead band is standard, where the heating mode setpoint is 72°F (22°C) and the cooling mode setpoint is 78°F (26°C). Figure 4 shows a typical application with setpoints adjusted for a 6°F (4°C) dead band.
Figure 5 shows direct acting TH 193 HC output characteristics. As heating increases, the output pressure increases from 0 to 15 psi (0 to 103 kPa). A field adjustable dead band occurs. When the dead band elapses, cooling occurs from 0 to 15 psi (0 to 103 kPa). | |

TH 193 HC Thermostat Details
Thermometer Calibration
- Use a test thermometer to read the current room temperature.
- Place a screwdriver in the center of the thermometer assembly (Figure 6). Carefully rotate the thermometer assembly until the pointer tip indicates the correct room temperature.
NOTE: Avoid breathing on or touching the bimetal spiral since this influences the temperature reading.
| Limit Stop Adjustment | Thermostat limit stops define the minimum and maximum thermostat setpoints. The limit stops engage in the setpoint cam gear teeth and cause interference between the setpoint cam gear and the adjustment knob gear.
To change limit stop settings, use needle nose pliers to pull the limit stop between the setpoint cam gear teeth. Rotate limit stop to its new position. Do not pull limit stop any more than necessary to clear the gear teeth. Changing the limit stop position one gear tooth changes the limit stop setting by 1-1/3°F (0.7°C). | ![]() Figure 7. TH 193 HC Limit Stop Adjustments. | ||
| Sensitivity Adjustment | To change thermostat sensitivity, use a flat-blade screwdriver to carefully move the sensitivity slide to the desired position as follows: | ![]()
Figure 8. TH 193 HC Sensitivity Adjustment. | ||
| Graduation closest to the rigid end of the bimetal element 4 psi/°F (50 kPa/°C) | Graduation closest to the minimum (MIN) end of the bimetal element 1 psi/°F (12 kPa/°C) | |||
| NOTE: If the thermostat sensitivity is adjusted, the thermostat must be recalibrated. | ||||
| Thermostat Calibration | The thermostat is factory-calibrated to a control pressure of 7.5 psi (52 kPa) when the setpoint and the ambient temperature are both at 72°F (22°C). The factory sensitivity setting is approximately 2.5 psi/°F (31 kPa/°C). No adjustments are required if these settings are appropriate for the application. If the thermostat has been tampered with, the sensitivity changed, or is out of adjustment, use the following steps to recalibrate the instrument. | |||
| Cooling Calibration |
| |
Step 1 —![]() Remove the cover using the 192-632 Calibration Tool. Verify that the room temperature is between 70°F and 80°F (2°C and 27°C). | Step 2 —![]() Verify that the supply pressure is 18 to 25 psi (124 to 172 kPa). Set the cooling dial to room temperature by turning the exposed adjustment knob or using a hex key as shown. Allow the thermostat to stand for about five minutes to adjust to the new setting. | |
Step 3 —![]() Moisten the needle and insert the 192-633 Test Gauge and needle adapter in the test port. Read the control pressure. | Step 4 —![]() If the control pressure does not read 7 to 8 psi (48 to 55 kPa), turn the calibration screw using the 192-632 Calibration Tool or a 1/8-inch (3.2 mm) wrench until the pressure is 7 to 8 psi (48 to 55 kPa). The sensing element is now in calibration and the setpoint can be changed to the desired room temperature. |
| Heating Calibration | ||
Step 1 —![]() If not already done, remove the cover using the 192-632 Calibration Tool. Verify that the room temperature is between 70°F and 80°F (21°C and 27°C). | Step 2 —![]() Verify that the supply pressure is 25 psi (172 kPa). Set the heating dial to room temperature by turning the exposed adjustment knob or using a hex key as shown. Allow the thermostat to stand for about five minutes to adjust to the new setting. | |
Step 3 —![]() Moisten the needle and insert the 192-633 Test Gauge and needle adapter in the test port. Read the control pressure. | Step 4 —![]() If the control pressure does not read 7 to 8 psi (48 to 55 kPa), turn the calibration screw using the 192-632 Calibration Tool or 1/8-inch (3.2 mm) wrench until pressure is 7 to 8 psi (48 to 55 kPa). The sensing element is now in calibration and the setpoint can be changed to the desired room temperature. |
| Troubleshooting | Before troubleshooting thermostat (see Table 4), ensure that there is clean, dry supply air at 18 psi (124 kPa) minimum. Use the test probe gauge and needle adapter to measure the control pressure at the thermostat test port.
The output pressure test port is accessible without removing the thermostat cover through the 8th opening from the top. For one-pipe thermostats, the port is on the right side. For two-pipe thermostats, the port is on the left side.
Figure 9. Accessing the Output Pressure Test Port. | |
| CAUTION: If you use the wrong test port, thermostat damage can occur and result in replacement of the device. | ||
| Problem | Check | Cause | Action |
| Control pressure stays at approximately zero | Air supply | Low supply pressure | As required |
| Nozzle or flapper | Dirt on nozzle or flapper | Clean nozzle or replace thermostat | |
| Restrictor | Clogged restrictor | Replace restrictor | |
| Calibration | Out of calibration | Recalibrate | |
| Control pressure stays at approximately supply pressure | Nozzle | Clogged nozzle | Clean nozzle or replace thermostat |
| Calibration | Dirt on either supply or exhaust valve seat | Alternately close and open nozzle by gently pushing down the bimetal | |
| Excessive air leakage from exhaust port on left side of thermostat | Supply and return line connection | Connections are interchanged or connection to port is incorrect | As required |
| Chassis Tube Connector and Restrictor Plate Replacement | 1. Remove the thermostat chassis from the wall. The terminal does not have a ball check valve. NOTE: You must close off the supply air. For example, use a connector with the supply air terminal plugged. 2. Remove the two Phillips head screws from the connector on the back of the thermostat chassis. Pull the connector out of the recess. If necessary, pry the connector loose with a screwdriver, but be careful not to damage restrictor plate and gasket. 3. Remove the gasket from under the connector. Remove the restrictor. Remove the second gasket from under the restrictor. 4. Use Restrictor Replacement Kit 192-321 to replace the gasket, restrictor, and second gasket. NOTE: The restrictor plate is keyed to ensure proper orientation during installation. 5. Remove the filters from the existing connector and insert in the new connector. Or, if the filters are dirty, use Restrictor Replacement Kit 192-321 to replace the filters. 6. Use Chassis Tube Connector Replacement Kit 192-525 to replace the connector and mounting screws. |
Service Parts
The following chart lists accessory parts and tools available for thermostat service
| Description | Part Number |
| Dial thermometer (-40°F to 140°F, -40°C to 60°C) with pocket case | 141-0573 |
| Basic pneumatic calibration kit with thermometer, gauge, squeeze bulb, fittings, and case | 832-177 |
| Test head kit | 832-179 |
| Calibration tools | 832-178 |
| Test probe to check pressure with cover on | |
| Needle probe with 1-1/2″ diameter gauge 0 to 30 psig (0 to 200 kPa) and calibration/cover wrench | 192-633 |
| Needle probe, no gauge (package of five) | 192-759 |
| 1-1/2″ diameter compound gauge, 0 to 30 psig/0 to 200 kPa, back connected 1/8″ NPT male | 142-0473 |
| 1-1/2″ diameter compound gauge, 0 to 30 psig/0 to 200 kPa, bottom connected 1/8″ NPT male. Replacement for use with 192-633 | 142-0476 |
| Chassis tube connector replacement kit with mounting screws (material for 10 thermostats included) | 192-525 |
| Restrictor plate replacement kit with filters and gasket (material for 10 thermostats included) | 192-321 |
| Plug-in adapters for quick thermostat removal | |
| Straight, blue (package of 20) | 192-485 |
| Straight, white (package of 20) | 192-486 |
| Compression ring (package of 100) | 141-388 |
| Elbow (provides quick return for wall surface mounting), blue (package of 20) | 192-487 |
| Elbow (provides quick return for wall surface mounting), white (package of 20) | 192-488 |
| 20 scim (5.4 ml/sec) restrictors for one-pipe systems (package of 5). (1/4″, 6.4 mm, O.D. plastic barb unless noted.) | |
| Brass coupling, 1/8″ NPT (one only). | 184-040 |
| Coupling | 184-116 |
| Tee | 184-113 |
| Pre-piped dual tee for dual one-pipe systems | 184-130 |
| Description | Part Number | ||
| Replacement thermometer kits, brown (packages of 5) |
192-786 | ||
| Scale Range | Thermostat Model | ||
| 45°F to 85°F | ![]()
| ||
| 10°C to 30°C | 192-785 | ||
| Replacement setpoint dials (packages of 10) | 192-779 | ||
| °F, Direct Acting | Right Side | ![]() | |
| °F, Reverse Acting | 192-780 | ||
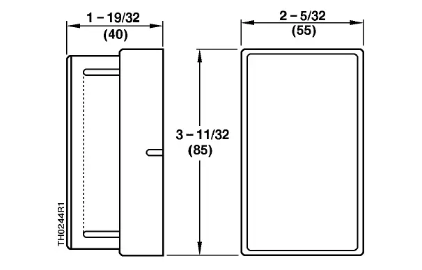
| Dimensions |
Figure 10. TH 193 HC Dimensions in Inches (Millimeters). |
Information in this publication is based on current specifications. The company reserves the right to make changes in specifications and models as design improvements are introduced. POWERS and Free Energy Band are trademarks of Siemens Industry, Inc. Other product or company names mentioned herein may be the trademarks of their respective owners. © 2018-2022 Siemens Industry, Inc. Siemens Industry, Inc. Smart Infrastructure 1000 Deerfield Parkway Buffalo Grove, IL 60089 USA
Your feedback is important to us. If you have comments about this document, please send them to
[email protected]
Document No. 155-068P25 Printed in the USA



































