77D20
Wall Street II Pen Kit with Stylus
01/31/13 Revised
Product #153686, 153687
General Instructions
Whether you’re a novice turner or a pro, you’ll find these projects are all quick and easy to make. Using cut-offs and shorts, the type everyone saves but doesn’t know what to do with, you’ll findyourself making handsome, custom woodturning projects which are great for gifts or for sale. The following is general in nature, please refer to the instruction sheet on the opposite side for specific dimensions and sizes for your project.
- Cutting Blanks
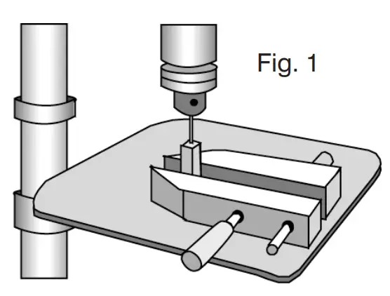
Cut wooden blanks to the size specified in the enclosed instructions. For your safety, be sure that the blanks are solid and have no holes, checks or other defects. - Drilling Blanks
Center and bore a hole through your stock as specified in the Project Instructions on the opposite side. The center of the blank can be located at the intersection of diagonal lines, drawn from opposite corners. All holes are easily drilled using a clamp and a drill press (FIG. 1). Before you start to drill be sure that your blank is at 90° to the drill presstable. You may also chuck and drill the stock on your lathe.
- Gluing Blanks to Tubes
Rough the brass tube’s surface with a fine grit sandpaper and use a quick drying CA type glue to secure the brass tubes into the blanks. Rotate the tube as you insert it to ensure maximum surface coverage of glue. If you find that CA glue is not providing adequate bonding, an alternative is any two part epoxy type glue. - Sanding Blanks to Length
Using a belt or disc sander, square the ends of the brass tube/wood blank. The blank should be flush with the brass tube on both ends. Care should be taken to not sand into the tubes (FIG. 2). If any excess glue remains inside the tubes it should be gently scraped out.
- Mandrel Preparation
Woodcraft’s new Pen and Pencil Maker’s Mandrel system allows you to turn a variety of small projects without requiring the purchase of a unique, special mandrel each time. The only item you will need to purchase to turn new projects is the specially designed bushing set for the project of your choice. The mandrel is provided with either a #1 Morse Taper (141468) or a #2 Morse Taper (141469). If you prefer to use the mandrel in a three jaw chuck, simply loosen the Morse Taper set screw and slide the Morse Taper off of the shaft. Now the mandrel shaft may be mounted directly in your three jaw chuck. With the bushing sets specified on the project instruction sheet, mount your wood blanks and bushings as depicted for each project. With the mandrel mounted in your lathe, slide a bushing onto the mandrel, followed by a wood blank and a second bushing or spacer as required, followed by the second wood blank if required. With the wood blanks installed on the mandrel, secure the wood blank/ bushing assembly using the washer and retaining nut provided. Bring up a live center in the tailstock to support the threaded end of the mandrel. Do not over tighten the tailstock or the mandrel will flex and bend causing oval shaped turnings.
- Turning Blanks
Place your tool rest parallel and as close as possible to the blank. Rotate the blank by hand to ensure it will not touch the tool rest when the lathe is turned on. Using a turning speed of approximately 1,000 RPM begin turning the blank to a diameter slightly larger than the bushings. You can work the stock down to just short of the desired design or diameter by carefully scraping or sanding. - Finishing the Blanks
Blanks can be finished like any other wood project. Using a fine grit sandpaper, sand the blank until it is flush with the bushing for parallel sided projects or until the desired profile is obtained for custom projects. Use a wood filler, if desired, to fill any grain openings in the blank. Final sanding with a wet/dry paper will create a blank which is glass smooth. Tip: We have found that use of Micro Mesh sanding paper (11L61) after wet/dry sanding creates a perfect, glass smooth finish. - Assembly
All parts should fit together as depicted in the parts diagram for each project. In some cases a pen press or machinists vise will be needed to completely press the parts together. Protect all plated parts from scratching by covering them with a cloth or thin pad before placing them in a vise. Proceed carefully, many of the kit components are delicate and uneven or excessive pressure will cause permanent damage.- Cutting Blanks
Cut blank to 3 /4” x 3 /4” x 23 /8” long. - Drilling Blanks
Using a 27 /64” bit, drill a hole lengthwise through the center of the blank. - Gluing Blanks to Tubes See General Instructions for details.
- Sanding Blanks to Length
See General Instructions for details. - Mandrel Preparation
This pen kit requires only two bushings. The bushings are identical. Slide one bushing on the mandrel with the lip of the bushing facing toward the tail stock, followed by the blank/tube assembly. Make sure the lip of the bushing seats inside the brass tube. Place the second bushing on the mandrel lip end first, again make sure the bushing lip seats inside the brass tube. If you are not using the Woodcraft Professional Mandrel you may have to make a wooden spacer to fill any gap on your mandrel between the bushings and blank assembly and threaded portion of your mandrel. Secure the bushings and blank assembly (and spacer if necessary) with the mandrel washer and nut. - Turning the Blanks
Turn the blank to match the outside diameter of the bushing. - Finishing the Barrels
See General Instructions for details. - Assembly
Before beginning the assembly process you will need to create a sacrificial press block to assemble this kit. Using a scrap piece of 3 /4” stock cut a 1” x 1” block and bore a 5 /16” diameter hole through the center of the block, once completed you can now begin the assembly process. Slide the Spring (E) onto the end of the Ink Refill (F) and insert the spring end into the Nib Assembly (A). Slide the Twist Mechanism (C) into the Nib Assembly (A). Using the press block (G) created earlier, place the tip of the Soft Touch Stylus portion of the Cap/Pocket Clip Assembly (D) into the hole, and press into one end of the finished Blank/Tube (B) to form the pen body. Slide the open end of the pen body over the Twist Mechanism (C) and onto the shoulder of the Nib Assembly (A) until it seats against the center ring. To advance the ink refill turn the body clockwise, to retract the ink refill turn the body counter clockwise.
- Cutting Blanks

Woodcraft, 406 Airport Industrial Park, P.O. Box 1686,
Parkersburg, WV 26102-1686
© 2013 by Woodcraft Supply, LLC. “Helping You Make Wood Work” is a registered trademark of Woodcraft Supply, LLC.




















