
COLO LIGHT
USER GUIDE
Cololight PRO
Specification
| Light module size | 86*74.5*30.5mm |
| Controller size | 46.5*30.5*28mm |
| USB cable length | lm |
| Material | ABS+PC |
| Communication protocol | Wi-Fi (only 2.4GHz) |
| Input | DC 5V 2A |
| Operating temperature | -5~45°C |
| Operating humidity | 5~90% |
| Certification | CE/FCC/WEEE |
Part

- Light module:
light module can present different light effects when connected with the controller. - PRO controller:
source of power supply and light effect signal. - Connector:
used to transmit power and light effect signals. - Fixator:
used to fix light modules but cannot transmit power or lamp effect signals. - Plastic base:
used to fix Cololight on the desktop. - Stone base:
Special base in gift box used to fix Cololight on the desktop.
Notes:
- The following parts are compatible with Cololight PLUS and Cololight PRO: light module, connector, and fixator; Other parts are not universal.
- The quantity of each part can refer to the package.
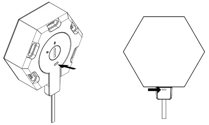
Operation

- Click the button: power on / switch light effect (5 affects built in)
- Long press the button for 2 seconds: power off
- Stick the hole with the pin for 5 seconds, and the green indicator flashes: enter pairing mode (follow the pairing steps on the app)
Ps: advanced functions such as dynamic effect DIY, selected color and music visualizer DIY need to be connected to Cololight app
Installation
3 modules:
![]() | ![]() |
| 1. Embed the PRO controller in the light module. | 2. Connect two light modules with a connector. |
![]() | ![]() |
| 3. Connect all 3 light modules and make sure they are connected with connectors. | 4. Fix the Cololight on the base, and connect the USB, completed! |
6 modules:
![]() | ![]() |
| 1. Embed the PRO controller in the light module. | 2. Connect two light modules with a connector. |
![]() | ![]() |
| 3. Connect all 3 light modules and make sure they are connected with connectors. | 4. Where the light module is not fixed stably, it shall be reinforced with a fixator. |
![]() | ![]() |
| 5. Insert the USB port into the hole of the stone base from above. | 6. Fix the Cololight on the base, and connect the USB, completed! |
APP

- Download Cololight app: scan QR code, or visit the iOS App Store/Google Play and search for Cololight.
- Or enter the following address in the mobile browser: http://www.ilifesmart.com/getapp_qlgp.html
- After confirming the connection of Wi-Fi, pair the Cololight PLUS to the app, according to the instructions on the app.
- Please check the FAQ in the guide and Cololight app if you have any problems before contacting us.
FAQ
- Why are some of the light modules not on after connection?
- Wrong connection:
Confirm that each light module is connected through “connector” rather than “fixator” to obtain power and lamp effect signals. - Incorrect app settings:
After connecting the app, confirm that the distance set in distance setting is greater than the number of currently connected modules. - Connect loose:
Reinforce the connector or install again and fix the shape with fixators.
- Wrong connection:
- Why can’t Cololight connect to app?
- Cololight not found:
Place the mobile phone close to the Cololight. Follow the guides on the app, long press the reset button in the hole of PLUS controller with a pin when the indicator flashes green, then you can find the Cololight. - Wi-Fi not found:
Make sure the mobile phone is connected to 2.4GHz Wi-Fi (which can be confirmed with the help of Wi-Fi detection APP), and make sure that the Wi-Fi is stable where you place the Cololight. - Unable to connect Wi-Fi:
Determine the model of the purchased product, and select the corresponding product model in the app
- Cololight not found:
- What if there is flickering or uneven brightness when connecting too many light modules?
The controller is supposed to connect with 5V 2A adapter, which can support 10 light modules; If there are more than 10, you can purchase auxiliary power cables from us and connect them to any light module interface. - How do I install these lights on my wall?
If you buy wall accessories, you can use screws to fix the wall accessories to the wall, and then fix the light modules to the wall accessories; If there are no wall accessories or you don’t want to punch holes, it is recommended to use 3M tape or blue butyl tape to stick the lights to the wall.
Ps: if you have any other doubts, you can check-in “help – FAQs” in the app, or consult customer service.
Warning
This product contains small parts that can cause danger if swallowed by children.
This product is not suitable for children under the age of 3.
Children under the age of 14 must use this product under parental supervision.
![]()
| Part Name | Grey plastic shell | Code Label | IC Body | |
| Harmful Substance | (Cd) | |||
| (Pb) | ||||
| (Hg) | ||||
| (Cr) | ||||
| (Br) | ||||
This table is made according to IEC 62321 test standard.
: Expresses that this hazardous substance in all homogeneous materials of this part is within limit range.
: Expresses that this hazardous substance in at least one homogeneous material of this part is above limit.
Warranty Description
Thank you for purchasing the product. In order to protect your rights, please read the following content carefully: The warranty period of our company’s products is one year from the date of purchase or longer if local laws impose a longer minimum term, in which case the minimum term is the warranty period. During the warranty period, any faults caused by the product itself or for quality problems that arise under normal usage, LifeSmart will provide a free replacement.
Attention
The following conditions are not covered by the warranty:
- Product failure or damage caused by installation, use, and maintenance that is not in accordance with the product instructions;
- Products beyond the warranty period;
- Products that have the barcode tampered with or removed;
- Devices that have been tampered with or customized outside of LifeSmart Terms of Service as on the LifeSmart App and website;
- User-caused damage, such as inappropriate voltage input, high temperature, accidental spillage, physical damage, etc;
- Product failure or damage caused by force majeure such as earthquakes, fires, or floods;
- Product failure or damage caused by other problems except the product itself.
Support
- User support e-mail address
[email protected] - User support phone
400-886-1911 - Manufacturer
Hangzhou LifeSmart Technology Co., Ltd. - Address
22th Floor, Yuesheng International CENTER, 518 Pinglan
Road, Xiaoshan District, Hangzhou, Zhejiang, China
![]()
Declaration
Cololight is a trademark of Hangzhou LifeSmart Technology Co., Ltd. As for the trademarks, product logos and product names from other companies presented within this guide, they are possessed by their own right holders. Without our written permission, no entity or individual shall extract, copy or disseminate in part or the whole of the guide contents in any form. Due to product version upgrades or other reasons, content of this guide may change. Our company reserves the right to change the contents of this guide without any notice.
This guide is used only for instructional purposes. We strive to provide accurate information in this guide, but we are not able to ensure that the content of this guide is current. Statements, information and advice in this guide do not constitute any expressed or implied assurance.
FCC STATEMENT
This device complies with Part 15 of the FCC Rules. Operation is subject to the following two conditions:
- This device may not cause harmful interference.
- This device must accept any interference received, including interference that may cause undesired operation.
Note: The grantee is not responsible for any changes or modifications not expressly approved by the party responsible for compliance. Such modifications could void the user’ s authority to operate the equipment.
Note: This equipment has been tested and found to comply with the limits for a Class B digital device, pursuant to part 15 of the FCC Rules. These limits are designed to provide reasonable protection against harmful interference in a residential installation.
This equipment generates uses and can radiate radio frequency energy and, if not installed and used in accordance with the instructions, many cause harmful interference to radio communications. However, there is no guarantee that interference will not occur in a particular installation. If this equipment does cause harmful interference to radio or television reception, which can be determined by turning the equipment off and on, the user is encouraged to try to correct the interference by one or more of the following measures:
- Reorient or relocate the receiving antenna.
- Increase the separation between the equipment and receiver.
- Connect the equipment into an outlet on a circuit different from that to which the receiver is connected.
- Consult the dealer or an experienced radio/TV techinician for help.
RF EXPOSURE STATEMENT
This equipment complies with FCC radiation exposure limits set forth for an uncontrolled environment. This equipment should be installed and operated with minimum distance of 20 cm between the radiator and your body.
DECLARATION OF CONFORMITY
Hereby, LifeSmart declares that the radio equipment type Cololight is in comliance with Directive 2014/53/EU. The full text of the EU declaration of conformity is available at the following internet address: http://global.ilifesmart.com/ce/docs/

Notice: This device may be used in each member state in EU.
WEEE Directive Compliance
Device labelled with this symbol should not be disposed with other household wastes. It shall be handed over to the applicable collection point for the recycling of waste electrical and electronic equipment.
![]()
Copyright © 2021 LifeSmart Inc. All Rights Reserved.
P/N: 88004770 A5

























