TOSHIBA EC0P045C-S Countertop Microwave Oven Instruction Manual
Read these instructions carefully before using your microwave oven, and keep it carefully.
If you follow the instructions, your oven will provide you with many years of good service.
SAVE THESE INSTRUCTIONS CAREFULLY
PRECAUTIONS TO AVOID POSSIBLE EXPOSURE TO EXCESSIVE MICROWAVE ENERGY
- Do not attempt to operate this oven with the door open since open door operation can result in harmful exposure to microwave energy. It is important not to defeat or tamper with the safety interlocks.
- Do not place any object between the oven front face and the door or allows soil or cleaner residue to accumulate on sealing surfaces.
- Do not operate the oven if it is damaged. It is particularly important that the oven door close properly and that there is no damage to the:
- DOOR (bent)
- HINGES AND LATCHES (broken or loosened)
- DOOR SEALS AND SEALING SURFACES
- The oven should not be adjusted or repaired by anyone except properly qualified service personnel.
Specifications
| Model: | EC0P045C-S |
| Rated Voltage: | 120V-60Hz |
| Rated Input Power (Microwave): | 1600W |
| Rated Output Power (Microwave): | 1000W |
| Rated Input Power (Grill): | 1000W |
| Rated Input Power (Convection): | 1800W |
When using electrical appliances basic safety precautions should be followed, including the following:
WARNING – To reduce the risk of burns, electric shock, fire, injury to persons or exposure to excessive microwave energy:
- Read all instructions before using the appliance.
- Read and follow the specific: ” PRECAUTIONS TO AVOID POSSIBLE EXPOSURE TO EXCESSIVE MICROWAVE ENERGY” .
- This appliance must be grounded. Connect only to properly grounded outlet. See “GROUNDING INSTRUCTIONS”.
- Install or locate this appliance only in accordance with the provided installation instructions.
- Some products such as whole eggs and sealed containers – for example, closed glass jars – are able to explode and should not be heated in this oven.
- Use this appliance only for its intended use as described in the manual. Do not use corrosive chemicals or vapors in this appliance. This type of oven is specifically designed to heat, cook or dry food. It is not designed for industrial or laboratory use.
- As with any appliance, close supervision is necessary when used by children.
- do not operate this appliance if it has a damaged cord or plug, if it is not working properly, or if it has been damaged or dropped.
- this appliance should be serviced only by qualified service personnel. Contact nearest authorized service facility for examination, repair, or adjustment.
- Do not cover or block any openings on the appliance.
- Do not store this appliance outdoors. Do not use this product near water for example, near a kitchen sink, in a wet basement, near a swimming pool, or similar location.
- Do not immerse cord or plug in water.
- Keep cord away from heated surface.
- Do not let cord hang over edge of table or counter.
- When cleaning surfaces of door and oven that comes together on closing the door, use only mild, nonabrasive soaps, or detergent applied with a sponge or soft cloth.
- To reduce the risk of fire in the oven cavity:
- Do not overcook food. Carefully attend appliance when paper, plastic, or other combustible materials are placed inside the oven to facilitate cooking.
- Remove wire twist-ties from paper or plastic bag before placing bag in oven.
- If material inside of the oven ignite, keep oven door closed, turn oven off, and disconnect the power cord, or shut off power at the fuse or circuit breaker panel.
- Do not use the cavity for storage purposes. Do not leave paper products, cooking utensils, or food in the cavity when not in use.
- Liquids, such as water, coffee, or tea are able to be overheated beyond the boiling point without appearing to be boiling. Visible bubbling or boiling when the container is removed from the microwave oven is not always present. THIS COULD RESULT IN VERY HOT LIQUID SUDDENLY BOILING OVER WHEN THE CONTAINER IS DISTURBED OR A UTENSIL IS INSERTED INTO THE LIQUID.
To reduce the risk of injury to persons:- Do not overheat the liquid.
- Stir the liquid both before and halfway through heating it.
- Do not use straight-sided containers with narrow necks.
- after heating, allow the container to stand in the microwave oven for a short time before removing the container.
- Use extreme care when inserting a spoon or other utensil into the container.
- Oversized food or oversized metal utensils should not be inserted in a microwave/ toaster oven as they may create a fire or risk of electric shock.
- Do not clean with metal scouring pads. Pieces can burn off the pad and touch electrical parts involving a risk of electric shock.
- Do not use paper products when appliance is operated in the toaster mode.
- Do not store any materials, other than manufacturer’s recommended accessories, in this oven when not in use.
- Do not cover racks or any other part of the oven with metal foil. This will cause overheating of the oven.
SAVE THESE INSTRUCTIONS
GROUNDING INSTRUCTIONS
This appliance must be grounded. In the event of an electrical short circuit, grounding reduces the risk of electric shock by providing an escape wire for the electric current. This appliance is equipped with a cord having a grounding wire with a grounding plug. The plug must be plugged into an outlet that is properly installed and grounded.
WARNING – Improper use of the grounding can result in a risk of electric shock. Consult a qualified electrician or serviceman if the grounding instructions are not completely understood, or if doubt exists as to whether the appliance is properly grounded. If it is necessary to use an extension cord, use only a 3-wire extension cord that has a 3-blade grounded plug, and 3-slot receptacle that will accept the plug on the appliance. The marked rating of the extension cord shall be equal to or greater than the electrical rating of the appliance.
DANGER – Electric Shock Hazard
Touching some of the internal components can cause serious personal injury or death.
Do not disassemble this appliance.
WARNING – Electric Shock Hazard
Improper use of the grounding can result in electric shock. Do not plug into an outlet until appliance is properly installed and grounded.
- A short power-supply cord is provided to reduce the risks resulting from becoming entangled in or tripping over a longer cord.
- Longer cord sets or extension cords are available and may be used if care is exercised in their use.
- If a long cord or extension cord is used:
- The marked electrical rating of the cord set or extension cord should be at least as great as the electrical rating of the appliance.
- The extension cord must be a grounding-type 3-wire cord.
- The longer cord should be arranged so that it will not drape over the counter top or tabletop where it can be pulled on by children or tripped over unintentionally.
RADIO INTERFERENCE
- Operation of the microwave oven may cause interference to your radio, TV or similar equipment.
- When there is interference, it may be reduced or eliminated by taking the following measures:
- Clean door and sealing surface of the oven
- Reorient the receiving antenna of radio or television.
- Relocate the microwave oven with respect to the receiver.
- Move the microwave oven away from the receiver.
- Plug the microwave oven into a different outlet so that microwave oven and receiver are on different branch circuits.
This device complies with part 18 of the FCC Rules.
UTENSILS
CAUTION – Personal Injury Hazard
Tightly-closed utensils could explode. Closed containers should be opened and plastic pouches should be pierced before cooking.
See the instructions on “Materials you can use in microwave oven or to be avoided in microwave oven.”
There may be certain non-metallic utensils that are not safe to use for microwaving.
If in doubt, you can test the utensil in question following the procedure below
Utensil Test:
- Fill a microwave-safe container with 1 cup of cold water (250ml) along with the utensil in question.
- Cook on maximum power for 1 minute.
- Carefully feel the utensil. If the empty utensil is warm, do not use it for microwave cooking.
- Do not exceed 1 minute cooking time.
Materials you can use in microwave oven
| Utensils | Remarks |
| Browning dish | Follow manufacturer* instructions. The bottom of browning dish must be at least 3/16 inch (5mm) above the turntable. Incorrect usage may cause the turntable to break |
| Dinnerware | Microwave-safe only. Follow manufacturer’s instructions. Do not use cracked or chipped dishes |
| Glass jars | Always remove lid. Use only to heat food until just warm. Most glass jars are not heat resistant and may break. |
| Glassware | Heat-resistant oven glassware only. Make sure there is no metallic trim. Do not use cracked or chipped dishes |
| Oven cooking bags | Follow manufacturer* instructions. Do not close with metal tie. Make slits to allow steam to escape. |
| Paper plates and cups | Use for short term cooking/warming only. Do not leave oven unattended while cooking |
| Paper towels | Use to cover food for reheating and absorbing fat. Use with supervision for a short-term cooking only. |
| Parchment paper | Use as a cover to prevent splattering or a wrap for steaming. |
| Plastic | Microwave-safe only. Follow the manufacturer* instructions. Should be labeled “Microwave Safe”. Some plastic containers soften, as the food inside gets hot. “Boiling bags” and tightly closed plastic bags should be slit, pierced or vented as directed by package. |
| Plastic wrap | Microwave-safe only. Use to cover food during cooking to retain moisture. Do not allow plastic wrap to touch food. |
| Thermometers | Microwave-safe only (meat and candy thermometers). |
| Wax paper | Use as a cover to prevent splattering and retain moisture. |
Materials to be avoided in microwave oven
| Utensils | Remarks |
| Aluminum tray | May cause arcing. Transfer food into microwave-safe dish. |
| Food carton with metal handle | May cause arcing. Transfer food into microwave-safe dish. |
| Metal or metal trimmed utensils | Metal shields the food from microwave energy. Metal trim may cause arcing |
| Metal twist ties | May cause arcing and could cause a fire in the oven. |
| Paper bags | May cause a fire in the oven. |
| Plastic foam | Plastic foam may melt or contaminate the liquid inside when exposed to high temperature. |
| Wood | Wood will dry out when used in the microwave oven and may split or crack. |
SETTING UP YOUR OVEN
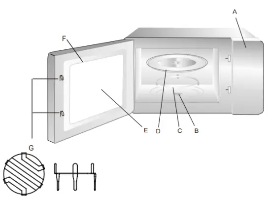
Names of Oven Parts and Accessories
Remove the oven and all materials from the carton and oven cavity.
Your oven comes with the following accessories:
- Glass tray 1
- Turntable ring assembly 1
- Instruction Manual 1

Grill Rack( Cannot be used in microwave function and must be placed on the glass tray )
A) Control panel
B) Turntable shaft
C) Turntable ring assembly
D) Glass tray
E) Observation window
F) Door assembly
G) Safety interlock system
Turntable Installation 
Countertop Installation
Remove all packing material and accessories. Examine the oven for any damage such as dents or broken door. Do not install if oven is damaged.
Cabinet: Remove any protective film found on the microwave oven cabinet surface. Do not remove the light brown Mica cover that is attached to the oven cavity to protect the magnetron.
Installation
- Select a level surface that provide enough open space for the intake and/or outlet vents.

A minimum clearance of 3.0 inches (7.5cm) is required between the oven and any adjacent walls. One side must be open.- Leave a minimum clearance of 12 inches (30cm) above the oven.
- Do not remove the legs from the bottom of the oven.
- Blocking the intake and/or outlet openings can damage the oven.
- Place the oven as far away from radios and TV as possible. Operation of microwave oven may cause interference to your radio or TV reception
- Plug your oven into a standard household outlet. Be sure the voltage and the frequency is the same as the voltage and the frequency on the rating label.
WARNING: Do not install oven over a range cooktop or other heat-producing appliance. If installed near or over a heat source, the oven could be damaged and the warranty would be void.
Control panel

OPERATION
Power Level
power levels are available.
| Level | 10 | 9 | 8 | 7 | 6 | 5 | 4 | 3 | 2 | 1 | 0 |
| Power | 100% | 90% | 80% | 70% | 60% | 50% | 40% | 30% | 20% | 10% | 0% |
| Display | PL10 | PL9 | PL8 | PL7 | PL6 | PL5 | PL4 | PL3 | PL2 | PL1 | PL0 |
Setting the Clock
After connecting the oven to the power, “00:00” shows on the display. Buzzer sounds.
- Press “TIMER/CLOCK” twice and then “00:00” will display.
- Press number keys to enter the time. Example: To set the clock to 1:00, please press “10min,1min,1sec” in turn. (number keys:10min,1min ,1sec)
- Press “TIMER/CLOCK” to confirm. The clock is set.
- If the entered number is not within the range of 1:00-12:59, the setting is invalid.
Notes
- In the process of clock setting, if the “STOP/CANCLE” button is pressed or if there is no operation within 1 minute, the oven will return to the former setting.
- To reset the clock, please repeat step 1 to step 3.
Setting the Kitchen Timer
- Press “TIMER/CLOCK” once and then “00:00” will display.
- Press number keys to enter the desired time. The maximum time value is “99:50”.
- Press “ START/+30SEC.” to confirm. The timer starts counting down.
Note: The kitchen timer is a timer and the “Clock” icon will not display on the screen.
Microwave Cooking
- Press “MICRO” and then “PL10” will display.
- Press number keys to enter cooking time. The maximum time value is “99:50”.
- Press “Power Level” and then press number keys to adjust the power level.
The 11 power levels are available. - Press “START/+30SEC.” to start cooking.
Example: to cook the food with PL50 for 1 minutes
a. Press “MICRO”.
b. Press “10min”, “1min”, “1sec” in order.
c. Press “MICRO ”or“-” ,“+” to select PL50.
d. Press “START/+30SEC.” to start cooking.
Notes:
- Opening the oven door or pressing “Stop/Cancel” during operation will interrupt the current mode.
- If “PL0” is selected, the oven will work with fan for no power. You can use this level to remove the odor of the oven.
- The power level can be changed during operation. Press “MICRO”” and then the current power will flash for 3 seconds. Press number keys to change the power. The oven will work with the selected power.
Air fry
- Press “ AIRFRY” and then “A-1” will display.
- Press “MICRO” or“-” ,“+” to select menu from A-1 to A-10 .
- Press “START/+30SEC.” to start cooking.
Air fry menu
| Menu | Display | Weight | Cooking time |
| Frozen French fries | A-1 | 11Oz | 23:00 |
| Frozen onion Rings | A-2 | 10Oz | 15:00 |
| Frozen chicken nuggets | A-3 | 12Oz | 18:00 |
| Frozen chicken wings | A-4 | 18Oz | 25:00 |
| Frozen chicken legs | A-5 | 27Oz | 32:00 |
| Chicken Tenders | A-6 | 11Oz | 18:00 |
| Frozen Shrimps | A-7 | 9Oz | 18:00 |
| Fish Sticks | A-8 | 12Oz | 18:00 |
| Spring Rolls | A-9 | 11Oz | 16:00 |
| Mozzrarella Sticks | A-10 | 11Oz | 18:00 |
Notes
- The default power level is convection.
- Use the accessory pan and rack. Put the food into the pan and place the pan on the rack. The height of rack is 40mm.
- Buzzer will sound during cooking to remind you to turn over the food.
preheating Conv.( Bake)
- In standby mode press ” Conv” the oven will display “100 “.
- Press “Conv.” or ” – ” ,” + ” to adjust the temperature100 to 425.
- Press ” START/+30SEC. ” to start preheat .
- When the preheat timer arrives, the Buzzer will beep two times.
- Press “10min”, “1min”, “1sec”to adjust the cooking time.
- Press ” START/+30SEC. ” to start cook .
- When the cooking timer arrives, the Buzzer will beep five times and return to standby. Displays the current time if the clock was previously set.
Conv.( Bake)
- n standby mode press ” Conv” the oven will display “100 “.
- Press “Conv.” or ” – ” ,” + ” to adjust the temperature100 to 425.
- Press “10min”, “1min”, “1sec”to adjust the cooking time.
- Press ” START/+30SEC. ” to start cook .
- When the cooking timer arrives, the Buzzer will beep five times and return to standby. Displays the current time if the clock was previously set.
Broil
- In standby mode press ” broil” the oven will display “0:00 “.
- Press “10min”, “1min”, “1sec”to adjust the cooking time.
- Press ” START/+30SEC. ” to start cook .
- When the cooking timer arrives, the Buzzer will beep five times and return to standby. Displays the current time if the clock was previously set.
Combination Cooking
- Press “Combo” once or twice and then “C-1”, “C-2” will display.
- Press “10min”, “1min”, “1sec” to enter cooking time. The maximum time value is “99:50” .
- Press “START/+30SEC.” to start cooking.
| Function | Display | Microwave Power | Grill Power |
| Combi. 1 | C-1 | 55% | 45% |
| Combi. 2 | C-2 | 36% | 64% |
Defrost by Time
- Press “Defrost” and then the screen will display “0:00”.
- Press “10min”, “1min”, “1sec” set the desired defrost time. The range of time is 0:10-95:50.
- Press “START/+30SEC.” to start defrosting.
- Once defrosting has finished, the buzzer will sound five times.
Multi-Stage Cooking
Notes
- Two cooking stages can be set in multi-stage cooking.
- If you set defrost function, it will work automatically in the first stage.
- Kitchen Timer, Auto menu cannot be set as one of the multi-stage.
Example: defrost food for 1 minutes and then cook with 80% microwave power for 1 minutes.
- Press “ Defrost” and then the screen will display “0:00”.
- Press “10min”, “1min”, “1sec” to set the desired defrost time of 1 minutes.
- Press “MICRO” and then “PL10” will display.
- Press “8” to set the power level of P80.
- Press “10min”, “1min”, “1sec”to set the cooking time.
- Press “START/+30SEC.” to start cooking.
Speedy Cooking
- In waiting state, press “START/+30SEC.” to cook food with 100% power level for 30 seconds. Each press on the same key can increase 30 seconds and the maximum time value is 95:50 .
- In waiting state, pressing “10min”, “1min”, “1sec” let you quickly select a cooking time “10min”, “1min”, “1sec” . Then you can press “START/+30SEC.” to increase the cooking time. The maximum time value is 95:50 .
ECO Function
To enter ECO mode:
In waiting state, press “ECO” once within one second. The oven will enter waiting state.
To cancel ECO mode:
In non-ECO mode, the display always turn on. If the oven door is opened,
the furnace lights also turn on.
Lock Function for Children
You can use this function to prevent children from accidentally turning the oven on.
To activate the lock:
In waiting state, press and hold “STOP/CANCLE” for three seconds. A long beep sounds and the locked icon will display.
To deactivate the lock:
In locked state, press and hold “STOP/CANCLE” for three seconds. A long beep sounds.
Potato
- Press “Potato” repeatedly to select the number of potato. “1”, “2” and “3” will display in order.
Example: press “Potato” once and then “1” displays
“1”: one potato (approximate 8 Oz )
“2”: two potatoes (approximate 16 Oz )
“3”: three potatoes (approximate 24 Oz ) - Press “START/+30SEC. ” to start cooking
Pizza
- In waiting state, press “Pizza” repeatedly to select the weight of pizza you want. “4” ,“8” and “14” Oz will display in order.
Example: press “Pizza” once and then “4” displays - Press “START/+30SEC.” to start cooking.
Reheat
- In waiting state, press “Reheat” repeatedly to select the weight of reheat you want. “9” ,“12” and “18” Oz will display in order.
Example: press “Pizza” once and then “4” displays - Press “START/+30SEC.” to start cooking.
Popcorn
- In waiting state, press “Popcorn” repeatedly to select the weight of popcorn you want. “3.2” and “3.5” Oz will display in order.
Example: press “Popcorn” once and then “3.2” displays - Press “START/+30SEC.” to start cooking
Auto menu
- Press“ Menu” and then “C-1” will flash.
- Press “Menu” or“-” ,“+” to select the menu you need. 6 auto menus are available.
- Press “START/+30SEC.” to confirm.
- Press “Menu” to set the weight of food.
- Press “START/+30SEC.” to start cooking.
Auto Menu Chart
| Menu | Weight | Display |
| C-1 Beverage | 4Oz | 4 |
| 8Oz | 8 | |
| 12Oz | 12 | |
| C-2 Soup | 8Oz | 8 |
| 12Oz | 12 | |
| 24Oz | 24 | |
| C-3 Vegetables | 4Oz | 4 |
| 8Oz | 8 | |
| 16Oz | 16 | |
| A-4 Oatmeal | 28Oz | 28 |
| A-5 Cake | 16Oz | 16 |
| A-6 Cookie | 7.5Oz | 7.5 |
Inquiring Function
- If the clock has been set, the current time will display for three seconds by pressing “TIMER/CLOCK” in the cooking state.
- In the microwave cooking state, press “MICRO” to inquire the power level. It will display for three seconds. In multi-stage cooking state, the inquiring way can be done by the same way as above.
MAINTENANCE
Troubleshooting
Check your problem by using the chart below and try the solutions for each problem. If the microwave oven still does not work properly, contact the nearest authorized service center.
| TROUBLE | POSSIBLE CAUSE | POSSIBLE REMEDY |
| Oven will not start |
|
|
| Arcing or sparking |
|
|
|
Unevenly cooked |
|
|
| foods |
| |
| Overcooked foods | Cooking time, power level is not suitable. | Use correct cooking time, power level. |
|
Undercooked foods |
|
|
|
Improper defrosting |
|
|



















