Avanti MO7081MW Countertop Microwave Oven
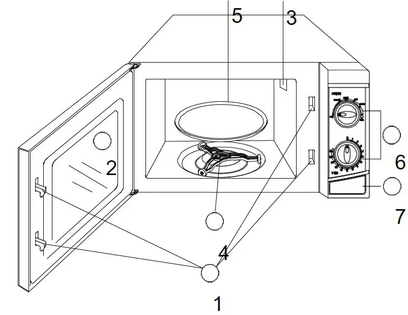
Parts and Features 
- Door Safety Lock System
- Oven Window3
- Oven Air Vent
- Turntable Roller Assembly
- Glass Tray
- Control Panel
- Door Release Button
Important Safety Instructions
- Read all instructions before using the appliance.
- Precautions to avoid possible exposure to excessive microwave energy.
- This appliance must be grounded. Connect only to properly grounded outlet. See GROUNDING INSTRUCTIONS.
- Install or locate the appliance only in accordance with the provided installation instructions.
- When cleaning surfaces of door and oven that comes together on the closing door, use only mild, nonabrasive soaps, or detergents applied with a sponge or soft cloth.
- Liquids, such as water, coffee, or tea are able to be overheated beyond the boiling point without appearing to be boiling. Visible bubbling or boiling when the container is removed from the microwave oven is not always present. THIS COULD RESULT IN VERY HOT LIQUIDS SUDDENLY BOILING OVER WHEN THE CONTAINER IS DISTURBED OR A UTENSIL IS INSERTED INTO THE LIQUID.
- Some products such as whole eggs and sealed containers-(for example, closed glass jars) may explode and should not be heated in microwave oven.
- Use this microwave oven only for its intended use as described in this manual.
- Do not use corrosive chemicals or vapors in this appliance. This type of oven is specifically designed to heat, cook, or dry food. It is not designed for industrial or laboratory use.
- As with any appliance, close supervision is necessary when used by children.
- Do not operate this microwave oven if it has a damaged cord or plug, if it is not working properly, or if it has been damaged or dropped.
- To reduce the risk of fire in the oven cavity:
- Do not overcook food. Carefully attend microwave oven if paper, plastic, or combustible materials are placed inside the oven to facilitate cooking.
- Remove wire twist-ties from bags before placing bag in oven.
- If materials inside the oven should ignite, keep oven door closed, turn oven off at the wall switch, or shut off power at the fuse or circuit breaker panel.
- Do not use the cavity for storage purposes. Do not leave paper products, cooking utensils, or food in the cavity when not in use.
- Only qualified service personnel should service this appliance. Contact the nearest authorized service facility for examination, repair or adjustment.
- Do not cover or block any openings on this appliance.
- Do not use this microwave oven to heat corrosive chemicals (for example, sulfides and chlorides). Vapors from such corrosive chemicals may interact with the contact and springs of the safety interlock switches thereby rendering them inoperable.
- Do not immerse cord or plug in water.
- Keep cord away from heated surfaces.
- Do not let cord hang over edge of table or counter.
- Never clean appliance parts with flammable fluids. The fumes can create a fire hazard or explosion.
- Do not store or use gasoline or any other flammable vapors and liquids in the vicinity of this or any other appliance. The fumes can create a fire hazard or explosion.
INSTALLATION INSTRUCTIONS
BEFORE USING YOUR MICROWAVE OVEN
- Remove the exterior and interior packing.
- Check to be sure you have all of the following parts:
- Glass Tray
- Turntable Roller Assembly (Roller or Roller Ring)
- Instruction Manual
- Inspect the oven after unpacking for any visual damage such as:
- Misaligned Door
- Damaged Door
- Dents or Holes in Door Window and Screen
- Dents in Cavity
If any of the above is visible, DO NOT use the oven.
INSTALLATION OF YOUR MICROWAVE OVEN
- When positioning the microwave oven, it should be set on a flat, steady surface.
- Do not block air vents. If they are blocked during operation, the oven may overheat and eventually cause oven failure.
- Poor television reception and radio interference may result if the oven is located close to a TV, radio, antenna, or antenna wire. Position the oven as far from them as possible.
- Clean the interior surface with lukewarm water using a soft cloth.
- Keep the oven away from hot air, steam or splashing liquids when choosing a place to locate it, otherwise, the unit’s operation may be adversely affected, causing it to break down.
- Direct sunlight may affect the acrylic coating and heat sources may increase electrical consumption.
- Plug the appliance into an exclusive properly installed-grounded wall outlet. Do not under any circumstances cut or remove the third (ground) prong from the power cord. Any questions concerning power and or grounding should be directed toward a certified electrician or an authorized Avanti Products service center.
- DO NOT place anything on the top of the oven.
- Keep the oven at least 5 inches away from both sidewalls and away from rear wall to ensure proper ventilation.
- DO NOT remove the turn-table drive shaft.
SAFETY PRECAUTIONS
PRECAUTIONS TO AVOID POSSIBLE EXPOSURE TO EXCESSIVE MICROWAVE ENERGY
- Do not attempt to operate this oven with the door open since an open-door operation can result in harmful exposure to microwave energy. It is important not to defeat or tamper with the safety interlocks.
- Do not place any object between the oven front face and the door or allow soil or cleaner residue to accumulate on sealing surfaces.
- Do not operate the oven if it is damaged. It is particularly important that the oven door close properly and that there is no damage to the : (1) Door ( bent ), (2) Hinges and latches ( broken or loosened ), (3) Door seals and sealing surfaces.
- The oven should not be adjusted or repaired by anyone except properly qualified service personnel.
- DO NOT attempt to tamper with or make any adjustments or repairs to door, control panel or any other part of the oven. Do NOT remove outer panel from oven. Repairs should only be done by qualified service personnel.
- DO NOT operate the oven empty. The microwave energy will reflect continuously throughout the oven if no food or water is present to absorb energy.
- If a fire occurs in the oven, touch the START/STOP pad and LEAVE THE DOOR CLOSED. Disconnect the power cord, or shut off power at the fuse or circuit breaker panel.
- DO NOT attempt to dry clothes, newspapers or other materials in oven. They may catch on fire.
- DO NOT use recycled paper products, as they may contain impurities, which may cause sparks and/or fires when used.
- DO NOT hit or strike control panel. Damage to controls may occur.
- METAL CONTAINERS or dishes with metallic rims should not be used. Arcing may occur.
- METAL TWIST-TIES may not be used in the microwave oven.
- DO NOT use SEALED JARS or NARROW NECK bottles for cooking or reheating. They may shatter.
- DO NOT use CONVENTIONAL THERMOMETERS in the microwave oven. They may cause arcing. Use only those labeled “Microwave Safe” and follow all directions. Check the food in several places.
- Remove PLASTIC STORE WRAPS before cooking or defrosting in the oven.
RECOMMENDED - Microwave browning dish – Use to the brown the exterior of small items such as steaks, chops, or pancakes. Follow the directions provided with your browning dish.
- Microwaveable plastic wrap – Use to retain steam. Leave a small opening for some steam to escape and avoid placing it directly on the food.
- Paper towels and napkins – Use for short-term heating and covering; these absorb excess moisture and prevent splattering. Do not use recycled paper towels, which may contain metal and could ignite.
- Never use your microwave oven for HOME CANNING. The oven is not designed to permit proper canning. Improperly canned food may spoil and be dangerous to consume.
- COOKING TIMES are approximate. Factors that may affect cooking are starting temperature, altitude, volume, size and shape of food and utensils used. As you become familiar with the oven, you will be able to adjust for these factors.
- It is better to UNDERCOOK RATHER THAN OVERCOOK foods. If food is undercooked, it can always be returned to the oven for further cooking. If food is overcooked, nothing can be done. Always start with minimum cooking times.
- SMALL QUANTITIES of food or foods with LOW MOISTURE content can burn, dry out or catch on fire if cooked too long.
- DO NOT boil eggs in their shell. Pressure may build up and the eggs will explode.
- Potatoes, apples, egg yolks, whole acorn squash and sausage are examples of food with NONPOROUS SKINS. These must be pierced before cooking to prevent bursting.
- POPCORN must be popped in a microwave corn popper. Microwave popped corn produces a lower yield than conventional popping. DO NOT use oven for popcorn unless popped in a microwave-approved popcorn utensil or unless it’s commercially packaged and recommended especially for microwave ovens. DO NOT use oil unless specified by the manufacturer.
- DO NOT attempt to deep fat fry in your oven.
- HEATED LIQUIDS can ERUPT if not mixed with air. DO NOT heat liquids in your microwave oven without first stirring.
ELECTRICAL CONNECTION
GROUNDING INSTRUCTIONS
This appliance must be grounded. In the event of an electrical short circuit, grounding reduces the risk of electrical shock by providing an escape wire for the electric current. This appliance is equipped with a cord having a grounding wire with a grounding plug. The plug must be inserted into an outlet that is properly installed and grounded.
Warning
Improper use of the grounded plug can result in the risk of electrical shock. Consult a qualified electrician or service person if the grounding instructions are not completely understood, or if doubt exists as to whether the appliance is properly grounded. The power cord of this appliance is equipped with a three-prong plug that mates with standard three-prong wall outlets to minimize the possibility of electrical shock. Do not under any circumstances cut or remove the third ground prong from the power cord supplied. Do not use the extension cord. If the power supply cord is too short, have a qualified electrician or serviceman to install an outlet near the appliance. This appliance requires a standard 115/120 Volts A.C. ~/60Hz electrical outlet with a three-prong ground.
The cord should be secured behind the appliance and not left exposed or dangling to prevent accidental injury. 
OPERATING YOUR MICROWAVE OVEN
Although your oven is provided with safety features, it is important to observe the following:
- It is important not to defeat or tamper with safety interlocks.
- Do not place any object between the oven front face and the door or allow residue to accumulate on sealing surfaces. Wipe the sealing area frequently with a mild detergent, rinse and wipe dry. Never use abrasive powders or pads.
- When opened, the door must not be subjected to strain, for example, a child hanging on an opened door or any load which could cause the oven to fall forward and cause injury and damage the door. Do not operate the oven if it is damaged, until it has been repaired by a qualified service person. It is particularly important that the oven closes properly and that there is no damage to the:
- Door (bent)
- Hinges and latches (broken or loosened)
- Door seals and sealing surfaces
- The oven should not be adjusted or repaired by anyone except properly qualified service personnel.
CONTROL PANEL 
OPERATION INSTRUCTIONS UNIT SPECIFICATIONS
The control panel of your unit consists of two function selector knobs.
POWER SELECTOR KNOB
Use this knob to select the power level at which you want to cook. Power levels increase when turning the knob in a clockwise direction as well as decrease when turned in a counter clockwise direction. Power levels are represented in the table below:
| Power Setting | Power Output |
| LOW | 17% |
| DEFROST | 40% |
| M. LOW | 48% |
| MED | 66% |
| M. HIGH | 85% |
| HIGH | 100% |
TIME SELECTOR KNOB
Use this knob to select the appropriate cooking time desired. Cooking times can be set up to a maximum of 30 minutes per cooking session.
NOTE:
As soon as the timer is turned, the oven will start cooking. When setting the timer for less than two (2) minutes, turn the timer knob past the two (2) minute mark and then return to the correct time. When the cooking time has elapsed, a bell will ring and the unit will turn off automatically.
CAUTION:
ALWAYS RETURN THE TIMER BACK TO THE ZERO POSITION, when food is removed from the oven prior to the end of the cooking cycle or when the oven is not in use.
Unit Specifications
| Power Consumption: | 120V ~ 60Hz, 1200W |
| Output (Watts): | 700W |
| Operation Frequency: | 2450MHz |
| Unit Dimensions (HxWxD): | 9 5/ x 17 13/ x 14 3/ 8 16 8 |
| Oven Cavity Dimensions (HxWxD): | 8 11/ x 12 3/ x 12 3/ 16 8 8 |
| Oven Capacity: | 0.7 cu. Ft. |
| Cooking Uniformity: | Turntable |
| Net Weight: | Approx. 23 Lbs |
OPERATING YOUR MICROWAVE (MODELS: MO7081MW / MO7082MB ONLY)
- Plug the power supply cord into a standard 3-pronged 15 Amp, 120V AC 60 Hz.
- After placing the food in a suitable container, open the oven door and put it on the glass tray. The glass tray and roller guide must always be in place during cooking.
- Shut the door. Make sure that it is firmly closed.
- The oven door can be opened at any time during operation by pushing the door release button. The oven will automatically shut off. To restart the oven, close the door and the oven will start automatically.
- The oven will automatically cook or defrost at the power as set on the Temperature Control Selector.
- The oven will not start cooking until the door is completely closed and the cooking time has been set on the Time Selector.
OPERATION
- Turn the POWER Selector to the desired power level.
- Turn the TIME Selector to the desired cooking time (0 – 30 Min).
NOTE:
As soon as the timer is turned, the oven will start cooking. When setting the timer for less than two (2) minutes, turn the timer knob past the two (2) minute mark and then return to the correct time. When the cooking time has elapsed, a bell will ring and the unit will turn off automatically.
CAUTION:
ALWAYS RETURN THE TIMER BACK TO THE ZERO POSITION, when food is removed from the oven prior to the end of the cooking cycle or when the oven is not in use.
COOKING TECHNIQUES
Your microwave makes cooking easier than conventional cooking, provided you keep these considerations in mind.
Stirring
Stir foods such as casseroles and vegetables while cooking to distribute heat evenly. Food at the outside of the dish absorbs more energy and heats more quickly, so stir from the outside to the center. The oven will turn off when you open the door to stir your food.
Arrangement
Arrange unevenly shaped foods, such as chicken pieces or chops, with the thicker, meatier parts toward the outside of the turntable where they receive more microwave energy. To prevent overcooking, place delicate areas, such as asparagus tips, toward the center of the turntable.
Turning
Turn foods over midway through cooking to expose all parts to microwave energy. This is especially important with large foods such as roasts.
Standing
Foods cooked in the microwave build up internal heat and continue to cook for a few minutes after heating stops. Let foods stand to complete cooking, especially foods such as cakes and whole vegetables. Roasts need this time to complete cooking in the center without overcooking the outer areas. All liquids, such as soup or hot chocolate, should be shaken or stirred when cooking is complete. Let liquids stand a moment before serving. When heating baby food, stir well at removal and test the temperature before serving.
Adding Moisture
Microwave energy is attracted to water molecules. Food that is uneven in moisture content should be covered or allowed to stand so that the heat disperses evenly. Add a small amount of water to dry food to help them cook.
CARE AND MAINTENANCE
CLEANING YOUR APPLIANCE
- Turn the oven off and remove the power plug from the wall socket before cleaning.
- Keep the inside of the oven clean. When food splatters or spilled liquids adhere to oven walls, wipe with a damp cloth. Mild detergent may be used if the oven gets very dirty. The use of harsh detergent or abrasives is not recommended.
- The outside oven surfaces should be cleaned with a damp cloth. To prevent damage to the operating parts inside the oven, water should not be allowed to seep into the ventilation openings.
- Do not allow the control panel to become wet. Clean with a soft, damp cloth. Do not use detergents, abrasives or spray-on cleaners on the control panel. When cleaning the control Panel, leave the oven door open to prevent the oven from accidentally turning on.
- If steam accumulates inside or around the outside of the oven door, wipe with a soft cloth. This may occur when the microwave oven is operated under high humidity conditions and in no way indicates a malfunction of the unit.
- It is occasionally necessary to remove the glass tray for cleaning. Wash the tray in warm sudsy water or in a dishwasher.
- The roller ring and oven cavity floor should be cleaned regularly to avoid excessive noise. Simply wipe the bottom surface of the oven with mild detergent, water or window cleaner and dry. The roller ring may be washed in mild sudsy water or dishwasher. Cooking vapors collect during repeated use but in no way affect the bottom surface or roller ring wheels. When removing the roller ring from the cavity floor for cleaning, be sure to replace it in the proper position.
- Remove odors from your oven by combining a cup of water with the juice and skin of one lemon in a deep microwavable bowl. Microwave for 5 minutes. Wipe thoroughly and dry with a soft cloth.
- When it becomes necessary to replace the oven light, please consult a dealer to have it replaced.
PROBLEMS WITH YOUR APPLIANCE?
You can solve many common appliance problems easily, saving you the cost of a possible service call. Try the suggestions below to see if you can solve the problem before calling the servicer.
TROUBLESHOOTING GUIDE
| PROBLEM | POSSIBLE CAUSE |
| Appliance does not operate. | Not plugged in. The circuit breaker tripped or a blown fuse. The door is not closed properly. |
| The light does not work. | The circuit breaker tripped or a blown fuse. The appliance is unplugged. The bulb has burned out (see the maintenance section for the replacement procedure). |
| Vibrations. | Check to assure that the appliance is level. |
SERVICE FOR YOUR APPLIANCE
We are proud of our customer service organization and the network of professional service technicians that provide service on your Avanti appliances. With the purchase of your Avanti appliance, you can be confident that if you ever need additional information or assistance, the Avanti Products Customer Service team will be here for you. Just call us toll-free.
AVANTI PRODUCTS CUSTOMER SERVICES
| Product Information 800-323-5029 | Whatever your questions are about our products, help is available. |
| Part Orders 800-220-5570 | You may order parts and accessories that will be delivered directly to your home by personal check, money order, Master Card, or Visa. |
| In-Home Repair Service 800-220-5570 | An Avanti Products authorized service center will provide expert repair service, scheduled at a time that is convenient for you. Our trained servicers know your appliance inside and out. |
| YOUR AVANTI PRODUCTS WARRANTY | Staple your sales receipt here. Proof of original purchase date is needed to obtain service under warranty. |
| WHAT IS COVERED – LIMITED ONE-YEAR WARRANTY Avanti Products warrants that the product is free from defects in materials and/or workmanship for a period of twelve (12) months from the date of purchase by the original owner. The foregoing timeline begins to run upon the date of purchase, and shall not be stalled, tolled, extended, or suspended for any reason whatsoever unless described in detail in the warranty document. For one year from the date of purchase by the original owner, Avanti products will, at its option, repair or replace any part of the product which proves to be defective in material or workmanship under normal use. Avanti Products will provide you with a reasonably similar product that is either new or factory refurbished. During this period Avanti Products will provide all parts and labor necessary to correct such defects free of charge, so long as the product has been installed and operated in accordance with the written instructions in this manual. In rental or commercial use, the warranty period is 90 days. All Avanti appliances of 3.5 cubic feet capacity or less must be brought/sent to the appliance service center for repair. | |
| LIMITED TWO YEAR WARRANTY During the second year of use, Avanti Products will furnish, as needed a replacement part at no charge in exchange for any original part, which fails due to a defect in material or workmanship. All labor and transportation charges are the responsibility of the consumer. LIMITED SEVEN YEAR WARRANTY For an additional 6-year period beyond the first year of the general coverage of this warranty, Avanti Products will replace a magnetron tube, which fails due to a defect in material or workmanship. All labor and transportation charges are the responsibility of the consumer. | |
| WARRANTY EXCLUSIONS / WHAT IS NOT COVERED: The warranty coverage described herein excludes all defects or damage that are not the direct fault of Avanti Products, including without limitation, one or more of the following: | |
| · A failure to comply with any applicable state, local, city, or county electrical, plumbing and/or building codes, regulations, or laws, including failure to install the product in strict conformity with local fire and building codes and regulations. · Any external, elemental and/or environmental forces and factors, including without limitation, rain, wind, sand, floods, fires, mud slides, freezing temperatures, excessive moisture or extended exposure to humidity, lightning, power surges, structural failures surrounding the appliance, and acts of God. | |
| · Content losses of food or other content due to spoilage. · Incidental or consequential damages · Parts and labor costs for the following will not be considered as warranty: · Inner door panels, door shelves, door rails, and/or door supports. · Light bulbs and/or plastic housing. · Plastic cabinet liners. · Shipping and handling costs associated with the replacement of the unit. | · Repairs performed by unauthorized servicers. · Service calls that are related to external problems, such as abuse, misuse, inadequate electrical power, accidents, fire, floods, or any other acts of God. · Failure of the product if it is used for other than it intended purpose. · The warranty does not apply outside the Continental USA. · Surcharges including but not limited to, any after hour, weekend, or holiday service calls, tolls, ferry trip charges, or mileage expense for service calls to remote areas. |
| In no event shall Avanti Products have any liability or responsibility whatsoever for damage to surrounding property, including cabinetry, floors, ceilings, and other structures and/or objects around the product. Also excluded from this warranty are scratches, nicks, minor dents, and other cosmetic damages on external surfaces and exposed parts; Products on which the serial numbers have been altered, defaced or removed; service visits for customer education, or visits where there is nothing wrong with the product; correction of installation problems (you are solely responsible for any structure and setting for the product, including all electrical, plumbing and/or other connecting facilities, for proper foundation/flooring, and for any alterations including without limitation cabinetry, walls, floors, shelving etc., as well as the resetting of breakers or fuses. | |
| OUT OF WARRANTY PRODUCT Avanti Products is under no obligation, at law or otherwise, to provide you with any concessions, including repairs, pro-rates, or product replacement, once this warranty has expired. | |
| Warranty – Microwave Ovens | |
























