HydroCheck Electronic Sump Pump Switch

Overview:
The HydroCheck HC6000v2 Electronic Sump Pump Float Switch with Hi-Lo Dual Sensors and Built-in Alarms is a universal float switch that works with all types of sump pumps. The pump cycle will start when water reaches the Hi-Sensor (Red) and stop when water drops below the Lo-Sensor (Black). Easily achieve your desired cycle length by adjusting the distance between the sensors. See the Troubleshooting section for Smart Button, LED and Alarm specifications. Not rated for outdoor use.
READ PRIOR TO INSTALLATION:
1. The “piggyback plug” attached to the mechanical float switch cannot be used with the HC6000v2. It must be disconnected and remain disconnected.
2. If your sump pump has internal float switch wiring, i.e. does not have a “piggyback plug”, then you must secure the float in an upward position as if the pit were full. This assures that the internal switch is always closed and that
the pump is enabled.
3. Pits that receive water from a water softener or that have high mineral/iron content require an alternative installation method. Use the HydroCheck Sensor Installation Kit to ensure maximum reliability in all installation applications.
Visit our website www.hydrocheckproducts.com for more information.
Step-by-Step Installation
| Step 1 | Unplug the sump pump from the back of the “piggy- back plug”. |
| Step 2 | Unplug the “piggyback plug” from the 120 VAC and set aside. The HC6000v2 completely replaces this component. |
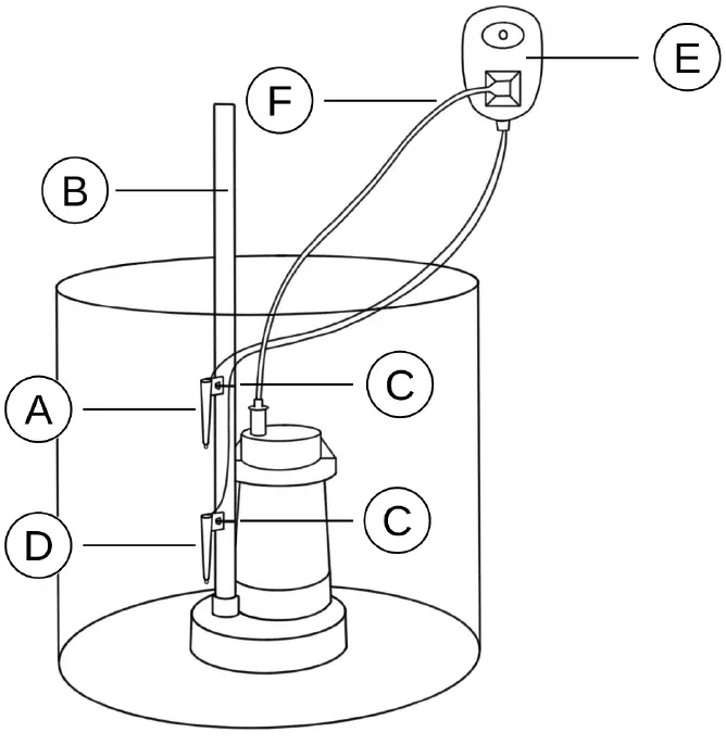
| Step 3 | Secure the red sensor (A) to the discharge pipe (B) with tie wrap (C) where the pump is intended to turn on. NOTE: Recommended height for the Red Sensor is slightly below the Drain Tile (Water Inlet Pipe). |
| Step 4 | Secure the black sensor (D) to the discharge pipe (B) with tie wrap (C) where the pump is intended to turn off. |
| Step 5 | Check that the red sensor (A) is positioned above the black sensor (D). |
| Step 6 | Plug the control module (E) into a 3-prong 120 VAC outlet. NOTE: The output will turn on briefly and the LED will illuminate red. If the Red Sensor detects water, a pump cycle will begin. |
| Step 7 | Plug the sump pump power cord (F) into the con- trol module (E). NOTE: The HC6000v2’s output is rated for a maxi- mum of 1 HP and/or 15 amps at 120 VAC. |
| Step 8 | TEST YOUR INSTALLATION BEFORE LEAVING IT FOR UNATTENDED USE. NOTE: This product will not work if tested in a cup of water. See How the Sensor Works: Do I need a ground wire? On Page 2 for more information. |
Installation Key
A. Red Sensor (Hi-Sensor)
B. Discharge Pipe
C. Tie Wrap
D. Black Sensor (Lo-Sensor)
E. Control Module
F. Pump Power Cord
*“Piggyback plug” and 120 VAC outlet are not pictured
Product Specifications
| Product Dimensions | 2.8 x 2.5 x 3.5 in |
| Weight | 14.4 oz |
| Output Rating | 120 VAC, 15 Amp, 1 HP |
| Alarm Rating | 80 dB |
| Power | 120 VAC, 60 Hz |
| Sensor Cable Length | 12 ft |
| Anti-Airlock Cycle | 2 Attempts |
How the Sensors Work: Do I need a ground wire?
The sensors detect the presence of water by using a continuity circuit. The continuity circuit works by allowing a very small current to flow from each the sensor, through the water, to ground when the tip of the sensor is in water. When no water is present, the circuit is broken and no current flows. Normally, the pump provides the ground reference needed for the continuity circuit to work, but occasionally it won’t. A Flashing LED and audible alarm indicates a weak ground reference. When this happens, it is necessary to provide a ground reference for the sensor to work.
Adding a Ground Wire:
| Step 1 | Strip 1 inch of insulation off each end of a 14 AWG length of wire. |
| Step 2 | Secure one end of the wire to a copper water pipe or metal electrical conduit. |
| Step 3 | Place the other end of the wire into the pit so that it is below the Lo-Sensor. NOTE: No danger of electrocution. Visit our website www.hydrocheckproducts.com for more information. |
TROUBLESHOOTING:
Alarm & LED Guide
| Meaning | Possible Cause | |
| Red LED | The switch’s output is off (the pump is off). | None—Normal operation |
| Green LED | The pump is on and water is above the lo-sensor. | None—Normal operation |
| Flashing LED and Fixed Rate Alarm (Green or Red) | Weak or missing ground reference detected during a cycle. | See How the Sensors Work: Do I need a ground wire? above. |
| 2-Beep Alarm (No Pump Current Detected) | The switch did not detect a motor current during the previous pumping cycle. | • Pump is not plugged in • Pump failure • Mechanical float switch is not disabled |
| 3-Beep Alarm (High Water Alarm) | High Water Alarm will sound if water does not drop below the Hi-Sensor within 25 seconds following two anti-airlock cycles. NOTE: See the Product FAQ page on our website for more information about airlock cycles www.hydrocheckproducts.com | • Pump failure • Pump can’t keep up • Blocked or frozen discharge pipe • Trapped air is preventing normal pump operation (airlock) |
Smart Button Features
| Goal | Method |
| Silence Alarm | Pressing and releasing the Smart Button while an alarm is active will silence the alarm for 24hrs. |
| Disable Alarm | Pressing and holding the Smart Button while an alarm is active will disable the alarm until the switch is reset. The Smart Button should be pressed and held until the device sounds a short beep followed by a long beep, indicating that the alarm was successfully disabled. |
| Switch Reset | Press and hold Smart Button while plugging switch into a 120 VAC outlet. A short beep will sound to indicate that the switch has been reset. Resetting the switch returns all settings back to the original fac- tory defaults. |
| Manually Run Pump | Press and hold the Smart Button while the LED is solid red. The pump will run until the button is re- leased. |
| Cancel Cycle | Press and release the Smart Button while the pump is on to cancel the cycle. |
WARRANTY:
STAK Enterprises Inc. warrants the model HC6000v2 to be free from defects in materials and workmanship for its normal, useful life, for a period of 5 years from the date of purchase. STAK Enterprises Inc. makes no other express warranty for this device. No agent, representative, dealer, or employee of STAK Enterprises Inc. has the authority to increase or alter the obligations or limitations of the warranty. The company’s obligation of this warranty shall be limited to the repair or replacement of any part of the HC6000v2 which is found to be defective in materials or workmanship under normal use and service during the 5 year period of product use by original product owner commencing with the date of purchase. Owner must pay all shipping charges necessary to replace product covered by this warranty. This warranty shall not apply to acts of God, nor shall it apply to products which, in the sole judgment of STAK Enterprises, Inc. have been subject to negligence, abuse, accident, tampering, alteration, misapplication, or improper installation.
THE DURATION OF ANY EXPRESS OR IMPLIED WARRANTY, INCLUDING THAT OF MERCHANTABILITY OR FITNESS FOR ANY PARTICULAR PURPOSES, SHALL BE LIMITED TO THE NORMAL, USEFUL LIFE OF THE PRODUCT, COMMENCING WITH THE DATE OF PURCHASE. IN NO CASE SHALL THE COMPANY BE LIABLE FOR ANY CONSEQUENTIAL OR INCIDENTAL DAMAGES FOR BREACH OF THIS OR ANY OTHER WARRANTY, EXPRESS OR IMPLIED, WHATSOEVER.





















