STPK750 Submersible Sump Pump
Instruction Manual

Dear Customers
Instruction manuals provide valuable hints for using your new device. They enable you to use all functions, and they help you avoid misunderstandings and prevent damage.
Please take the time to read this manual carefully and keep it for future reference.
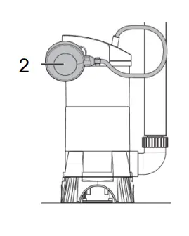
Overview

| 1 | Carrying Handle |
| 2 | Power Cable |
| 3 | Retainer Clamp for Float Switch |
| 4 | Float Switch |
| 5 | Suction Base |
| 6 | Water Outlet Opening |
| 7 | Universal Hose Adaptor |
| 8 | Fitting 90° Angle |
Safety Notes
Please note the following safety notes to avoid malfunctions, damage or physical injury:
- Please read this manual carefully and use the unit only according to this manual.
- Make sure the voltage corresponds to the type label on the unit.
- The submersible sump pump has been designed for pumping clear and dirty water. The pump is not intended for delivering salt water, corrosive, easily flammable or explosive liquids (e.g. petrol, paraffin, thinners), faeces, oil, heating oil or foodstuffs.
- In industrial facilities the regulations for the prevention of accidents as laid down by the professional trade association for electrical equipment and devices need to be observed.
- Do not use the pump to deliver solids. Gravel, sand or the like may damage the pump.
- Make sure that the temperature of the water to be delivered must not exceed 35 °C.
- Keep children and young persons away from the plugged-in unit. They are not allowed to operate the pump. The pump is not a toy.
- Persons with limited physical, sensorial or mental abilities are not allowed to use the unit, unless they are supervised and briefed for their safety by a qualified person.
- Persons and animals must not stand in the water during operation of the pump!
- Do not reposition the pump if in operation.
- Do not operate the pump unsupervised for long time.
- Do not replace the power cord and do not repair it. It is not allowed to modify the power cord by installing a switch or similar.
- Do not pull the power cord around sharp edges or corners. Do not pinch or crimp the power cord in any way. Keep the power cord away from hot surfaces. Make sure the cord cannot become a tripping hazard.
- Make sure the power cord is not rolled during operation.
- Do not use the power cord to carry or transport the pump.
- If not in use, do not hang up the pump on its power cord.
- In case of power failure, disconnect the pump from power mains by pulling the power plug.
- Protect the pump from frost.
- Do not allow the pump to run dry. During operation always keep the pump completely immersed in water.
- Make sure that the ground wire (yellow/green) is not interrupted neither in the power line, in an eventually connected extension line, nor in/at the device, since an interrupted ground wire represents a danger to life!
- When using extension cables, make sure that plug and sockets are splash water-safe.
- Protect all electric connections from water. In areas exposed to a risk of flooding, install all connectors in flood-safe areas.
- Operate the pump only in conjunction with a residual-current operated protective device (RCD) with a residual current rating lower than 30 mA.
- Disconnect the pump from power mains if you clean or do not use it for a long period of time. When opening covers or removing casing parts you may expose live parts. Capacitors inside the device may still carry voltage even though they have been disconnected from all voltage sources.
- If the pump itself or the power cord become damaged, do not operate the pump furthermore and have it repaired by a professional or contact the Westphalia customer service. Do not disassemble the unit or try to repair it yourself.
Operation
Intended Use
- The submersible sump pump has been designed for pumping clear and dirty water. It is not intended for delivering salt water, corrosive, easily flammable or explosive liquids (e.g. petrol, paraffin, thinners, etc.), faeces, oil, heating oil or foodstuffs. The pump can be used for delivering water, containing floating organical particles such as leaves, paper, plant scraps or firm particles up to a diameter of 35 mm.
- The submersible sump pump can be used for dry up garages, cellars, basements, swimming pools, tubs, tanks, springs, wells etc. When immersing the pump into a well, make sure the diameter of the well is not smaller than 40 x 40 x 50 cm so the float switch (4) can float freely.
- The pump is not designed for commercial continuous operation.
- The intended use also includes an operation following the operating instructions. Any use beyond these parameters (different media, applying force) or any changes (reconstruction, no original accessory) can lead to serious risks and is regarded as use that is contrary to the intended purpose.
Before first Use
Unpack the submersible sump pump and check all parts for any damage in transit. Keep packaging materials out of reach of children. There is risk of suffocation!
Preparation
- Before each use, check the pump and the power cord for any damages. Do not use the pump in case of damages.
- Screw the universal hose adaptor (7) on the water outlet opening (6).
- Tightly attach or screw on the
hose (not included) to be used for pumping off the water to the hose connection (7) of the hose adaptor. If required, use Teflon tape for sealing.
- Set the pump on a flat surface into the water supply you want to pump off. Make sure that the pump cannot move during operation. Pay attention to the maximum submersion depth (refer to Technical Data). Always make sure that the suction opening is not blocked or obstructed during operation. If necessary, place the pump on a brick or similar.
- When immersing the pump in a very deep pit or well, attach a sufficiently strong rope (water-proof) or chain to the carrying handle in order to guide the pump down. Never use the power cord for immersing and lifting up the pump.
- A retainer clamp (3) is located on the side of the carrying handle. It serves the purpose of fixing the line of the float switch. Fix the float switch so that its leading edge “solidly” touches the ground.
- Run the vacuum hose. Observe the maximum delivery height (refer to the Technical Data).
Electrical Connection – Operation
Turning the pump on and off is done via the integrated float switch (4). The pump automatically switches off if the unit is unplugged of if water level falls below a specified height.
- Insert the power plug into a protected socket.
- Pumping will start automatically as soon as the pump is plugged and the float switch (4) lies horizontally on the water. If the water level falls below 115 mm the pump ill
switch off automatically.
This will effectively prevent the pump from running dry.
If the water level rises again above a certain level and the power cord is still plugged in, the pump will automatically turn on and start pumping.
- Pull the power plug to turn off the pump. Make sure that no particles bigger than approx. 35 mm get sucked as this can block the turbine wheel.
Thermal Switch – Overheat Protection
The pump is equipped with an automatic thermal protection, which prevents damage to the pump caused by overheating. If the pump becomes too hot during operating, it will automatically switch off. Pull the plug of the pump and allow the pump to cool down for approx. 30 minutes before operating again.
Running Dry
Absolutely avoid dry running of the pump! Dry running is operating the pump without water in the casing.
Vent Valve
The pump is equipped with a vent valve. When inserting the pump into water the pump will automatically ventilate.
Manual Operation
For manual operation you have to reposition the float switch at a higher level or to keep the float switch up by hand. By doing this the water can be pumped up completely. An automatic cutoff does not occur.
Do not operate the pump unsupervised during manual operation. Disconnect the pump from power mains as soon as the water level falls below 3.5 cm. Otherwise, the pump will run dry long and can be damaged.
Maintenance, Cleaning, Storing and Transport
- Unplug the power plug before undertaking any kind of maintenance work or before cleaning.
- The pump does not require maintenance apart from occasionally cleaning the housing and the strainer.
- When opening covers or removing casing parts you may expose live parts. Capacitors inside the device may still carry voltage even though they have been disconnected from all voltage sources.
- In case the pump pumped fluids, which leave residue, it should be thoroughly cleaned after use with clean water. Sand, mud or suspended sediment in the pumped water can affect its delivery rate.
- To thoroughly clean the turbine wheel, unscrew the screws and take apart the base from the upper housing. Clean dirt with a brush etc. Rinse the pump with clear water.
- Never use corrosive or acidic cleaners to clean the pump.
Keep the suction base (7) free from dirt and blockages of any kind to prevent clogging.- Store the pump in a dry place that is protected from dust, dirt and frost. Make sure the pump is dry before storing it for long time.
- The pump does not contain any parts serviceable by you. Do not disassemble the pump and do not try to repair it yourself. Repairs must be done by a professional only.
- Carry the pump only by the carrying handle (1). Never carry, or lift up the pump by the power cord.
Technical Data
| Operating Voltage | 230 V~ 50 Hz |
| Rated Power | 750 W |
| Protection Class | I |
| Degree of Protection | IPX8 |
| Power Cord Length | 10 m |
| Power Cord Type | H07RN8-F3G1.0 mm² |
| Connection Sizes | 1“, 1½“ |
| Delivery Rate | Qmax. 12 500 l/h |
| Delivery Height | Hmax. 7 m |
| Submersion Depth | max. 7 m |
| Min. Water Level | 115 mm |
| Particle Size | max. 35 mm |
| Fluid Temperature | max. 35 °C |
| Dimensions | 170 x 158 x 330 mm |
| Weight approx. | approx. 5,24 kg |
EU Declaration of Conformity
We, the Westfalia Werkzeugcompany, Werkzeugstraße 1, D-58093 Hagen, declare by our own responsibility that the product
Submersible Sump Pump750 W
Article No. 93 78 17
Is according to the basic requirements, which are defined in the European Directives and their amendments.
| 2011/65/EU | Restriction of the Use of certain hazardous Substances in electrical and electronic Equipment (RoHS) |
| 2014/30/EU | Electromagnetic Compatibility (EMC) EN 55014-1:2017+A11, EN 55014-2:1997+A1+A2+AC, EN 61000-3-2:2014, EN 61000-3-3:2013 |
| 2014/35/EU | Low Voltage Directive (LVD) EN 60335-1:2012+AC+A11+A13+A1+A14+A2, EN 60335-2-41:2003+A1+A2, EN 62233:2008+AC |
The technical documentations are on file at the QA department of the Westfalia Werkzeug-company.
Hagen, den 15. Oktober 2021
Hagen, 15th of October 2021
Thomas Klingbeil,
QA Representative
Disposal
Dear Customer,
Please help avoid waste materials.
If you at some point intend to dispose of this article, then please keep in mind that many of its components consist of valuable materials, which can be recycled.
Please do not discharge it in the rubbish bin, but check with your local council for recycling facilities in your area.
Schweiz
Westfalia
Wyden of 3a
CH-3422 Kircher (BE)
Telefon: (034) 4 13 80 00
Telefax: (034) 4 13 80 01
Internet: www.westfalia-versand.ch



















