JENNAIR JIC4536KB Electric Induction Cooktop

IMPORTANT: READ AND SAVE THESE INSTRUCTIONS.
FOR RESIDENTIAL USE ONLY.
INSTALLATION REQUIREMENTS
Tools and Parts
Gather the required tools and parts before starting installation.
Read and follow the instructions provided with any tools listed here.
Tools Needed
- Tape measure
- Flat-blade screwdriver
- Phillips head screwdriver
- Hand or electric drill
- Level
- Marker or pencil
- Pliers
- 1/4″ drill bit
- Jigsaw
Parts Supplied
- Brackets (2)
- #6 x 3/4″ (1.9 cm) clamping screws (4)
- #8 x 3/8″ (9.5 mm) sheet metal screws (6 screws for 24″ models, and 7 screws for 30″ and 36″ models)
Parts Needed
- A UL listed or CSA approved strain relief
- UL listed wire connectors
- A UL approved junction box or 240 V outlet
- Cooktop Bracket Adhesive Kit Part Number W11279478 if installing the cooktop into a marble countertop. See the “Assistance or Service” section of the Use and Care Guide for information on ordering.
Check local codes. Check existing electrical supply. See “Electrical Requirements”.
It is recommended that all electrical connections be made by a licensed, qualified electrical installer.
Location Requirements
Make sure you have everything needed for correct installation. It is the responsibility of the installer to comply with the installation clearances specified in these instructions.
IMPORTANT: Observe all governing codes and ordinances. When installing cooktop, use minimum dimensions given.
- To eliminate the risk of burns or fire by reaching over the heated surface units, cabinet storage space located above the surface units should be avoided. If cabinet storage is to be provided, the risk can be reduced by installing a range hood that projects horizontally a minimum of 5″ (12.7 cm) beyond the bottom of the cabinets.
- It is the installer’s responsibility to comply with installation clearances specified on the model/serial rating plate. The model/serial rating plate is located on the underside of the cooktop burner box.
24″ cooktop model/serial rating plate location

30″ cooktop model/serial rating plate location

36″ cooktop model/serial rating plate location

- Check the cooktop base for an approved installation label. Verify approved oven model numbers that can be installed with your cooktop model number. If you do not find this label, your cooktop may not be approved for use over an undercounter built-in oven. Contact your dealer to confirm that your cooktop is approved.
- Ovens approved for this type of installation will have an approval label located on the top of the oven. If you do not find this label, contact your dealer to confirm that your oven is approved. Refer to oven manufacturer’s Installation Instructions for approval for built-in undercounter use and proper cutout dimensions.
- When installing cooktop over an undercounter built-in oven, do not fasten cooktop to countertop with clamps or seal cooktop to countertop. This will make the cooktop easier to remove if future servicing becomes necessary.
- Use the countertop opening dimensions that are given with these Installation Instructions. Given dimensions are minimum clearances and provide 0″ (0 cm) clearance.
- Grounded electrical supply is required. See “Electrical Requirements” section.
Product Dimensions

| Model | A | B | C |
| 24″ | 215/16″ (54.1 cm) | 255/8″ (65 cm) | 33/4″ (9.5 cm) |
| 30″ | 215/16″ (54.1 cm) | 3013/16″ (78.2 cm) | 33/4″ (9.5 cm) |
| 36″ | 215/16″ (54.1 cm) | 365/16″ (92.2 cm) | 33/4″ (9.5 cm) |
With frame:
| Model | A | B | C |
| 30″ | 225/16″ (56.7 cm) | 3113/16″ (80.8 cm) | 35/8″ (9.14 cm) |
| 36″ | 225/16″ (56.7 cm) | 375/16″ (94.8 cm) | 35/8″ (9.14 cm) |
Cabinet Dimensions
IMPORTANT: If installing a range hood or microwave hood combination above the cooking surface, follow the range hood or microwave hood combination installation instructions for dimensional clearances above the cooktop surface.
A. Cooktop
B. Rear wall
C. Cabinet back
D. 13/16″ (2 cm) minimum clearance between house wall and cabinet back

A. 29½” (75.0 cm) on 30″ models, 33″ (84.0 cm) on 36″ models
B. Combustible area above countertop (shown by dashed box above)
C. 30″ minimum clearance between top of cooktop platform and bottom of uncovered wood or metal cabinet (24″ [65 cm] minimum clearance if bottom of wood or metal cabinet is covered by not less than 1/4″ [6.4 mm] flame retardant millboard covered with not less than No. 28 MSG sheet steel, 0.015″ [0.4 mm] stainless steel, or 0.024″ [0.6 mm] aluminum or 0.020″ [0.5 mm] copper).
D. 13″ (33.0 cm) recommended upper cabinet depth
E. 2″ (5.1 cm)
F. For details refer to Table 1.
G. 18″ (45.7 cm) minimum clearance from upper cabinet to countertop within minimum horizontal clearances to cooktop
H. Junction box or outlet; 12″ (30.5 cm) minimum from bottom of countertop
I. Junction box or outlet; 10″ (25.4 cm) from right-hand side of cabinet
J. For details refer to Table 1.
K. 1″ (2.5 cm) minimum distance to nearest left and right side combustible surface above cooktop
L. 1″ (2.5 cm) minimum clearance between back wall and countertop
M. IMPORTANT: For proper ventilation, provide a vent cut out in the back of the cabinet per the following illustration. For standard and flush installation make sure the cut out and its cut out for ventilation have their center line aligned.

| Model | M1 | M2 | M2 (Flush) | M3 |
| 24″ | 19″ (48.2 cm) | 29/16″ (6.5 cm) | 213/16″ (7.1 cm) | 13/16″ (2.1 cm) |
| 30″ and 36″ | 263/4″ (68 cm) | 29/16″ (6.5 cm) | 213/16″ (7.1 cm) | 13/16″ (2.1 cm) |
Table 1
| Model | CUT OUT | |
| F | J | |
| 24″ | 203/4″ (52.7 cm) | 217/8″ (55.6 cm) |
| 30″ | 203/4″ (52.7 cm) | 299/16″ (75.1 cm) |
| 36″ | 203/4″ (52.7 cm) | 359/16″ (90.3 cm) |
NOTE: After you make the countertop cutout, some installations may require notching down the base cabinet side walls to clear the cooktop base. To avoid this modification, use a base cabinet with sidewalls wider than the cutout.
If cabinet has a drawer, a 51∕8″ (13 cm) depth clearance from the countertop to the top of the drawer (or other obstruction) in base cabinet is required.
Flush Installation – Frameless
| Model | X | Y |
| 24″ | 2513/16″ (65.5 cm) | 217/16″ (54.5 cm) |
| 30″ | 31″ (78.7 cm) | 217/16″ (54.5 cm) |
| 36″ | 361/2″ (92.7 cm) | 217/16″ (54.5 cm) |

Electrical Requirements
WARNING
Electrical Shock Hazard
Disconnect power before servicing.
Use 8 gauge copper wire.
Electrically ground cooktop.
Failure to follow these instructions can result in death, fire, or electrical shock.
If codes permit and a separate ground wire is used, it is recommended that a qualified electrical installer determine that the ground path and wire gauge are in accordance with local codes.
Check with a qualified electrical installer if you are not sure the cooktop is properly grounded.
It is not recommended to have a fuse in the neutral or ground circuit.
Make sure that the electrical connection and wire size are adequate and in conformance with the National Electrical Code, ANSI/NFPA 70-latest edition or CSA Standards C22.
1-94,Canadian Electrical Code, Part 1 and C22.2 No.
O-M91-latest edition, and all local codes and ordinances.
A copy of the above code standards can be obtained from:
National Fire Protection Association
1 Batterymarch Park
Quincy, MA 02169-7471
CSA International
8501 East Pleasant Valley Road
Cleveland, OH 44131-5575
Before You Make the Electrical Connection:
To properly install your cooktop, you must determine the type of electrical connection you will be using and follow the instructions provided for it here.
- A 4-wire or 3-wire, single phase, 240 V, 60 Hz, AC only electrical supply is required on a separate, 50 A circuit (36″ models), 40 A circuit (30″ models) or 30 A circuit
(24″ models) fused on both sides of the line. - The cooktop should be connected directly to the junction box through flexible, armored or nonmetallic sheathed, copper cable. The flexible, armored cable extending from the fuse box or circuit breaker box should be connected directly to the junction box.
- Locate the junction box to allow as much slack as possible between the junction box and the cooktop so that the cooktop can be moved if servicing becomes necessary in the future.
- Do not cut the conduit. The length of conduit provided is for serviceability of the cooktop.
- A UL listed or CSA approved conduit connector must be provided at each end of the power supply cable (at the cooktop and at the junction box). A listed conduit connector is already provided at the cooktop.
- If the house has aluminum wiring, follow the procedure below:
Connect the aluminum wiring using special connectors and/or tools designed and UL listed for joining copper to aluminum.
Follow the electrical connector manufacturer’s recommended procedure. Aluminum/copper connection must conform with local codes and industry accepted wiring practices.
INSTALLATION INSTRUCTIONS
Prepare Location
- Decide on the final location for the cooktop.
NOTE: Countertop must be 13∕16″ (3.0 cm) to 2″ (5.1 cm) thick. - If necessary, make cutout in countertop before installing cooktop. See “Location Requirements” section for more information.
- Clean cutout of any remaining dust and debris.
Install Brackets
NOTE: Cooktop Bracket Adhesive Kit Part Number W11279478 is required for installing the cooktop into a marble countertop. See the “Assistance or Service” section of the Use and Care Guide for information on ordering.
To Install Brackets into Marble Countertop:
- Clean the brackets and cooktop cutout of any dust and debris.

- Measure the center line of the vertical sides of the cooktop cutout.

- Apply the adhesive provided in the kit to the back side of the brackets.

- Position brackets in the center of the vertical centerline and align the upper edge of the brackets so that they are flush with the countertop.

- Push the brackets firmly onto each side of the cooktop cutout and wait 1 hour for adhesive to dry.

To Install Brackets into Wood Countertop:
- 1. Measure the center line of the vertical sides of the cooktop cutout.

- Position brackets in the center of the vertical centerline and align the upper edge of the brackets so that they are flush with the countertop.
- Attach the brackets in the cutout with the screws provided.

Install Cooktop
WARNING
Excessive Weight Hazard
Use two or more people to move and install cooktop. Failure to do so can result in back or other injury.
- Using 2 or more people, place the cooktop upside down on a covered surface using the foam end posts from the packaging.
- OPTIONAL – Remove the foam roll from the package containing literature. Apply foam adhesive-side down around the bottom of the cooktop glass.
NOTE: The foam helps avoid damage to the underside of the cooktop glass from debris and helps the cooktop sit flat on uneven counters.
- Lower the cooktop into the cutout with the back end of the cooktop angled down.

- Make sure that the clips on each side of the cooktop line up with the brackets in the cutout.

- Push down on cooktop to snap the cooktop clips onto thebrackets installed in the cutout.

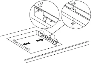
- On the underside of the cooktop, loosen only the 6 screws for 24″ models and 7 screws for 30″ and 36″ models on the slider indicated in the image below.
Push the duct slider toward the side of the cabinet until the slider and cabinet touch.- Tighten the screws on the slider.
Make Electrical Connection
WARNING
Electrical Shock Hazard
Disconnect power before servicing.
Use 8 gauge copper wire.
Electrically ground cooktop.
Failure to follow these instructions can result in death, fire, or electrical shock.
This cooktop is manufactured with a frame-connected, green (or bare) ground wire.
- Disconnect power.
- Remove junction box cover if it is present.
- Connect the flexible cable conduit from the cooktop to the junction box using a UL listed or CSA approved conduit connector.

- Tighten screws on conduit connector if present.
- See “Electrical Connection Options Chart” to complete installation for your type of electrical connection.
Electrical Connection Options Chart
4-Wire Cable from Home Power Supply
IMPORTANT: Use the 4-wire cable from home power supply in the U.S.A where local codes do not allow grounding through neutral, New Branch circuit installations (1996 NEC), mobile homes and recreational vehicles, new construction, and in Canada.
- A. Cable from home power supply
- B. Red wires
- C. Green (or bare) ground wires
- D. 3-wire cable from cooktop
- E. Junction box
- F. White wire (from home power supply)
- G. UL listed wire connector
- H. Black wires
- I. UL listed or CSA approved conduit connector with wire bushing
- Connect the 2 red wires (B) together using a UL listed wire connector.
- Connect the green (or bare) ground wire (C) from the cooktop cable to the green (or bare) ground wire (in the junction box) using a UL listed wire connector.
- Put a UL listed wire connector on the end of the white wire (F). NOTE: Do not connect the green (or bare) ground wire to the neutral (white) wire in the junction box.
- Connect the 2 black wires (H) together using a UL listed wire connector.
- Install junction box cover.
3-Wire Cable from Home Power Supply – U.S.A Only
IMPORTANT: Use the 3-wire cable from home power supply where local codes permit a 3-wire connection.

- A. Cable from home power supply
- B. Red wires
- C. Green (or bare) ground wires from cooktop
- D. 3-wire cable from cooktop
- E. Junction box
- F. White wire (from home power supply)
- G. UL listed wire connector
- H. Black wires
- I. UL listed or CSA approved conduit connector with wire bushing
- Connect the 2 red wires (B) together using a UL listed wire connector.
- Connect the green (or bare) cooktop cable wire (C) to the white (neutral) wire (F) in the junction box using a UL listed wire connector.
- Connect the 2 black wires (H) together using a UL listed wire connector.
- Install junction box cover.
Complete Installation
- Check that all parts are now installed. If there is an extra part, go back through the steps to see which step was skipped.
- Check that you have all your tools.
- Dispose of/recycle all packaging materials.
- Use a mild solution of liquid household cleaner and warm water to clean cooktop before use. Dry thoroughly with a soft cloth. For more information, see the “Cooktop Care” section of the Use and Care Guide.
- Read “Cooktop Use” in the cooktop Use and Care Guide.
- Reconnect power.
NOTE: If the cooktop does not work after turning on the power, check that a circuit breaker has not tripped or a household fuse has not blown. See the “Troubleshooting” section in the Use and Care Guide for further information.
If you need Assistance or Service:
Please refer the “Assistance or Service” section of the Use and Care Guide or contact the dealer from whom you purchased your cooktop.
®/™ ©2022 Tous droits réservés. Utilisé sous licence au Canada.



















