VOGUE 320235 Induction Cooktop
Safety Warnings
Your safety is important to us. Please read this information before using your cooktop.
Installation
Electrical Shock Hazard
- Disconnect the appliance from the mains electricity supply before carrying out any work or maintenance on it.
- Connection to a good earth wiring system is essential and mandatory.
- Alterations to the domestic wiring system must only be made by a qualified electrician.
- Failure to follow this advice may result in electrical shock or death.
Cut Hazard
- Take care – panel edges are sharp.
- Failure to use caution could result in injury or cuts.
Important safety instructions
- Read these instructions carefully before installing or using this appliance.
- No combustible material or products should be placed on this appliance at any time.
- Please make this information available to the person responsible for installing the appliance as it could reduce your installation costs.
- In order to avoid a hazard, this appliance must be installed according to these instructions for installation.
- This appliance is to be properly installed and earthed only by a suitably qualified person.
- This appliance should be connected to a circuit which incorporates an isolating switch providing full disconnection from the power supply.
- Failure to install the appliance correctly could invalidate any warranty or liability claims.
Operation and maintenance
Electrical Shock Hazard
- Do not cook on a broken or cracked cooktop. If the cooktop surface should break or crack,switch the appliance off immediately at the mains power supply (wall switch) and contact a qualified technician.
- Switch the cooktop off at the wall before cleaning or maintenance.
- Failure to follow this advice may result in electrical shock or death.
Health Hazard
- This appliance complies with electromagnetic safety standards.
- However, persons with cardiac pacemakers or other electrical implants (such as insulin pumps) must consult with their doctor or implant manufacturer before using this appliance to make sure that their implants will not be affected by the electromagnetic field.
- Failure to follow this advice may result in death.
Hot Surface Hazard
- During use, accessible parts of this appliance will become hot enough to cause burns.
- Do not let your body, clothing or any item other than suitable cookware contact the Induction glass until the surface is cool.
- Metallic objects such as knives, forks, spoons and lids should not be placed on the hob surface since they can get hot
- Keep children away.
- Handles of saucepans may be hot to touch. Check saucepan handles do not overhang other cooking zones that are on. Keep handles out of reach of children.
- Failure to follow this advice could result in burns and scalds.
Cut Hazard
- The razor-sharp blade of a cooktop scraper is exposed when the safety cover is retracted. Use with extreme care and always store safely and out of reach of children.
- Failure to use caution could result in injury or cuts.
Important safety instructions
- Never leave the appliance unattended when in use. Boil over causes smoking and greasy spillovers that may ignite.
- Never use your appliance as a work or storage surface.
- Never leave any objects or utensils on the appliance.
- Do not place or leave any magnetisable objects (e.g. credit cards, memory cards)or electronic devices (e.g. computers, MP3 players) near the appliance, as they may be affected by its electromagnetic field.
- Never use your appliance for warming or heating the room.
- After use, always turn off the cooking zones and the cooktop as described in this manual (i.e. by using the touch controls). Do not rely on the pan detection feature to turn off the cooking zones when you remove the pans.
- Do not allow children to play with the appliance or sit, stand, or climb on it.
- Do not store items of interest to children in cabinets above the appliance. Children climbing on the cooktop could be seriously injured.
- Do not leave children alone or unattended in the area where the appliance is in use.
- Children or persons with a disability which limits their ability to use the appliance should have a responsible and competent person to instruct them in its use. The instructor should be satisfied that they can use the appliance without danger to themselves or their surroundings.
- Do not repair or replace any part of the appliance unless specifically recommended in the manual. All other servicing should be done by a qualified technician.
- Do not use a steam cleaner to clean your cooktop.
- Do not place or drop heavy objects on your cooktop.
- Do not stand on your cooktop.
- Do not use pans with jagged edges or drag pans across the Induction glass surface as this can scratch the glass.
- Do not use scourers or any other harsh abrasive cleaning agents to clean your cooktop, as these can scratch the Induction glass.
- If the supply cord is damaged, it must be replaced by the manufacturer, its service agent or similarly qualified persons in order to avoid a hazard.
- This appliance is intended to be used in household and similar applications such as:
- staff kitchen areas in shops, offices and other working environments; -farm houses; -by clients in hotels, motels and other residential type environments ; -bed and breakfast type environments.
WARNING:
The appliance and its accessible parts become hot during use.
Care should be taken to avoid touching heating elements. Children less than 8 years of age shall be kept away unless continuously supervised.
- This appliance can be used by children aged from 8 years and above and persons with reduced physical, sensory or mental capabilities or lack of experience and knowledge if they have been given supervision or instruction concerning use of the appliance in a safe way and understand the hazards involved.
- Children shall not play with the appliance. Cleaning and user maintenance shall not be made by children without supervision.
WARNING:
Unattended cooking on a hob with fat or oil can be dangerous and may result in fire. NEVER try to extinguish a fire with water, but switch off the appliance
and then cover flame e.g. with a lid or a fire blanket.
- Danger of fire: do not store items on the cooking surfaces.
- Warning: If the surface is cracked, switch off the appliance to avoid
the possibility of electric shock, for hob surfaces of glass-ceramic or similar material which protect live parts - A steam cleaner is not to be used.
- The appliance is not intended to be operated by means of an external timer or separate remote-control system.
CAUTION:
The cooking process has to be supervised. A short term cooking process has to be supervised continuously.
WARNING:
In order to prevent tipping of the appliance, this stabilizing means must be installed. Refer to the instructions for installation.
- Use only hob guards designed by the manufacture of the cooking appliance or indicated by the manufacture of the appliance in the instruction for use as suitable or hob guards incorporated in the appliance. The use of inappropriate guards can cause accidents. This appliance incorporates an earth connection for functional purposes only.
Congratulations on the purchase of your new Induction Hob.
We recommend that you spend some time to read this Instruction / Installation Manual in order to fully understand how to install correctly and operate it. For installation, please read the installation section. Read all the safety instructions carefully before use and keep this Instruction /Installation Manual for future reference.
Product Overview
Top View

- 2000 W cook zone, boost to 2300W
- 1500 W cook zone, boost to 1800W
- Glass plate
- Control panel
Control Panel

- Heating zone selection controls
- Timer control
- Power/Timer regulating key
- keylock control
- ON/OFF control
- Boost function control
Word on Induction Cooking
Induction cooking is a safe, advanced, efficient, and economical cooking technology. It works by electromagnetic vibrations generating heat directly in the pan, rather than indirectly through heating the glass surface. The glass becomes hot only because the pan eventually warms it up.
- iron pot
- magnetic circuit
- ceramic glass plate
- induction coil
- induced currents
Before using your New Induction Hob
- Read this guide, taking special note of the ‘Safety Warnings’ section.
- Remove any protective film that may still be on your Induction hob.
Using the Touch Controls
- The controls respond to touch, so you don’t need to apply any pressure.
- Use the ball of your finger, not its tip.
- You will hear a beep each time a touch is registered.
- Make sure the controls are always clean, dry, and that there is no object (e.g. a utensil or a cloth) covering them. Even a thin film of water may make the controls difficult to operate.

Choosing the right Cookware
- Only use cookware with a base suitable for induction cooking. Look for the induction symbol on the packaging or on the bottom of the pan.

- You can check whether your cookware is suitable by carrying out a magnet test. Move a magnet towards the base of the pan. If it is attracted, the pan is suitable for induction.
- If you do not have a magnet:
- Put some water in the pan you want to check.
- If does not flash in the display and the water is heating, the pan is suitable.
- Cookware made from the following materials is not suitable: pure stainless steel, aluminium or copper without a magnetic base, glass, wood, porcelain, ceramic, and earthenware.
- Do not use cookware with jagged edges or a curved base.

Make sure that the base of your pan is smooth, sits flat against the glass, and is the same size as the cooking zone. Use pans whose diameter is as large as the graphic of the zone selected. Using a pot a slightly wider energy will be used at its maximum efficiency. If you use smaller pot efficiency could be less than expected. Pot less than 120 mm could be undetected by the hob. Always centre your pan on the cooking zone.
Always lift pans off the Induction hob – do not slide, or they may scratch the glass.
Using your Induction Hob
To start cooking
- Touch the ON/OFF control. After power on, the buzzer beeps once, all displays show “ – “ or “ – – “, indicating that the induction hob has entered the state of standby mode.

- Place a suitable pan on the cooking zone that you wish to use.
- Make sure the bottom of the pan and the surface of the cooking zone are clean and dry.

- Make sure the bottom of the pan and the surface of the cooking zone are clean and dry.
- Touching the heating zone selection control, and a indicator next to the key will flash.

- Select a heat setting by touching the “∨” “∧” control or slide along the “—” control, or just touch any point of the “—”.
- If you don’t choose a heat setting within 1 minute, the induction hob will automatically switch off. You will need to start again at step 1.
- You can modify the heat setting at any time during cooking.
- By holding down either of these buttons, the value will adjust up or down.

If the display flashes alternately with the heat setting
This means that:
- you have not placed a pan on the correct cooking zone or,
- the pan you’re using is not suitable for induction cooking or,
- the pan is too small or not properly centred on the cooking zone.
No heating takes place unless there is a suitable pan on the cooking zone. The display will automatically turn off after 1 minutes if no suitable pan is placed on it.
When you have finished cooking
- Touching the heating zone selection control that you wish to switch off.

- Turn the cooking zone off by touching the “∨”and scrolling down to “0”. Or slide along the “—” to the left point, and then touch the “∨”. Or touch the left point of “—”, and then touching the “∨”.

- Turn the whole cooktop off by touching the ON/OFF control.

- Beware of hot surfaces
‘H’ will show which cooking zone is hot to touch. It will disappear when the surface has cooled down to a safe temperature. It can also be used as an energy saving function if you want to heat further pans, use the hotplate that is still hot.
Using the Boost Function
Boost function is the function that one zone rising to a larger power in one second and lasting for 5 minutes. Then you can get a more powerful and faster cooking.
Using the Boost to get larger power
- Touch the heating zone selection button that you wish to boost, an indicator next to the key will flash.

- Touch the Boost button, the heating zone will begin to work at Boost mode. The power display will show “P” to indicate that the zone is boosting.

- The Boost power will last for 5 minutes and then the zone will go back to the power stage which was set before boost.

- If you want to cancel Boost, touch the heating zone selection button first, an indicator next to the key will flash. And then touch the Boost button. The heating zone will go back to the power stage which was set before boost.

Power management
In this hob every zone can work with Boost function, if use boost on one zone, first make sure that the other zone is working on/below power level 5. When you select
one zone and press ‘boost’ button, if the other zone is working above power level 5, the “P” and “9” symbols will flash on the display of the selected zone and power
level will be automatically set as 9.
Locking the Controls
- You can lock the controls to prevent unintended use (for example children accidentally turning the cooking zones on)
- When the controls are locked, all the controls except the ON/OFF control are disabled.
- Make sure the ceramic hob is turned on
- Touch and hold the keylock control for a while
- You can now start using your Induction hob.
- When the hob is in the lock mode, all the controls are disable except the ON/OFF , you can always turn the induction hob off with the ON/OFF control in an emergency, but you shall unlock the hob first in the next operation.
Over-Temperature Protection
A temperature sensor equipped can monitor the temperature inside the Induction hob. When an excessive temperature is monitored, the Induction hob will stop operation automatically.
Detection of Small Articles
When an unsuitable size or non-magnetic pan (e.g. aluminium), or some other small item (e.g. knife, fork, key) has been left on the hob, the hob automatically go on to standby in 1 minute. The fan will keep cooking down the induction hob for a further 1 minute.
Auto Shutdown Protection
Auto shut down is a safety protection function for your induction hob. It shut down automatically if ever you forget to turn off your cooking. The default working times for various power levels are shown in the below table:
| Power level | 1 | 2 | 3 | 4 | 5 | 6 | 7 | 8 | 9 |
| Default working timer (hour) | 8 | 8 | 8 | 4 | 4 | 4 | 2 | 2 | 2 |
When the pot is removed, the induction hob can stop heating immediately and the hob automatically switch off after 2 minutes.
- People with a heart pace maker should consult with their doctor before using this unit.
Using the Timer
You can use the timer in two different ways:
- You can use it as a minute minder. In this case, the timer will not turn any cooking zone off when the set time is up.
- You can set it to turn one cooking zone off after the set time is up.
- You can set the timer up to 99 minutes.
Using the Timer as a Minute Minder
If you are not selecting any cooking zone
- Make sure the cooktop is turned on.
Note: you can use the minute minder even if you’re not selecting any cooking zone. - Touch timer control ,the minder indicator will start flashing and “30” will show in the timer display.

- Set the time by touching the “∨’’ or “∧”control of the timer.
Hint: Touch the“∨’’ or“∧” control of the timer once to decrease or increase by 1 minute. Touch and hold the “∨’’or “∧” control of the timer to decrease or increase by 10 minutes. If the setting time exceeds 99 minutes, the timer will automatically return to 0 minute.
- Touch the ‘Timer’, the timer is cancelled, and the”–“will show in the minute display.

- When the time is set, it will begin to count down immediately. The display will show the remaining time and the timer indicator will flash for 5 seconds

- Buzzer will bips for 30 seconds and the timer indicator shows “- – “ when the setting time finished.
Setting the timer to turn one cooking zone offCooking zones set for this feature will:
- Touching the heating zone selection control that you want to set the timer for.

- Touch timer control , the minder indicator will start flashing and “30” will show in the timer display.

- Set the time by touching the control of the timer .
Hint: Touch the“∨” or “∧” control of the timer once will decrease or increase by 1 minute.
Touch and hold the “∨” or “∧”control of the timer will decrease or increase by 10 minutes.
If the setting time exceeds 99 minutes, the timer will automatically return to 0 minute.
- To cancel the timer, touch the heating zone selection control, and then touch the “Timer”, the timer is cancelled, and the “00”will show in the minute display, and then “–”.

- When the time is set, it will begin to count down immediately. The display will show the remaining time and the timer indicator flash for 5 seconds.
NOTE: The red dot next to power level indicator will illuminate indicating that zone is selected.
- When cooking timer expires, the corresponding cooking zone will be switch off automatically and show “H”.

- Other cooking zone will keep operating if they are turned on previously.
Setting the timer to turn more than one cooking zone off
- If use this function to more than one heating zone, the timer indicator will show the shortest time. When the short timer finish counting, the longer time will show on the display.
(e.g. zone 2# setting time of 6 minutes, zone 1# setting time of 3 minutes,
the timer indicator shows “03”.)
NOTE:
The flashing red dot next to power level indicator means the timer indicator is showing time of the heating zone.
If you want to check the set time of other heating zone, touch the heating zone selection control. The timer will indicate its set time.
- When cooking timer expires, the corresponding heating zone will be automatically switch off and show “H”.

NOTE:
If you want to change the time after the timer is set, you have to start from step 1.
Cooking Guidelines
- Take care when frying as the oil and fat heat up very quickly, particularly if you’re using PowerBoost. At extremely high temperatures oil and fat will ignite spontaneously and this presents a serious fire risk.
Cooking Tips
- When food comes to the boil, reduce the temperature setting.
- Using a lid will reduce cooking times and save energy by retaining the heat.
- Minimize the amount of liquid or fat to reduce cooking times.
- Start cooking on a high setting and reduce the setting when the food has heated through.
Simmering, cooking rice
- Simmering occurs below boiling point, at around 85˚C, when bubbles are just rising occasionally to the surface of the cooking liquid. It is the key to delicious soups and tender stews because the flavours develop without overcooking the food. You should also cook egg-based and flourthickened sauces below boiling
point. - Some tasks, including cooking rice by the absorption method, may require a setting higher than the lowest setting to ensure the food is cooked properly in the time recommended.
Searing steak
To cook juicy flavour some steaks:
- Stand the meat at room temperature for about 20 minutes before cooking.
- Heat up a heavy-based frying pan.
- Brush both sides of the steak with oil. Drizzle a small amount of oil into the hot pan and then lower the meat onto the hot pan.
- Turn the steak only once during cooking. The exact cooking time will depend on the thickness of the steak and how cooked you want it. Times may vary from about 2 – 8 minutes per side. Press the steak to gauge how cooked it is – the firmer it feels the more ‘well done’ it will be.
- Leave the steak to rest on a warm plate for a few minutes to allow it to relax and become tender before serving.
For stir-frying
- Choose an induction compatible flat-based wok or a large frying pan.
- Have all the ingredients and equipment ready. Stir-frying should be quick. If cooking large quantities, cook the food in several smaller batches.
- Preheat the pan briefly and add two tablespoons of oil.
- Cook any meat first, put it aside and keep warm.
- Stir-fry the vegetables. When they are hot but still crisp, turn the cooking zone to a lower setting, return the meat to the pan and add your sauce.
- Stir the ingredients gently to make sure they are heated through.
- Serve immediately.
Heat Settings
The settings below are guidelines only. The exact setting will depend on several factors, including your cookware and the amount you are cooking. Experiment with the induction hob to find the settings that best suit you.
| 1 – 2 |
|
| 3 – 4 |
|
| 5 – 6 |
|
| 7 – 8 |
|
| 9 |
|
Care and Cleaning
| What? | How? | Important! |
| Everyday soiling on glass (fingerprints, marks, stains left by food or non-sugary spillovers on the glass) |
|
|
| Boilovers, melts, and hot sugary spills on the glass | Remove these immediately with a fish slice, palette knife or razor blade scraper suitable for Induction glass cooktops, but beware of hot cooking zone surfaces:
|
|
| Spillovers on the touch controls |
|
|
Hints and Tips
| Problem | Possible causes | What to do |
| The induction hob cannot be turned on. | No power. | Make sure the induction hob is connected to the power supply and that it is switched on. Check whether there is a power outage in your home or area. If you’ve checked everything and the problem persists, call a qualified technician. |
| The touch controls are unresponsive. | The controls are locked. | Unlock the controls. See section ‘Using your induction cooktop’ for instructions. |
| The touch controls are difficult to operate. | There may be a slight film of water over the controls or you may be using the tip of your finger when touching the controls. | Make sure the touch control area is dry and use the ball of your finger when touching the controls. |
| The glass is being scratched. | Rough-edged cookware. Unsuitable, abrasive scourer or cleaning products being used. | Use cookware with flat and smooth bases. See ‘Choosing the right cookware’. See ‘Care and cleaning’. |
| Some pans make crackling or clicking noises. | This may be caused by the construction of your cookware (layers of different metals vibrating differently). | This is normal for cookware and does not indicate a fault. |
| The induction hob makes a low humming noise when used on a high heat setting. | This is caused by the technology of induction cooking. | This is normal, but the noise should quieten down or disappear completely when you decrease the heat setting. |
| Fan noise coming from the induction hob. | A cooling fan built into your induction hob has come on to prevent the electronics from overheating. It may continue to run even after you’ve turned the induction hob off. | This is normal and needs no action. Do not switch the power to the induction hob off at the wall while the fan is running. |
| Pans do not become hot and appears in the display. | The induction hob cannot detect the pan because it is not suitable for induction cooking. The induction hob cannot detect the pan because it is too small for the cooking zone or not properly centred on it. | Use cookware suitable for induction cooking. See section ‘Choosing the right cookware’. Centre the pan and make sure that its base matches the size of the cooking zone. |
| The induction hob or a cooking zone has turned itself off unexpectedly, a tone sounds and an error code is displayed (typically alternating with one or two digits in the cooking timer display). | Technical fault. | Please note down the error letters and numbers, switch the power to the induction hob off at the wall, and contact a qualified technician. |
Failure Display and Inspection
If an abnormality comes up, the induction hob will enter the protective state automatically and display corresponding protective codes:
| Problem | Possible causes | What to do |
| F3/F4 | Temperature sensor of the induction coil failure | Please contact the supplier. |
| F9/FA | Temperature sensor of the IGBT failure. | Please contact the supplier. |
| E1/E2 | Abnormal supply voltage | Please inspect whether power supply is normal. Power on after the power supply is normal. |
| E3 | High temperature of the induction coil temperature sensor | Please contact the supplier. |
| E5 | High temperature of the IGBT temperature sensor | Please restart after the hob cools down. |
The above are the judgment and inspection of common failures. Please do not disassemble the unit by yourself to avoid any dangers and damages to the induction hob.
Technical Specification
| Cooking Hob | 320235 |
| Cooking Zones | 2 Zones |
| Supply Voltage | 220-240V~,50-60Hz |
| Installed Electric Power | 3000-3800W |
| Product Size L×W×H(mm) | 288X520X60 |
| Building-in Dimensions A×B (mm) | 268X500 |
Weight and Dimensions are approximate. Because we continually strive to improve our products we may change specifications and designs without prior notice.
Installation
Selection of installation equipment
Cut out the work surface according to the sizes shown in the drawing. For the purpose of installation and use, a minimum of 5 cm space shall be preserved around the hole.
Be sure the thickness of the work surface is at least 30mm. Please select heat-resistant work surface material to avoid larger deformation caused by the heat radiation from the hotplate. As shown below:

| L(mm) | W(mm) | H(mm) | D(mm) | A(mm) | B(mm) | X(mm) |
| 288 | 520 | 60 | 56 | 268 | 500 | 50 mini |
Under any circumstances, make sure the Induction cooker hob is well ventilated and the air inlet and outlet are not blocked. Ensure the Induction cooker hob is in good work state. As shown below:
Note:
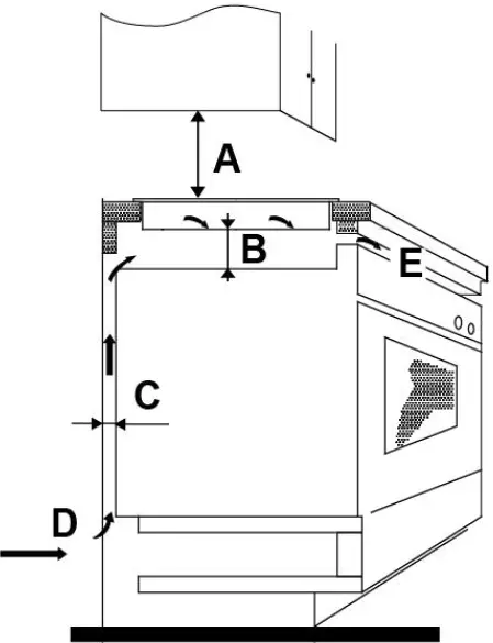
The safety distance between the hotplate and the cupboard above the hotplate should be at least 760mm.

| A(mm) | B(mm) | C(mm) | D | E |
| 760 | 50 mini | 30 mini | Air intake | Air exit 10mm |
Before you install the hob, make sure that
- the work surface is square and level, and no structural members interfere with space requirements
- the work surface is made of a heat-resistant material
- if the hob is installed above an oven, the oven has a built-in cooling fan
- the installation will comply with all clearance requirements and applicable standards and regulations
- a suitable isolating switch providing full disconnection from the mains power supply is incorporated in the permanent wiring, mounted and positioned to comply with the local wiring rules and regulations.
The isolating switch must be of an approved type and provide a 3 mm air gap contact separation in all poles (or in all active [phase] conductors if the local wiring rules allow for this variation of the requirements) - the isolating switch will be easily accessible to the customer with the hob installed
- you consult local building authorities and by-laws if in doubt regarding installation
- you use heat-resistant and easy-to-clean finishes (such as ceramic tiles) for the wall surfaces surrounding the hob.
When you have installed the hob, make sure that
- the power supply cable is not accessible through cupboard doors or drawers
- there is adequate flow of fresh air from outside the cabinetry to the base of the hob
- if the hob is installed above a drawer or cupboard space, a thermal protection barrier is installed below the base of the hob
- the isolating switch is easily accessible by the customer
Before locating the fixing brackets
The unit should be placed on a stable, smooth surface (use the packaging). Do not apply force onto the controls protruding from the hob.
Adjusting the bracket position
Fix the hob on the work surface by screw 4 brackets on the bottom of hob(see picture) after installation.
| A | B | C | D |
| Screw | Bracket | Screw hole | Bottom case |
Cautions
- The induction hotplate must be installed by qualified personnel or technicians. We have professionals at your service. Please never conduct the operation by yourself.
- The hob will not be installed directly above a dishwasher, fridge, freezer, washing machine or clothes dryer, as the humidity may damage the hob electronics.
- The induction hotplate shall be installed such that better heat radiation can be ensured to enhance its reliability.
- The wall and induced heating zone above the table surface shall withstand heat.
- To avoid any damage, the sandwich layer and adhesive must be resistant to heat.
Connecting the hob to the mains power supply
This hob must be connected to the mains power supply only by a suitably qualified person. Before connecting the hob to the mains power supply, check that:
- the domestic wiring system is suitable for the power drawn by the hob.
- the voltage corresponds to the value given in the rating plate
- the power supply cable sections can withstand the load specified on the rating plate. To connect the hob to the mains power supply, do not use adapters, reducers, or branching devices, as they can cause overheating and fire.
The power supply cable must not touch any hot parts and must be positioned so that its temperature will not exceed 75˚C at any point.
- Check with an electrician whether the domestic wiring system is suitable without alterations. Any alterations must only be made by a qualified electrician. The power supply should be connected in compliance with the relevant standard, or a single-pole circuit breaker, the method of connection is shown below.

- If the cable is damaged or to be replaced, the operation must be carried out the by after-sale agent with dedicated tools to avoid any accidents.
- If the appliance is being connected directly to the mains an omnipolar circuit-breaker must be installed with a minimum opening of 3mm between contacts.
- The installer must ensure that the correct electrical connection has been made and that it is compliant with safety regulations.
- The cable must not be bent or compressed.
- The cable must be checked regularly and replaced by authorised technicians only.
























NOTE: The red dot next to power level indicator will illuminate indicating that zone is selected.























