GoldenEar BKAA/B Triton Two+ Floorstanding Loudspeaker with Built-In Powered Subwoofer

Safety Precautions
- Read Instructions – All the safety and operating instructions should be read before the product is operated.
- Retain Instructions – The safety and operating instructions should be retained for future reference.
- Heed Warnings – All warnings on the product and in the operating instructions should be adhered to.
- Follow Instructions – All operating and use instructions should be followed.
- Cleaning – Unplug this product from the wall outlet before cleaning. Do not use liquid cleaners or aerosol cleaners. Use a damp, soft cloth for cleaning base.
- Water and Moisture – Do not use this product near water—for example, near a bath tub, wash bowl, kitchen sink, or laundry tub; in a wet basement; or near a swimming pool; and the like.
- Accessories – Do not place this product on an unstable cart, stand, tripod, bracket or table. The product may fall, causing serious injury to a child or adult and serious damage to the product. Use only with a cart, stand, tripod, bracket or table recommended by the manufacturer, or sold with the product. Any mounting of the product should follow manufacturer’s instructions and should use a mounting accessory recommended by the manufacturer.
- Ventilation – Slots and openings in the cabinet are provided for ventilation and to ensure reliable operation of the product and to protect it from overheating, and these openings must not be blocked or covered. The openings should never be blocked by placing the product on a bed, sofa, rug, or other similar surface. This product should not be placed in a built-in installation such as a bookcase or rack unless proper ventilation is provided or the manufacturer’s instructions have been adhered to.
- Power Sources – This product should be operated only from the type of power source indicated on the marking label. If you are not sure of the type of power supply to your home, consult your product dealer or local power company. For products intended to operate from battery power, or other sources, refer to the operating instructions.
- Grounding and Polarization – This product may be equipped with a polarized alternating-current line plug (a plug having one blade wider than the other). This plug will fit into the power outlet only one way. This is a safety feature. If you are unable to insert the plug fully into the outlet, try reversing the plug. If the plug should still fail to fit, contact your electrician to replace your obsolete outlet. Do not defeat the safety purpose of the polarized plug.
- Power-Cord Protection – Power supply cords should be routed so that they are not likely to be walked on or pinched by items placed upon or against them, paying particular attention to cords at plugs, convenience receptacles, and the point where they exit from the product.
- Lightning – For added protection for this product during a lightning storm, or when it is left unattended and unused for long periods of time, unplug it from the wall outlet. This will prevent damage to the product due to lightning and powerline surges.
- Overloading – Do not overload wall outlets, extension cords, or integral convenience receptacles as this can result in a risk of fire or electric shock.
- Object and Liquid Entry – Never push objects of any kind into this product through openings as they may touch dangerous voltage points or short-out parts that could result in a fire or electric shock.
Do not expose this apparatus to dripping or splashing, and ensure that no objects filled with water, such as vases, are placed on the apparatus. - Servicing – Do not attempt to service this product yourself as opening or removing covers may expose you to dangerous voltage or other hazards. Refer all servicing to qualified service personnel.
- Damage Requiring Service – Unplug this product from wall outlet and refer servicing to qualified
personnel under the following conditions:- When power supply cord or plug is damaged;
- If liquid has been spilled, or objects have fallen into product;
- If the product has been exposed to rain or water;
- If the product does not operate normally by following the operating instructions.
Adjust only those controls that are covered by the operating instructions as an improper adjustment of other controls may result in damage and will require extensive work by a qualified technician to restore the product to its normal operation; - If the product has been dropped or damaged in any way;
- If the product exhibits a distinct change in performance.
- Replacement Parts – When replacement parts are required, be sure the technician has used replacement parts specified by the manufacturer or have the same characteristics as the original part. Unauthorized substitutions may result in fire, electric shock, or other hazards.
- Safety Check – Upon completion of any service or repairs to this product, ask the service technician to perform safety checks to determine that the product is in proper operating condition.
- Wall or Ceiling Mounting – The product should be mounted to a wall or ceiling only as recommended by the manufacturer.
- Heat – The product should be situated away from heat sources such as radiators, heat registers, stoves, or other products (including amplifiers) that produce heat.
POWER SUPPLY
- The fuse and power disconnect device are located on the back of the speaker.
- The disconnect device is the power cord, detachable at either the speaker or the wall. The mains plug shall remain readily accessible/operable.
- The power cord must be disconnected from the speaker before servicing.
Unpacking your Triton Loudspeakers
Please Inspect for Shipping Damage
Each loudspeaker leaves our plant in perfect condition. Any visible or concealed damage most likely occurred in handling after it left our plant and should be reported at once to your GoldenEar Dealer and/or the delivery company that delivered your loudspeaker. Please unpack your system carefully.
Save all cartons and packing materials in case you move or need to ship your system. Record the serial number found on the back of the Triton loudspeaker here:
Please go to http://www.goldenear.com/support/registrationandwarranty and use the serial number(s) above to complete your warranty registration.
Assembly Instructions
- Tools required: #2 Phillips
- Parts included: Base, four Phillips head screws, four plastic washers, four leveling feet, four optional spikes, four locking nuts.
Instructions

- Install Base as follows:
- On a soft elevated flat surface, such as a tabletop with a towel, carefully lay the Triton on its side with the bottom of the tower overhanging the edge of the table just enough to allow the base to be fitted in place.
- Carefully slide the base onto the bottom of the tower.
- Place one plastic washer on each bolt.
- Position the base on the bottom of the speaker and insert the screws into the base from the underside (same side that the foot inserts are installed).
- Push each screw through the cloth into the threaded holes on the bottom of the Triton, and then loosely tighten all four screws. If this has been done correctly, washers will be between the base and the heads of the screws.
- GENTLY tighten each screw with the screwdriver. Do NOT over tighten or you may crack the base.
- Attach the AC cord into outlet on the back.
- Install leveling feet or spikes (see “Using Optional Spikes” section, below):
- First, install a locking nut onto each foot and then screw each foot into the four threaded inserts on the bottom of the base.
- Carefully return the speaker to the upright position with the help of another person — lift the speaker upright and lower it to the desired location; if using spikes, push down on the top of the speaker to force the spikes through the carpet and make contact with the floor beneath.
- Once you have positioned the speakers, wiggle them to see if they are stable and level. Adjust the height of the leveling feet/spikes accordingly for best level and stability, and then tighten the locking nut.
Using the Optional Spikes
In addition to the rubber feet, optional spikes have been included should you desire to use them. The use of these spikes will provide much greater stability when placing your loudspeakers on carpeting. It will also, according to many experts, result in an overall improvement in sonic performance.
NOTE: Using spikes on wooden or other floors which are susceptible to being scratched can cause damage to the floor. GoldenEar is specifically not responsible for damage which may result from the use of spikes.
Preventing Speaker Damage
GoldenEar Triton speakers are efficient and can be driven to loud listening levels with moderate amplifier power. They are also able to handle the output of very powerful amplifiers. To prevent damage to your speakers, please read the following guidelines before hooking them up.
Amplifier Distortion – #1 Threat to your New Speakers!
Amplifier distortion is the principal cause of speaker damage. When listening at loud levels your amplifier may run out of clean power. It will then begin to produce speaker-damaging distorted power. This will damage any brand of speaker very quickly! More powerful amplifiers are actually safer – For example: A 40 Watt/channel amplifier will have substantial distortion above 40 Watts. If driven to 50 watts, this amplifier will deliver speaker-damaging distorted power! But a 100 Watt/channel amplifier will have very low distortion below 100 watts. Therefore, when the speaker requires 50 Watts, this more powerful amplifier will deliver clean power and speaker damage is less likely to occur. (See your GoldenEar dealer for amplifier recommendations.)
Volume Setting
Do not be fooled by the Volume setting of your receiver/preamplifier. It only adjusts listening level — it is not a “power-output” dial. The amount of amplifier power actually used at a given Volume setting depends solely on the nature of the source material you are listening to (at a given Volume setting a quiet section of music will use less amplifier power than a loud section). With typical material, the rated output power of many receivers/amplifiers is often reached when the Volume is set to around -10dB, or between the “11” and “1 o’clock” settings with an analog control (with bass/ treble and loudness controls not used – otherwise rated power may be reached at even lower Volume settings). Remember, all amplifiers produce distortion when operated beyond their rated output power. The resulting distortion will damage all speakers! If you listen at loud levels, be careful to listen for the point of audible distortion – if the speakers begin to sound distressed, turn the Volume down or your speakers and/or amplifier(s) will be damaged! This type of damage constitutes abuse and is not covered by the warranty. If louder volumes are desired, consider a more powerful amplifier.
There is Actually a Limit!
Even with these safer, more powerful amplifiers, there is a point at which you could have more power than the speaker can handle. At that point you will overpower the speaker and damage it. At loud levels do not increase bass/treble controls from zero and ensure that all loudness/contour/bass EQ buttons are off (otherwise rated output power will be reached at even lower volume control settings).
The Right Amount of Power
A power-range rating is given in the specifications as a guide to indicate the approximate minimum and maximum power input of your GoldenEar Triton speakers. Amplifiers that meet or even exceed the speaker’s power-range rating are recommended as their greater power reserves provide better sound. But always use the speakers within their power-range rating to prevent damage – that is, keep listening levels below the point of obvious audible distortion.
Speaker Placement
GoldenEar Triton speakers are designed to allow flexible placement while providing a very large window of sound throughout your listening room. Please remember that although the following recommendations are usually valid, all rooms and listening sets-ups are somewhat unique, so do not be afraid to experiment with the speakers. Remember, whatever sounds best to you is correct.
Room Acoustics
GoldenEar Triton speakers are designed to provide exceptional sound in a wide variety of domestic settings. It is important to note however that listening room construction, dimensions and furnishings all play a part in the quality of sound you will ultimately achieve from your new speakers. The listening room will impose its own character on the performance capabilities of the speaker system. Regarding the room, please note that:
- Mid and high frequencies are affected by the amount of soft furnishings in your room — curtains, carpets, sofas, wall coverings, etc. An excess of such items can result in a somewhat dull sound.
The same room without any soft furnishings can produce an overall bright sound. The typical quantity of soft furnishings found in most living environments provides the right acoustic characteristics to allow the speakers to sound balanced. - Concrete floors and walls tend to aggravate low-frequency standing wave problems and are
less preferred. - Rooms where height, width and length are similar should be avoided as they can exhibit significant low-frequency standing wave problems. This may result in reduced clarity. If no other room is possible, experiment with speaker placement to minimize acoustic problems.
The extra care you take in correctly positioning the speakers will result in greater listening enjoyment.
So, keep the following guidelines in mind when deciding on the best speaker placement.
Speaker Break-in
Your new Triton loudspeaker system should sound good right out of the box; however, an extended break-in period of 40-60 hours or more of normal playing time is required to reach full audiophile performance capability. Break-in allows the driver suspensions to work-in and crossover components to “heal”, resulting in fuller and tighter bass, a more open “blossoming” midrange and smoother high frequency reproduction.
Positioning Triton as Left/Right Fronts
To ensure the best performance possible, observe the following placement guidelines:

Accurate Timbre: For the most accurate and natural timbre, speakers’ high-frequency drivers should be at approximately ear level.
Balanced Bass: Placing speakers in corners will over-emphasize bass and reduce overall clarity. If possible, position speakers 8 in (20 cm) or more from the wall behind the speaker and as much as possible from either side wall. This will ensure better bass performance and optimal midrange clarity. If you can’t, don’t worry; just use the subwoofer level control on the back of the speaker to adjust for optimum sound in your room.
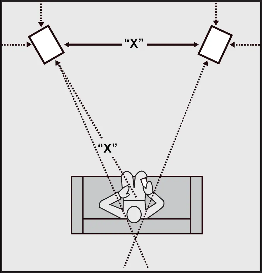
Best Imaging: Measure the distance from your main listening area to the left front speaker (we’ll call this distance “X”). For optimal imaging and largest soundstage, place speakers “X” distance apart from each other (and no less than 3/4 of that distance – 3/4 of “X”). To further optimize imaging, turn speakers inward so they point toward the listening position with their axes crossing just behind it.
Positioning Triton as Surrounds
When used as surround speakers, Triton speakers may be located on the side or behind the listeners. When used on the sides, take care never to locate the speakers forward of the listeners (A). If the speakers are placed along the rear wall as surrounds, it is suggested that they be positioned fairly wide apart if possible. For instance, if there is a couch in the center of the rear wall on which the listeners will sit, try to position the speakers wider apart than the couch (B).

Speaker Connection
Your Triton speakers have a set of speaker level (high level) 5-way binding posts and, in addition, each speaker has an LFE input. This input can be used with surround sound decoders (Receivers, A/V Processors) to separately feed the discrete “Low Frequency Effects” channel (the “.1”) into each subwoofer (which then combines with the low bass present separately in the left or right channel signals). On some systems this connection option will deliver a wider bandwidth, more dynamic LFE Channel, as well as giving you control of the LFE Channel level. Unlike a conventional system, where the subwoofer is driven only by a subwoofer signal, the Triton speakers are driven by the left and/or right channel low frequency signal also. The use of this connection method will allow you to adjust, from your receiver/ processor, the LFE channel volume level for movie playback (or any source with a “.1” channel).
If the Triton speakers are your main set of speakers, you will hook up the left main/front channel red(+) terminal of your receiver or amplifier to the red(+) terminal of your left loudspeaker and the left main/front channel black(-) terminal of your receiver or amplifier to the black(-) terminal of your left loudspeaker. Connect the right channel main/front channel red(+) terminal of your amplifier or receiver to the red(+) terminal of your right loudspeaker and the black(-) terminal of the right main/front channel of your receiver or amplifier to the black(-) terminal of your right loudspeaker. It is essential that both speakers be connected in the same way (in phase) to its own channel of the amplifier. If you experience a great lack of bass, it is likely that one speaker is out of phase (+ and – reversed) with the other.
If you are using the Triton speaker as surround speakers, hook up the left surround red(+) terminal of your receiver or amplifier to the red(+) terminal of your left surround speaker and the left surround black(-) terminal of your receiver or amplifier to the black(-) terminal of your left surround speaker. Connect the right surround red(+) terminal of your amplifier or receiver to the red(+) terminal of your right surround loudspeaker and the black(-) terminal of the right surround channel of your receiver or amplifier to the black(-) terminal of your right surround loudspeaker. Again, it is essential that both speakers be connected in the same way (in phase) to its own channel of the amplifier.
Hooking Up With Speaker Wire Only
(For 2-channel/stereo systems)
The simplest setup is to just hook-up your Triton speakers with speaker wire only, as described above. If using a home theater receiver or processor, simply set your receiver or processor’s speaker setup menu to indicate “Large*” for left and right main speakers and “No” for subwoofer. The bass management system will then send all low frequencies (including the LFE “.1” channel) into the left and right channels and it will be reproduced by the subwoofers in your Triton speakers giving you all the benefits of your two built-in subwoofers. (The speakers have a special circuit that takes the signal from the speaker level input and converts it to a low-level signal which then drives the subwoofer power amp.)

*Some receivers use the term “Full-Band”, or similar, instead of the more standard “Large” terminology.
Using the LFE Input on Your Triton Speakers
With surround sound playback you also have the option to use the low level LFE input in addition to the speaker wires. To do this, simply use a “Y” connector (available from your dealer) out of the Sub/LFE output on your receiver or processor to feed two line level cables, connecting one to the LFE input on your left Triton speaker and the other to the LFE input on your right speaker. Again, “Tell” your receiver or processor’s bass management system that you have “Large” left and right front speakers and select “Yes” for subwoofer. This will send only the .1 LFE signal via the line level cables. The use of this connection method will allow you to adjust, from your receiver/processor, the LFE channel volume level for movie playback (or any source with a “.1” channel). Some listeners prefer this method of hook-up in order to raise the LFE level for more dramatic sound effects on movies.
PLEASE NOTE: Some receivers/processors have a setting option called “Double Bass”, or sometimes “Super Bass” or “Bass+”. This option sends both LFE and bass above a specified crossover to the LFE channel. Use of this option should be avoided as it will likely cause the speakers to sound bloated and bass heavy.

If You are Using a Source Component’s Multi-Channel Analog Outputs
Because of the nature of their bass management systems, when using the multi-channel analog output from a BluRay, SACD or DVD-Audio player (or any other format that requires using 6-8 channel analog interconnects) the particular hook-up method you have chosen for your Triton speakers will impact which settings to choose in the player’s speaker setup menu. If you are using the multi-channel analog outputs from one of these players, access the player’s setup menu and set all channels using Triton speakers to “Large” and:
- If you used the connection method outlined in the “Hooking Up with Speaker Wire Only” section, set the player’s speaker setup menu to indicate “No” for subwoofer.
- If you used the connection method outlined in the “Using the LFE Input on Your Triton Speakers” section, set the player’s speaker setup menu to indicate “Yes” for subwoofer.
Setting Bass and Treble Controls on Receiver or Amplifier
Normally we recommend that you set the “Bass” and “Treble” controls on flat (or off, or 0 dB). Same applies for a graphic equalizer; we recommend that you leave it flat (or off). This will give you the most accurate and natural sound. If you want more bass, raise the subwoofer’s “Level” control on your Triton speaker, keeping in mind that even a little turn of the knob can make a big difference in the sound. The reason for this recommendation is that we have discovered what is often thought to be improper sounding speakers is, in fact, a problem caused by the use of tone controls. When in doubt, leave them out (flat); this almost always results in the best possible and most natural sounding system performance.
Powering Up the Active Subwoofer Section
Each of your Triton speakers contains a built-in powered subwoofer section as well as an electronic crossover. Each Triton speaker must be plugged into an electrical socket of the appropriate voltage (as indicated on the back of your unit) using the plug on the end of the electrical cord which you have attached to the back of the speaker. The Triton speaker has a special auto on/off circuit which automatically turns the powered subwoofer section on when a signal is fed to the loudspeaker and therefore does not require an on-off switch. (When the Triton Tower is first plugged in, the LED will flash for 30 secs while the speaker conducts a self-test, initializing the software and hardware. After 30 sec, if there is no audio signal, the LED will turn off and the subwoofer will go into standby mode drawing a low amount of power while waiting for an audio signal.) The LED on the back panel will light up when a signal is sensed and the amplifier will turn on. After you stop listening, it may take up to an hour for the amplifier to actually turn off. (Please note: In some instances, because of RF presence in your area, the LEDs may not turn off. However, this is nothing to be concerned about as the amplifiers draw almost no power when they are idling.)
Please note: It is normal to hear a slight pop from the speaker when the amp powers up.
NOTE: To prevent accidental damage to the subwoofers built into your Triton speakers from overdriving the system, the subwoofers feature an internal overload protection circuit, which will turn the subwoofers off or down when overdriven or overheated and will then resume normal operation after a few minutes.
Setting Your Speakers’ Low-Frequency Level Control
Your Triton speakers have a level control which allows you to perfectly tune the output level of the powered low frequency subwoofer section to match your room, as well as to meet your own personal listening preferences. The range of adjustment does not allow control beyond typical room/preference settings. We suggest beginning with the level control set at the 12 o’clock position. (Please note that there are no controls to vary the crossover points or phase because these have already been designed and engineered into the product to provide the best possible overall system response – a major performance benefit of having the “built-in” subwoofer.)
VERY IMPORTANT: Setting Channel Levels and Bass Management Systems
Multi-channel surround sound systems have a critical channel balancing procedure for setting the level for all speakers which must be followed if the system is to perform properly. Many problems relating to the overall sound of the system can be clearly traced back to improper system balance. Also note that multi-channel surround sound systems have bass management systems (systems which direct the bass to the various channels) which vary from unit to unit. This bass management system must also be properly adjusted. Many problems relating to the overall sound of the system can be traced back to improper bass management.
Bass Management Settings
On your receiver or A/V processor’s Speaker Setup Menu, set Left and Right main speakers to “Large” and set Subwoofer to “Yes” or “No” depending on whether you are using the additional LFE input (as discussed in Speaker Connection section). If you are using the Triton speakers for surround speakers, set the surround channels of your receiver/processor’s bass management system to “Large” also.
Setting Channel Levels
On your receiver or A/V processor’s Speaker Level Calibration Menu, set each speaker (channel) in the system to the same volume level. While you can get reasonable results doing this by ear, it is best to use an inexpensive Sound Pressure (SPL) meter to get better channel to channel balance. Some new receivers and processors have Auto Set Up functions that use a supplied microphone to set levels automatically.
Setting Low-Frequency Balance When Using Separate LFE Input
We suggest that when you are using a separate LFE input, you set the bass level on your Triton speakers to sound balanced when listening to music in stereo and use the .1 channel or subwoofer level control in your receiver/processor to raise or lower the bass level for movie sound effects as you require. Normally the level control of the left speaker will be set the same as the level control of the right speaker. However, these controls can also be set differently on the two speakers in order to allow you to vary the response of left and right speakers separately to compensate for variations and asymmetrical positioning of the left and right speakers in your room (i.e., when one speaker is closer to a side wall or corner, etc.) if this is how they best fit in your room. This is a unique and useful feature of the Triton design which allows you much greater flexibility in loudspeaker placement, as well as additional ability to optimize what could otherwise be a difficult placement situation.
Complete Home Theater Systems
We strongly suggest that you use a matching GoldenEar center channel and rear/surround speakers to complete your GoldenEar home theater system. Triton speakers can be used as rear or side surround speakers, with exceptional results for both music and movies.
Using Your Triton Speaker with an Additional Subwoofer
Although the built-in subwoofers in your Triton speakers deliver superb low frequency response and are all that are required for amazing performance, some listeners (and some very large rooms) may demand even more output and want to add an additional powered subwoofer to the system. If you choose to do so, we strongly suggest using a GoldenEar ForceField subwoofer in order to achieve perfect matching and the highest level of performance and quality possible. This should be connected with an additional RCA low-level cable connected to the LFE output of your receiver or processor. (Your receiver or processor’s bass management system may have multiple setup options for integrating the subwoofer into your system — consult your receiver/ processor’s manual and your GoldenEar dealer to select your best setup options.)
Troubleshooting
If you experience any difficulties with your Triton speakers, try the suggestions described below. If you are still having problems, please consult your GoldenEar Authorized Dealer for assistance.
- Make sure all your system interconnects and power cords are solidly in place.
- Should you experience any level of ground hum or noise, try plugging the power cord into the same circuit as your amplifier.
- The system is provided with sophisticated internal protection circuitry. If for some reason the protection circuitry is tripped, please turn down your system’s volume and wait five minutes before trying the system again. If the amplifier should overheat, the system will turn off until the amplifier cools down and resets.
- Check to be sure that your power cord has not been damaged.
- Check that no foreign objects or liquid has entered the speaker.
- If you cannot get the subwoofer driver to turn on or if no sound comes out and you are sure the system is set up properly, please bring the loudspeaker to your GoldenEar Authorized Dealer for assistance. But make sure you call first.
Technical Assistance
It is our pleasure to offer assistance if you have any questions regarding your Triton speakers or their set-up. Please contact your nearest GoldenEar dealer or contact us directly at (949) 800-1800.
Service
Service and warranty work on your GoldenEar loudspeakers will normally be performed by your local GoldenEar dealer. If, however, you wish to return the speaker to us, please contact us first, describing the problem and requesting authorization as well as the location of the nearest factory service center. Please note that the address given in this booklet is the address of our office P.O. Box only. Under no circumstances should loudspeakers be shipped to our offices or returned without contacting us first and obtaining return authorization.
The Quest Group dba
GoldenEar™
2621 White Road
Irvine, CA 92614 USA
Phone: 949-800-1800
Specifications
Triton Two
- Speaker Dimensions: 5-1/4″ (13.3 cm) W (Front) x 7-1/2″ (19 cm) W (Rear) x 15″ (38.1 cm) D x 48″ (122cm) H (height is with base installed, no spikes)
- Base: 11-1/2″ (29.2) W x 18″ (45.7) D
- Weight: 60 lbs. (27.2 kg)
- Frequency Response: 16 Hz – 35 kHz
- Efficiency: 91 dB
- Nominal Impedance: Compatible with 8 ohms
- Driver Complement:
- Two 5″ x 9″ long-throw quadratic subwoofers coupled to
- Two 7″ x 10″ quadratic planar infrasonic radiators
- Two 4-1/2″ high-definition cast-basket mid/bass drivers
- One HVFR™ High-Velocity Folded Ribbon tweeter
- Rec. Amplification: 20 – 500 Watt/channel
- Built-In Subwoofer Power Amplifier: 1200 Watt ForceField subwoofer digital/DSP amplifier
- Fuse Size:
- 5-amp 250-volt slow blow fuse (110-volt version)
- 3.15-amp 250-volt slow-blow fuse (240-volt version)
- Power Requirements/Consumption:
- Low Voltage Version – 120 V at 50 or 60 Hz / 1200 Watts
- High Voltage Version – 240 V at 50 or 60 Hz / 1200 Watts
(Approved for NA (TUV) and the CE market.)
Specifications are subject to change without notice.
Limited Warranty
5-YEARS FOR DRIVERS AND CABINETS, 3-YEARS FOR ELECTRONIC COMPONENTS
GoldenEar™ warrants to the original retail purchaser only that this GoldenEar Loudspeaker Product (the “Product”) will be free from defects in materials and workmanship for a period of five (5) years covering the drivers and cabinets, and three (3) years for the electronic components from the date of the original purchase from a GoldenEar Authorized Dealer. However, this warranty will automatically terminate prior to the expiration of five (5) years for the drivers and cabinets and three (3) years for the electronic components if the original retail purchaser sells or otherwise transfers the Product to any other party. The original retail purchaser shall hereinafter be referred to as “you.” Defective Products must be shipped, together with proof of date of purchase, prepaid insured to the Authorized Dealer from whom you purchased the Product, or to the nearest factory service center. Product(s) must be shipped in the original shipping container or its equivalent; in any case the risk of loss or damage in transit is to be borne by you. If, upon examination at the Factory or a GoldenEar Authorized Dealer, it is determined that the unit was defective in materials or workmanship at any time during this Warranty period, GoldenEar or the GoldenEar Authorized Dealer will, at its option, repair or replace this Product at no additional charge, except as set forth below. All replaced parts and Product(s) become the property of GoldenEar. Product(s) replaced or repaired under this Warranty will be returned to you, within a reasonable time, freight collect.
This Warranty does not include service or parts to repair damage caused by accident, misuse, abuse, negligence, inadequate packing or shipping procedures, commercial use, voltage in excess of the rated maximum of the unit, cosmetic appearance
of cabinetry not directly attributable to defects in materials or workmanship, or service, or repair or modification of the Product which has not been authorized by GoldenEar. GoldenEar makes no Warranty with respect to its Products purchased from dealers or outlets other than GoldenEar Authorized Dealers. This Warranty is in lieu of all other expressed Warranties. If this Product is defective in material or workmanship as warranted above, your sole remedy shall be repair or replacement as provided above. In no event will GoldenEar be liable to you for any incidental or consequential damages arising out of the use or inability to use the Product, even if GoldenEar or a GoldenEar Authorized Dealer has been advised of the possibility of such damages, or for any claim by any other party. Some states do not allow the exclusion or limitation of consequential damages, so the above limitation may not apply to you.
All implied warranties on the Product are limited to the duration of this expressed Warranty. Some states do not allow limitation on how long an implied Warranty lasts, so the above limitations may not apply to you. This Warranty gives you specific legal rights, and you also may have other rights which vary from state to state.
Visit us at www.goldenear.com



















