SCARLETT SC-SI30K59 Steam Iron Instruction Manual
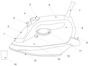
DESCRIPTION

- Spray nozzle
- Water filling inlet
- Steam Blow Button
- Spray button
- Variable steam control
- Handle
- Swiveling cord protector
- Heel rest
- Indicator light
- Half-transparent water tank
- Temperature control dial
- Self-cleaning button
- Soleplate «KeramoPro»
- Beaker
220-240 V ~ 50 Hz | 2000-2400 W | 1.1 / 1.34 kg | ![]() |
IMPORTANT SAFEGUARDS
- Please read the instruction manual before use and save it for future references.
- Before the first switching on check that voltage indicated on the rating label corresponds to the mains voltage in your home.
- For home use only. Do not use for industrial purposes. Use the steam iron only for its intended use.
- Do not use outdoors or in damp area.
- Never pull the cord while disconnecting from the power outlet; instead, grasp the plug only and pull to disconnect.
- Do not allow the cord to touch sharp edges and hot surfaces.
- Always unplug the steam iron from the power supply when filling with water or emptying and when not in use.
- To prevent risk of electric shock and fire, do not immerse the appliance in water or any other liquids. If it has happened DO NOT TOUCH the appliance, unplug it immediately and check in a service center.
- In case of power cord is damaged, its replacement should be done by the manufacture or service department or the other high-skill person to avoid any danger.
- The appliance is not intended for use for physically, sensory or mental disabled person (including children) or for person with lack of life experience or knowledge, if only they are under supervision or have been instructed about the use of the unit by responsible person.
- This appliance can be used by children aged from 8 years and above and persons with reduced physical, sensory or mental capabilities or lack of experience and knowledge if they have been given supervision or instruction concerning use of the appliance in a safe way and understand the hazards involved.
- Сleaning and user maintenance shall not be made by children without supervision.
- Children must be under control in order not to be allowed to play with the appliance.
- Keep the iron and its cord out of reach of children less than 8 years of age when it is energized or cooling down.
- Do not attempt to repair, adjust or replace any parts of the appliance. Check and repair the malfunctioning appliance in the nearest service center only.
- Do not leave the iron unattended while hot or connected or on an ironing board.
- If ironing is interrupted, stand the iron on heel rest only, do not place the steam iron on metal or rough surfaces.
- Iron should be used and stored on a flat, stable surface.
- Iron should not be used if it is dropped, if there visible signs of damage or if it leaks.
- CAUTION: To avoid a circuit overload, do not operate another high wattage appliance on the same circuit.
- If the product has been exposed to temperatures below 0ºC for some time it should be kept at room temperature for at least 2 hours before turning it on.
- The manufacturer reserves the right to introduce minor changes into the product design without prior notice, unless such changes influence significantly the product safety, performance, and functions.
- Manufacturing date is indicated on the unit and/or on packing as well as in accompanying documents in the following format XX.XXXX where first two figures XX is the month of production, and following four figures XXXX is the year of production.
IRON SOLEPLATE
- The “Keramopro” soleplates are coated with the professional metal-ceramic coating developed in collaboration with Scarlett specialists. The coating is characterized by an enhanced level of strength, glide and 100% resistance to burning.
BEFORE THE FIRST USE
- The device is designed for Ironing clothes and other fabric products.
- Some parts of the steam iron have been slightly greased and as a result the iron may slightly smoke when switched on for the first time. After a short time this will cease.
HOW TO USE
SETTING TEMPERATURE
- Always check whether a label with ironing instructions is attached to an article to be ironed.
Follow these instructions in all cases. - Turn the temperature control dial round to set the appropriate temperature indicated in ironing instructions or on fabric label.
LABEL TYPE OF TEXTILE

Do not iron this article • Synthetics, Nylon, Acrylics, Polyester, Rayon
•• Wool, Silk
•••
Cotton, Linen 
Maximum temperature (Steam)
- Insert the mains plug into the wall socket. The indicator light will turn on.
- When the indicator light goes out you may start ironing
WATER TANK FILLING
- Unplug the iron before filling the water tank.
- Hold the steam iron in horizontal position.
- Slowly pour water through the water inlet.
- Do not fill higher than mark on the water tank, in order to avoid water spilling.
- The opening which is used for pouring water should be closed when the iron is in use.
- Always unplug the iron from the power socket when refilling the water reservoir.
NOTE: Your steam iron is designed to use tap water. However, if the water is very hard, it is advisable to use distilled water.
NOTE: Do not use chemically de-limed or perfumed water.
NOTE: If you have too hard water,it is advisable to use only distilled or demineralized water. - The water tank should be emptied after each use.
SPRAYING - As long as there is enough water in the water tank, you may use the spray button at any
temperature setting during steam or dry ironing. - Press the spray button several times to activate the pump while you are ironing.
STEAM IRONING
- With the unit unplugged, fill the steam iron with water.
- Stand the steam iron on its heel rest in an upright position on an iron-safe surface and plug in.
- Set the temperature control dial to the “••“ or “•••” position.
- Set the variable steam control to the desired position.
- When finished, turn the temperature dial counterclockwise to the minimum position and unplug the appliance from the power supply.
CAUTION: Avoid coming in contact with ejected steam.
DRY IRONING
- The steam iron can be used on the dry setting with or without water in the water tank, however it is best to avoid having the water tank full while dry ironing.
- Turn the variable steam control to the minimum position 0.
CAUTION: If the steam iron has been used for a long time, it is hot and there is no water. Do not refill it with water until the steam iron cools down.
BURST OF STEAM
- The burst of steam feature provides additional steam for removing stubborn wrinkles.
- Press the powerful steam button to release the burst of steam.
NOTE: To prevent water leakage from the soleplate, do not keep the powerful steam button pressed for more than 5 seconds.
NOTE: For the best steam quality, do not use more than three successive bursts each time, because the iron will cool.
VERTICAL STEAM
- Ensure that there is enough water in the water tank.
- Stand the steam iron on its heel rest on an iron-safe surface and plug it.
- Set the temperature control dial and variable steam control to their maximum positions.
- Hold the iron vertically and press the steam burst button, an intense steam will be ejected from the soleplate.
ANTI-DRIP FUNCTION
- The ‘Anti-drop’ function prevents water spills and helps avoid the blotches on the fabric which may appear when the iron works at low temperatures.
WHEN YOU FINISHED IRONING - Set the temperature dial to the minimum position.
- Remove the mains plug from the wall socket.
CARE AND CLEANING
- Before cleaning the steam iron ensure it is unplugged from the power supply and has completely cooled down.
- Do not use abrasive cleaners.
SELF-CLEANING - Fill water reservoir up to the maximum level and then close it.
- Set the temperature control to its maximum position.
- Insert the main plug into the wall socket.
- Holding the iron horizontally over the sink then change the steam control to the maximum position and press the self-cleaning button.
- Boiling water and steam will be ejected from the holes in soleplate with Impurities washed out. Rock the iron forwards and backwards during this operation.
- Repeat self-cleaning if you notice that much impurity has been washed out.
- Move the iron over an old (preferably) piece of cloth. This to ensure that the soleplate will be dry during storage.
STORAGE
- Unplug the appliance from the power supply, empty the water tank (do it after each use) and allow the steam iron to cool down completely.
- Wrap the cord around the heel rest.
- To protect the soleplate, place the steam iron in an upright position on its heel rest.
The symbol on the unit, packing materials and/or documentations means used electrical and electronic units should not be toss in the garbage with ordinary household garbage.
These units should be pass to special receiving point.- For additional information about actual system of the garbage collection address to the local authority.
- Valid utilization will help to save valuable resources and avoid negative work on the public health and environment which happens with incorrect using garbage.
![]()
References
Scarlett
Scarlett
Официальный Ñайт техники Scarlett - Ð±Ñ‹Ñ‚Ð¾Ð²Ð°Ñ Ñ‚ÐµÑ…Ð½Ð¸ÐºÐ°, техника Ð´Ð»Ñ ÐºÑƒÑ…Ð½Ð¸ и Ð´Ð»Ñ Ð´Ð¾Ð¼Ð°, климатичеÑкое оборудование
Официальный Ñайт техники Scarlett - Ð±Ñ‹Ñ‚Ð¾Ð²Ð°Ñ Ñ‚ÐµÑ…Ð½Ð¸ÐºÐ°, техника Ð´Ð»Ñ ÐºÑƒÑ…Ð½Ð¸ и Ð´Ð»Ñ Ð´Ð¾Ð¼Ð°, климатичеÑкое оборудование
Dictionary



The symbol on the unit, packing materials and/or documentations means used electrical and electronic units should not be toss in the garbage with ordinary household garbage.

















