SC-GS130S03 Garment Steamer
Instruction Manual
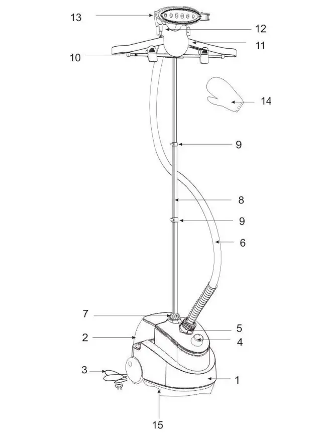
DESCRIPTION
| 1. Base Unit | 9. Stand Height Adjustment Locks |
| 2. Water Tank | 10. Trousers Hanger |
| 3. Power Cord and Plug | 11. Clothes Hanger |
| 4. On/Off regulator | 12. Attachment Holder |
| 5. Hose Connector Opening | 13. Brush |
| 6. Hose | 14. Mitten |
| 7. Telescopic Stand Opening and Lock | 15. Gag |
| 8. Telescopic Stand | |

| 220-240 V ~ 50 Hz | 1950 W | 3.1 / 3.6 kg | ![]() |
INSTRUCTION MANUAL
IMPORTANT SAFEGUARDS
- Please read the instruction manual before use and save it for future references.
- Before the first switching on check that voltage indicated on the rating label corresponds to the mains voltage in your home.
- For home use only. Do not use for industrial purposes. Use the steam iron only for its intended use.
- Do not use outdoors or in damp area.
- Never pull the cord while disconnecting from the power outlet; instead, grasp the plug only and pull to disconnect.
- Keep the cord away from sharp edges and hot surfaces.
- Always unplug the steam iron from the power supply when filling with water or emptying and when not in use.
- To prevent risk of electric shock and fire, do not immerse the appliance in water or any other liquids. If it has happened DO NOT TOUCH the appliance, unplug it immediately and check in a service center.
- Do not operate the steam iron with damaged cord or plug, or after the appliance malfunctions, or has been dropped or damaged in any manner. To avoid risk of electric shock, do not disassemble the steam iron; take it to a service center for examination, repair or mechanical adjustment.
- The appliance is not intended for use for physically, sensory or mental disabled person (including children) or for person with lack of life experience or knowledge, if only they are under supervision or have been instructed about the use of the unit by responsible person.
- This appliance can be used by children aged from 8 years and above and persons with reduced physical, sensory or mental capabilities or lack of experience and knowledge if they have been given supervision or instruction concerning use of the appliance in a safe way and understand the hazards involved.
Сleaning and user maintenance shall not be made by children without supervision. - Do not attempt to repair, adjust or replace any parts of the appliance. Check and repair the malfunctioning appliance in the nearest service center only.
- Children should be supervised to ensure that they do not play with the appliance.
- ATTENTION! Pour water into water tank only when the device is switched off from electric mains.
- ATTENTION! To avoid scalding please always unplug the garment steamer before attaching or detaching the fabric brush and allow it to cool completely.
- ATTENTION! The garment steamer generates high temperatures of steam. Do not touch the steam head, make sure the steamer is facing away from you in an upright position.
- ATTENTION! When using the garment steamer, make sure the steamer head is facing away from you and in an upright position.
- If the product has been exposed to temperatures below 0ºC for some time it should be kept at room temperature for at least 2 hours before turning it on.
- The manufacturer reserves the right to introduce minor changes into the product design without prior notice, unless such changes influence significantly the product safety, performance, and functions.
- Manufacturing date is indicated on the unit and/or on packing as well as in accompanying documents in the following format XX.XXXX where first two figures XX is the month of production, and following four figures XXXX is the year of production.
PREPARATION FOR USE
- Unpack the appliance.
- Before connecting the appliance to mains, assemble it fully and properly.
- Adjust the telescopic stand to the comfortable height.
- Secure the stand height, using stand height adjustment locks.
- Insert the stand into the stand opening located in the base unit, and screw the locking mechanism up to the stop. To remove the stand, unscrew the locking mechanism.
- Attach the hangers to the stand, screwing them on the upper part of the stand up to the stop.
- Attach the hose to the hose connector.
WATER FILLING
- Pull the tank handle and detach the water tank.
- Turn the tank over and unscrew the lid.
- Fill the water tank. Please observe the maximum level mark, do not overfill.
- Screw and tighten the tank lid.
- Install the tank in place.
- If the tank is empty, first turn off the steamer, then unplug it and add water.
- Place the assembled appliance on a firm and level surface. The appliance is ready for operation.
OPERATION
- Connect the appliance to mains.
- Hang the clothes on the hangers for steaming.
- Turn the On/Off regulator.
- The appliance is ready for steaming.
STEAMING
- Move the steamer attachment slowly up and down along the clothes until you reach the desired result.
- Make sure that the hose is not twisted during operation.
- Prior to steaming, check the tag on the clothes to make sure that the clothes can be exposed to steam. Some materials, such as leather, chamois and velvet, may not be suitable for steaming.
- Touch the clothing with the attachment slightly during steaming.
- Always hold the attachment in a vertical position, so that the condensate will flow back into the steamer. If steaming is performed in a horizontal position, lift hose frequently to allow the condensate to drain back.
- WARNING! During steaming hold the attachment as far from the body as possible, to avoid contact with hot steam coming out of the attachment holes.
END OF OPERATION
- Turn the On/Of regulator counterclock-wise to switch the appliance off.
- Unplug the appliance from mains.
- Place the attachment on the attachment holder and let the appliance cool down.
- Drain water from the tank completely.
- Retract the telescopic stand and move the appliance in a convenient place for storage.
DESCALING
- The scale settles on the main parts and assemblies of the steamer over a period of time. To remove scale from the steamer, it is recommended to carry out the cleaning (descaling) procedure monthly.
- For cleaning, prepare the following solution: vinegar (50%) and water (50%). It is sufficient to prepare two cups of this solution.
- Slowly pour the solution into the tank.
- Perform one operating cycle with this solution. Then rinse the tank with running water.
CLEANING AND MAINTENANCE
- The use of distilled or demineralised water will reduce the frequency of cleaning. However, you can use the tap water.
- Switch the device off and unplug it.
- Disassemble the hose and the telescopic stand, and set them aside separately.
- Drain the water from the reservoir for this unscrew the cap to remove the water from the tank.
The remaining water must be removed by unscrewing the plug at the bottom of the device. - ATTENTION! Before draining the water you must wait until the device has cooled (about 30 minutes), in order to avoid burns when draining hot water.
- Wash the base unit.
STORAGE
- Switch off and unplug the appliance; let it entirely cool.
- Complete all requirements of Chapter CLEANING AND CARE.
- Keep the appliance in a dry cool place.
- The symbol on the unit, packing materials and/or documentations means used electrical and electronic units should not be toss in the garbage with ordinary household garbage.
These units should be pass to special receiving point.
For additional information about actual system of the garbage collection address to the local authority.- Valid utilization will help to save valuable resources and avoid negative work on the public health and environment which happens with incorrect using garbage.
References
Scarlett
Scarlett
Официальный Ñайт техники Scarlett - Ð±Ñ‹Ñ‚Ð¾Ð²Ð°Ñ Ñ‚ÐµÑ…Ð½Ð¸ÐºÐ°, техника Ð´Ð»Ñ ÐºÑƒÑ…Ð½Ð¸ и Ð´Ð»Ñ Ð´Ð¾Ð¼Ð°, климатичеÑкое оборудование
Официальный Ñайт техники Scarlett - Ð±Ñ‹Ñ‚Ð¾Ð²Ð°Ñ Ñ‚ÐµÑ…Ð½Ð¸ÐºÐ°, техника Ð´Ð»Ñ ÐºÑƒÑ…Ð½Ð¸ и Ð´Ð»Ñ Ð´Ð¾Ð¼Ð°, климатичеÑкое оборудование
Dictionary




















