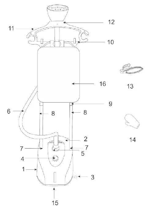
SCARLETT SC-GS130S19 Garment Steamer
Overview

SAFETY INSTRUCTIONS
- To prevent damage of the appliance, please read these instructions carefully prior to its use. Incorrect use of the appliance may lead to damage of the appliance, property loss or personal injury.
- Before initial use check if the electrical specifications correspond to the parameters of power supply.
- The appliance is designed for domestic use only. The appliance is not designed for industrial use.
- Do not use outdoors or in high humidity conditions.
- To disconnect the power cord from the mains supply, pull out the plug, do not pull the cord.
- Do not allow the power cord to come into contact with sharp edges or hot surfaces.
- Always unplug the appliance when not in use, or for filling water.
- To prevent electric shock or fire, do not immerse the appliance or power cord in water or other liquids. If this happens, NEVER touch the appliance! Unplug it immediately and contact the Service Centre to test the appliance for safety and proper condition.
- If the power cord is damaged, it should be replaced by the manufacturer or the Service Centre authorized by the manufacturer, or by similarly skilled staff.
- The appliance should not be used by persons with reduced physical, sensory or mental abilities (including children), or persons having insufficient skills or knowledge, without supervision or instruction of the person responsible for their safety.
- Never try to repair this appliance by yourself. In case of failure, contact the nearest Service Centre.
- Do not allow children to play with the appliance! Do not leave the appliance unattended in the presence of children!
- NEVER leave the appliance plugged in unattended.
- WARNING! To prevent power circuit overload, never connect the appliance simultaneously with other appliances with high power consumption to the same circuit.
- If the appliance is brought from the area where its temperature was lower than 0 ºC, then it is recommended to wait at least 2 hours at room temperature before switching the appliance on.
- The manufacturer reserves the right to make minor changes to the product’s design that do not dramatically affect its safety, efficiency, and functionality, without notice.
- The manufacturing date is indicated on the unit and/or on packing as well as in accompanying documents in the following format XX.XXXX where the first two figures XX is the month of production, and the following four figures XXXX is the year of production.
- Caution! Hot surface!
PREPARATION FOR USE
- Unpack the appliance.
- Before connecting the appliance to the mains, assemble it fully and properly.
- Adjust the telescopic stand to a comfortable height.
- Secure the stand height, using stand height adjustment locks.
- Insert the stand into the stand hole.
- To disconnect the stand after use, remove the stand.
- Attach the hose to the hose connector.
WATER FILLING
- Pull the tank handle and detach the water tank.
- Turn the tank over and unscrew the lid.
- Fill the water tank. Please observe the maximum level mark, do not overfill.
- Screw and tighten the tank lid.
- Install the tank in place.
- If the tank is empty, first turn off the steamer, then unplug it and add water.
- Place the assembled appliance on a firm and level surface. The appliance is ready for operation.
OPERATION
- Connect the appliance to the mains.
- Hang the clothes on the hangers for steaming.
- For more convenient steaming in the device provides a board to maintain things. During steaming, it should be behind the thing you are steaming.
- You can install the board in a convenient position for you: upstairs, hooking to the hanger with special fasteners, located on the board, or vertically to the racks as well with the help of special fasteners.
- Turn the regulator.
- Place the brush on the nozzle.
- The appliance is ready for steaming.
STEAMING
- Move the steamer attachment slowly up and down along the clothes until you reach the desired result.
- Make sure that the hose is not twisted during operation.
- Touch the clothing with the attachment slightly during steaming.
- Always hold the attachment in a vertical position, so that the condensate will flow back into the steamer. If steaming is performed in a horizontal position, lift the hose frequently to allow the condensate to drain back.
- WARNING! During steaming hold the attachment as far from the body as possible, to avoid contact with hot steam coming out of the attachment holes.
- For ease of steaming, trousers use clothespins on the hanger.
END OF OPERATION
- Turn the regulator to the OFF position.
- Unplug the appliance from the mains. Let the appliance cool down for 30 minutes.
- Place the attachment on the attachment holder.
- Drain water from the tank completely.
- Retract the telescopic stand and move the appliance in a convenient place for storage.
DESCALING
- The scale settles on the main parts and assemblies of the steamer over a period of time. To remove the scale from the steamer, it is recommended to carry out the cleaning (descaling) procedure monthly.
- For cleaning, prepare the following solution: vinegar (50%) and water (50%). It is sufficient to prepare two cups of this solution.
- Slowly pour the solution into the tank.
- Perform one operating cycle with this solution. Then rinse the tank with running water.
CLEANING AND MAINTENANCE
- The use of distilled or demineralized water will reduce the frequency of cleaning. However, you can use tap water.
- Switch the device off and unplug it.
- Disassemble the hose and the telescopic stand, and set them aside separately.
- Drain the water from the reservoir for this unscrew the cap to remove the water from the tank. The remaining water must be removed by unscrewing the plug at the bottom of the device.
- ATTENTION! Before draining the water you must wait until the device has cooled (about 30 minutes), in order to avoid burns when draining hot water.
- Wash the base unit.
STORAGE
- Switch off and unplug the appliance; let it entirely cool.
- Complete all requirements of Chapter CLEANING AND CARE.
- Keep the appliance in a dry cool place.
- The symbol on the unit, packing materials, and/or documentation means used electrical and electronic units and the batteries should not be tossed in the garbage with ordinary household garbage. These units should be pass to a special receiving point.
- For additional information about the actual system of garbage collection address to the local authority.
- Valid utilization will help to save valuable resources and avoid negative work on the public health and environment which happens with incorrect using garbage.






















