Installation Instructions
Free-Standing and Front Control Electric Ranges
BEFORE YOU BEGIN
Read these instructions completely and carefully.
- IMPORTANT — Save these instructions for local inspector’s use.
- IMPORTANT — Observe all governing codes and ordinances.
- Note to Installer - Be sure to leave these instructions with Consumer.
- Note to Consumer - Keep these instructions for future reference.
- Skill level - Installation of this appliance requires basic mechanical skills and advanced electrical skills.
- Proper installation is the responsibility of the installer.
- Product failure due to improper installation is not covered under Warranty.
FOR YOUR SAFETY:
![]() | ![]() |
Tip-Over Hazard
|
If you did not receive an anti-tip bracket with your purchase, call 1.800.626.8774 to receive one at no cost. (In Canada, call 1.800.561.3344.) For installation instructions of the bracket, visit: www.GEAppliances.com.
(In Canada, www.GEAppliances.ca.)

Anti-Tip Bracket
Kit Included
Before beginning the installation, switch power off at service panel and lock the service disconnecting means to prevent power from being switched on accidentally. When the service disconnecting means cannot be locked, securely fasten a prominent warning device, such as a tag, to the service panel.
MATERIALS YOU MAY NEED

Squeeze Connector
(For Conduit Installations Only)

(UL Listed 40 AMP)
4-Wire Cord 4’ long OR 3-Wire Cord 4’ long
TOOLS YOU WILL NEED
Drill with 1/8″ Bit Tape Measure
Safety Glasses Pliers
Adjustable Wrench ¼″ Nut Driver
Level
Tin Snips
1 REMOVE PACKAGING MATERIALS:
Failure to remove packaging materials could result in damage to the appliance. Remove all packing parts from oven, racks, heating elements and drawer. Also, remove protective film and labels on the outer door, cooktop and control panel.
2 PREPARE THE OPENING (FOR INDOOR USE ONLY)
See illustrations for all rough-in and spacing dimensions. The range may be placed with 0″ clearance (flush) at the back wall and side walls of the cabinet.

- Unit will not mount flush to counter when heights are less than 36″.
- Acceptable electrical outlet area. Orient electrical receptacle so the length is parallel to floor.
Use a flush mount outlet for double oven models.

REAR CONTROL FRONT CONTROL
NOTE: Rear wall to front of door glass.
NOTE: Use a 4′ power cord to prevent interference with the storage drawer. Power cords 4½′ to 6′ long may have to be dressed to allow for proper drawer closing.
MINIMUM DIMENSIONS BETWEEN COOKTOP, WALLS AND ABOVE THE COOKTOP:
A. Make sure the wall covering, countertop, flooring and cabinets around the range can withstand the heat (up to 200°F) generated by the range.
B. Allow 30″ minimum clearance between surface units and bottom of unprotected wood or metal cabinet, or allow a 24″ minimum when bottom of wood or metal cabinet is protected by no less than ″ thick flame retardant millboard covered with not less than No 28 MSG sheet metal, (.015″), .015″ thick stainless steel, .024″ aluminum or .020″ copper.
C. This appliance has been approved for 0″ spacing to adjacent surfaces above the cooktop. However, a 6″ minimum spacing to surfaces less than 15″ above the cooktop and adjacent cabinet is recommended to reduce exposure to steam, grease splatter and heat.
To reduce the risk of burns or fire when reaching over hot surface elements, cabinet storage space above the cooktop should be avoided. If cabinet storage space is to be provided above the cooktop, the risk can be reduced by installing a range hood that projects at least 5″ beyond the front of the cabinets. Cabinets installed above the cooktop must be no deeper than 16″.
3 ELECTRICAL REQUIREMENTS
This appliance must be properly grounded.
All new constructions, mobile homes, recreational vehicles and installations where local codes do not allow grounding through neutral, require a 4-conductor UL-listed range cord.
To prevent fire or shock, do not use an extension cord with this appliance.
To prevent shock, remove house fuse or open circuit breaker before beginning installation.
We recommend you have the electrical wiring and hookup of your range connected by a qualified electrician. After installation, have the electrician show you how to disconnect power from the range.
You must use a single-phase, 120/208 VAC or 120/240 VAC, 60 hertz electrical system. If you connect to aluminum wiring, properly installed connectors approved for use with aluminum wiring must be used.
Effective January 1, 1996, the National Electrical Code requires that new construction (not existing) utilize a 4-conductor connection to an electric range. When installing an electric range in new construction, mobile home, recreational vehicle, or an area where local codes prohibit grounding through the neutral conductor, refer to the section on four-conductor branch circuit connections.
Check with your local utilities for electrical codes which apply in your area. Failure to wire your oven according to governing codes could result in a hazardous condition. If there are no local codes, your oven must be wired and fused to meet the National Electrical Code, NFPA No. 70 - latest edition, available from the National Fire Protection Association.
This appliance must be supplied with the proper voltage and frequency, and connected to an individual, properly grounded, 40 amp (minimum) branch circuit protected by a circuit breaker or time-delay fuse.
Use only a 3-conductor or a 4-conductor UL-listed range cord. These cords may be provided with ring terminals on wire and a strain relief device.
A range cord rated at 40 amps with 125/250 minimum volt range is required. A 50 amp range cord is not recommended but if used, it should be marked for use with nominal 13/8″ diameter connection openings. Care should be taken to center the cable and strain relief within the knockout hole to keep the edge from damaging the cable.
The rating plate is located on the oven frame or on the drawer frame.
SINGLE OVEN DOUBLE OVEN

- Rating plate
4 POWER CORD AND CONDUIT INSTALLATION
A. Remove wire cover (on the back of range) by removing screws using a ¼″ nut driver. You can access the terminal block by either removing a terminal block cover (on some models) or the wire cover. Do not discard these screws.

- Back of range
- 5 screws to remove wire cover
- Wire cover
- Screw to remove terminal block cover
- Terminal block cover
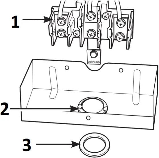
B. For power cord and 1″ conduit only, remove the knockout ring (1⅜″) located on bracket directly below the terminal block. To remove the knockout, use a pair of pliers to bend the knockout ring away from the bracket and twist until ring is removed.
- Terminal block (appearance may vary)
- Knockout ring in bracket
- Knockout ring removed
C. For power cord installations only (see the next step if using conduit), assemble the strain relief in the hole. Insert the power cord through the strain relief and tighten. Allow enough slack to easily attach the cord terminals to the terminal block. If tabs are present at the end of the winged strain relief, they can be removed for better fit.
NOTE: Do not install the power cord without a strain relief. The strain relief bracket MUST be installed before reinstalling the rear range wiring cover.
- Strain relief
- Terminal block
- Bracket
- Power cord
D. For ¾″ conduit installations only, purchase a squeeze connector matching the diameter of your conduit and assemble it in the hole. Insert the conduit through the squeeze connector and tighten. Allow enough slack to easily attach the wires to the terminal block. NOTE: Do not install the conduit without a squeeze connector. The squeeze connector MUST be installed before reinstalling the rear range wire or terminal block cover.

- Squeeze connector
- Terminal block
- Bracket
- Conduit
E. Replace wire cover on range back and replace the screws removed earlier. Make sure that no wires are pinched between cover and range back. Replace the terminal block cover if it was removed.
PROCEED TO STEP 5 OR 6.
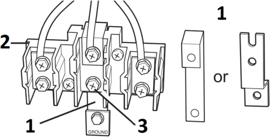
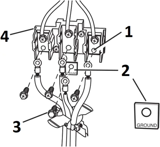
5 3-WIRE INSTALLATION
The neutral or ground wire of the power cord must be connected to the neutral terminal located in the center of the terminal block and the ground strap must connect the neutral terminal to the ground plate. The power leads must be connected to the lower left and the lower right terminals of the terminal block.
DO NOT remove the ground strap connection.
FOR POWER CORD INSTALLATION
A. Remove the 3 lower terminal screws from the terminal block.
B. Insert the 3 terminal screws through each power cord terminal ring and into the lower terminals of the terminal block. Be certain that the center wire (white/neutral) is connected to the center lower position of the terminal block.
C. Tighten screws securely into the terminal block.
FOR CONDUIT INSTALLATION
A. Loosen the 3 lower terminal screws on the terminal block. Strip wire to expose tip about 5/8″ long.
B. Insert the center (white/neutral) wire tip through the bottom center terminal block opening. On certain models, the wire will need to be inserted through the ground strap opening and then into the bottom center block opening. Insert the two side bare wire tips into the lower left and the lower right terminal block openings.
C. Tighten the screws until the wire is firmly secured (35 to 50 inch-lbs.). Do not over-tighten the screws.
NOTE: ALUMINUM WIRING: Aluminum building wire may be used but it must be rated for the correct amperage and voltage.
Power Cord

- Power cord
- Ground plate
- Ground strap
- Neutral terminal
- Terminal block (appearance may vary)
Conduit

- Conduit
- Wire tips
- Terminal block
PROCEED TO STEP 7.
6 4-WIRE INSTALLATION
The neutral wire of the supply circuit must be connected to the neutral terminal located in the lower center of the terminal block. The power leads must be connected to the lower left and the lower right terminals of the terminal block. The grounding lead must be connected to the frame of the range with the ground plate and the green ground screw.
FOR POWER CORD INSTALLATION
A. Remove the 3 lower terminal screws from the terminal block. Remove the ground screw and ground plate and retain them. Cut and discard the ground strap. DO NOT DISCARD ANY SCREWS.
B. Insert the one ground screw into the power cord ground wire terminal ring, through the ground plate and into the frame of the range.
C. Insert the 3 terminal screws (removed earlier) through each power cord terminal ring and into the lower terminals of the terminal block. Be certain that the center wire (white/neutral) is connected to the center lower position of the terminal block. Tighten screws securely into the terminal block.
FOR CONDUIT INSTALLATION
A. Loosen the 3 lower terminal screws on the terminal block. Strip wire to exposed tip about 5/8″ long.
B. Insert the center (white/neutral) wire tip through the bottom center terminal block opening. On certain models, the wire will need to be inserted through the ground strap opening and then into the bottom center block opening. Insert the two side bare wire tips into the lower left and the lower right terminal block openings.
C. Tighten the screws until the wire is firmly secured (35 to 50 inch-lbs.). Do not over-tighten the screws.
NOTE: ALUMINUM WIRING: Aluminum building wire may be used but it must be rated for the correct amperage and voltage.
Before-Power Cord and Conduit

- Ground strap
- Terminal block
- Neutral terminal
After-Power Cord

- Neutral terminal
- Ground plate (grounding to range)
- Ground screw
- Terminal block
After-Conduit

- Ground plate (grounding to range)
- Ground screw
- Wire tips
- Terminal block
31-11105-4 11-18 GEA
7 ANTI-TIP DEVICE INSTALLATION
![]() | ![]() |
Tip-Over Hazard
|
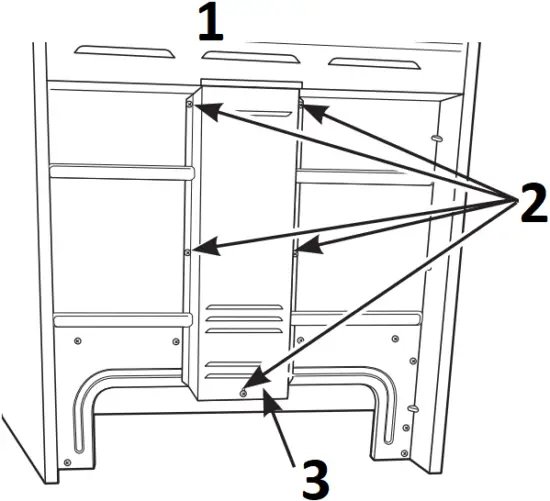
To reduce the risk of tipping the range, the range must be secured by a properly installed anti-tip bracket. See installation instructions shipped with the bracket for complete details before attempting to install.
To check if the bracket is installed and engaged properly, look underneath the range to see that the rear leveling leg is engaged in the bracket. On some models, the storage drawer or kick panel can be removed for easier inspection. If visual inspection is not possible, slide the range forward, confirm the anti-tip bracket is securely attached to the floor or wall and slide the range back so the leveling leg is under the anti-tip bracket. If the range is pulled from the wall for any reason, always repeat this procedure to verify the range is properly secured by the anti-tip bracket. Never completely remove the leveling legs or the range will not be secured to the anti-tip bracket.
8 LEVEL THE RANGE
Never completely remove the leveling leg as the range will not be secured to the anti-tip device properly.
SINGLE OVEN MODELS WITH STORAGE DRAWER
A. Plug in unit and slide into place.
B. Remove the drawer. Refer to your owner’s manual for instructions.
C. Install the oven shelves in the oven and position the range where it will be installed.
D. Check for levelness by placing a spirit level on one of the oven shelves. Take two readings–with the level placed diagonally first in one direction and then the other.
E. The front leveling legs can be adjusted from the bottom and the rear legs can be adjusted from the top or the bottom.
F. Use an adjustable wrench to adjust the leveling legs until the range is level.
G. Position cord so that it does not interfere with drawer.
H. Reinstall the drawer. Refer to your owner’s manual for instructions.

- Stop

- Spirit level

- Lower range
- Raise range
- Leg leveler
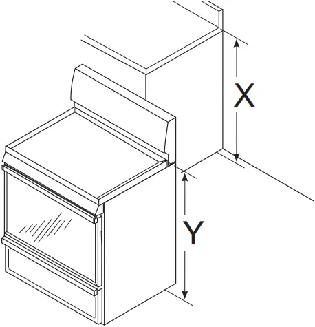
MODELS WITH DOUBLE OVEN
A. Plug in the unit.
B. Measure the height of your countertop at the rear of the opening (X).
C. Adjust two rear leveling legs so that the rear of cooktop is at the same height as the counter (Y).
D. Slide unit into place.
E. Install oven shelves in the oven and position the range where it will be installed.
F. Check for levelness by placing a spirit level on one of the oven shelves. Take two readings– with the level placed diagonally first in one direction and then the other.
G. Adjust front leveling legs until the range is level.
Some models have custom handles. Please follow the instructions with the handles for proper installation.
9 FINAL INSTALLATION CHECKLIST
- Check to make sure the circuit breaker is closed (RESET) or the circuit fuses are replaced.
- Be sure power is in service to the building.
- Check that all packing materials and tape have been removed. This will include tape on metal panel under control knobs (if applicable), adhesive tape, wire ties, cardboard and protective plastic. Failure to remove these materials could result in damage to the appliance once the appliance has been turned on and surfaces have heated.
- Check that the door and drawer are parallel to each other and that both operate smoothly. If they do not, see the Owner’s Manual for proper replacement.
- Check to make sure that the rear leveling leg is fully inserted into the Anti-Tip bracket and that the bracket is securely installed.
- If applicable – install handles following handle installation instructions and check that both ends are secured.
OPERATION CHECKLIST
- Using a ferrous pan that meets the minimum pan size for the induction element (refer to your Owner’s Manual), turn on the power to the cooktop. Verify that all surface elements operate properly. Elements that are not induction do not require the pan for verification.
- Check that the oven control operates properly. If the oven control does not operate properly, recheck the wiring connections.
- Be sure all range controls are in the OFF position before leaving the range.




















