MATT BLATT MBVALPGCTBA Coffee Table

Components
FITTINGS

ASSEMBLY
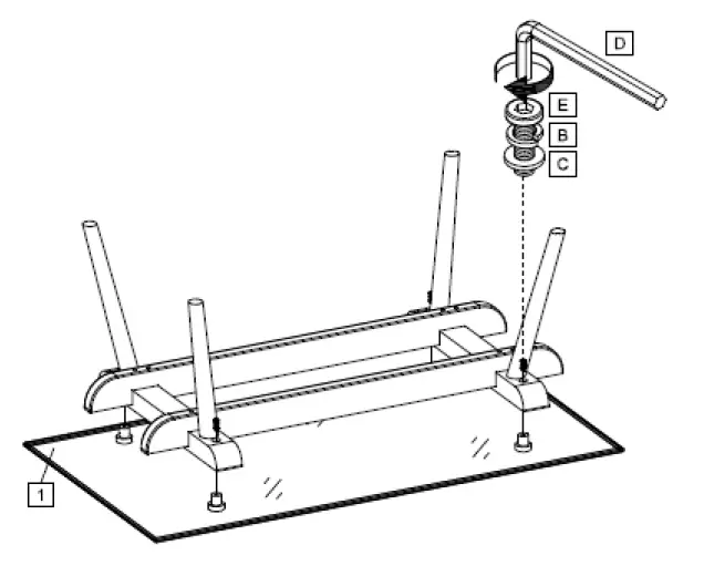
Step 1:

Step 2:

Step 3:

Step 4:






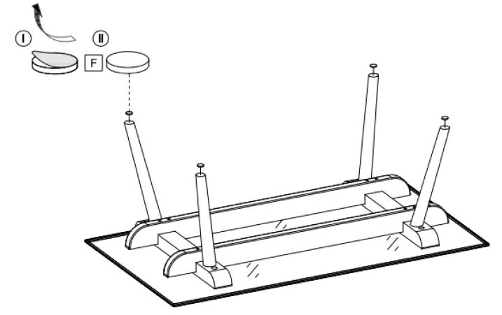
Step 1:

Step 2:

Step 3:

Step 4:


Download manual
Here you can download full pdf version of manual, it may contain additional safety instructions, warranty information, FCC rules, etc.