SONBUS SD2110B Temperature and Humidity Data Display
Technical Parameters
| Technical parameter | Parameter value |
| Brand | SONBEST |
| Temperature measuring range | -30℃~80℃ |
| Temperature measuring accuracy | ±0.5℃ @25℃ |
| Humidity measuring range | 0~100%RH |
| Humidity accuracy | ±3%RH @25℃ |
| Communication Interface | RS485 |
| Default baud rate | 9600 8 n 1 |
| Power | DC9~24V 1A |
| Display | LCD |
| Running temperature | -40~80°C |
| Working humidity | 5%RH~90%RH |
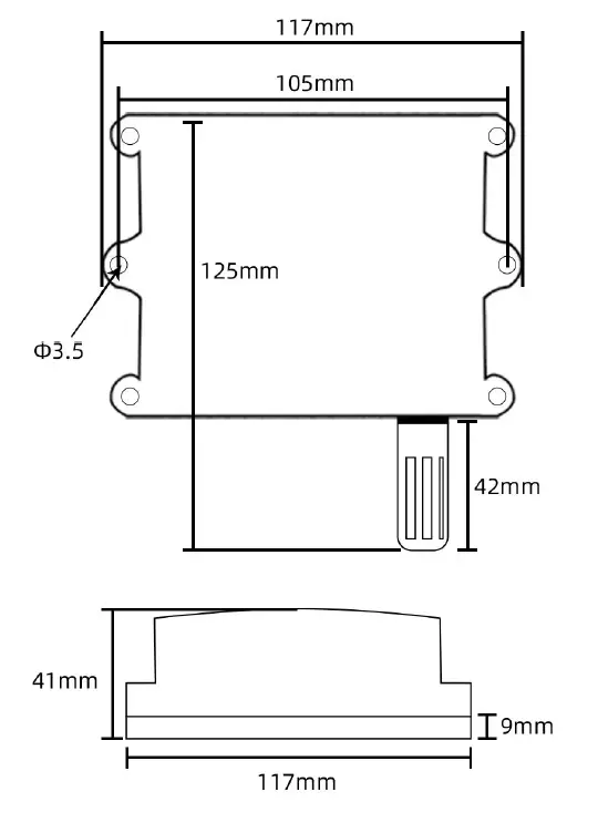
Product Size 
How to wiring? 
Application solution 

How to use? 
Communication Protocol
The product uses RS485 MODBUS-RTU standard protocol format, all operation or reply commands are hexadecimal data. The default device address is 1 when the device is shipped, the default baud rate is 9600, 8, n, 1
Read Data (Function id 0x03)
Inquiry frame (hexadecimal), sending example: Query 1# device 1 data, the host computer s command:01 03 00 00 00 02 C4 0B .
| Device ID | Function id | Start Address | Data Length | CRC16 |
| 01 | 03 | 00 00 | 00 02 | C4 0B |
For the correct query frame, the device will respond with data:01 03 04 00 7A 00 00 DB EA , the response format is parsed as follows:
| Device ID | Function id | Data Length | Data 1 | Data 2 | Check Code |
| 01 | 03 | 04 | 00 79 | 00 7A | DB EA |
Data Description: The data in the command is hexadecimal. Take data 1 as an example. 00 79 is converted to a decimal value of 121. If the data magnification is 100, the actual value is 121/100=1.21. Others and so on.
Data Address Table
| Address | Start Address | Description | Data type | Value range |
| 40001 | 00 00 | temperature | Read Only | 0~65535 |
| 40002 | 00 01 | humidity | Read Only | 0~65535 |
| 40101 | 00 64 | model code | read/write | 0~65535 |
| 40102 | 00 65 | total points | read/write | 1~20 |
| 40103 | 00 66 | Device ID | read/write | 1~249 |
| 40104 | 00 67 | baud rate | read/write | 0~6 |
| 40105 | 00 68 | mode | read/write | 1~4 |
| 40106 | 00 69 | protocol | read/write | 1~10 |
read and modify device address (1) Read or query device address
If you don’t know the current device address and there is only one device on the bus, you ca command FA 03 00 64 00 02 90 5F Query device address.
| Device ID | Function id | Start Address | Data Length | CRC16 |
| FA | 03 | 00 64 | 00 02 | 90 5F |
FA is 250 for the general address. When you don’t know the address, you can use 250 to get the real device address, 00 64 is the device model register.
For the correct query command, the device will respond, for example the response data is: 01 03 02 07 12 3A 79, the format of which is as shown in the following table:
| Device ID | Function id | Start Address | Model Code | CRC16 |
| 01 | 03 | 02 | 55 3C 00 01 | 3A 79 |
Response should be in the data, the first byte 01 indicates that the real address of the current device is, 55 3C converted to decimal 20182 indicates that the current device main model is 21820, the last two bytes 00 01 Indicates that the device has a status quantity.
change devise address
For example, if the current device address is 1, we want to change to 02, the command is:01 00 02 E8 14 .
| Device ID | Function id | Start Address | Destination | CRC16 |
| 01 | 06 | 00 66 | 00 02 | E8 14 |
| Device ID | Function id | Start Address | Destination | CRC16 |
| 01 | 06 | 00 66 | 00 02 | E8 27 |
After the change is successful, the device will return information: 02 06 00 66 00 02 E8 27 , its format is parsed as shown in the following table: Shanghai Sonbest Industrial Co., Ltd
Response should be in the data, after the modification is successful, the first byte is the new device address. After the general device address is changed, it will take effect immediately. At this time, the user needs to change the query command of the software at the same time.
Read and Modify Baud Rate (1) Read baud rate
The device default factory baud rate is 9600. If you need to change it, you can change it acc the following table and the corresponding communication protocol. For example, read the current device’s baud rate ID, the command is:01 03 00 67 00 01 35 D5 , its format is parsed as follows.
| Device ID | Function id | Start Address | Data Length | CRC16 |
| 01 | 03 | 00 67 | 00 01 | 35 D5 |
Read the baud rate encoding of the current device. Baud rate encoding: 1 is 2400; 2 is 4800; 3 is 9600; 4 is 19200; 5 is 38400; 6 is 115200.
For the correct query command, the device will respond, for example the response data is: 01 03 02 00 03 F8 45, the format of which is as shown in the following table:
| Device ID | Function id | Data Length | Rate ID | CRC16 |
| 01 | 03 | 02 | 00 03 | F8 45 |
coded according to baud rate, 03 is 9600, ie the current device has a baud rate of 9600.
Change the baud rate
For example, changing the baud rate from 9600 to 38400, ie changing the code from 3 to 5, the command is: 01 06 00 67 00 05 F8 1601 03 00 66 00 01 64 15 .
| Device ID | Function id | Start Address | Target Baud Rate | CRC16 |
| 01 | 03 | 00 66 | 00 01 | 64 15 |
Change the baud rate from 9600 to 38400, changing the code from 3 to 5. The new baud rate will take effect immediately, at which point the device will lose its response and the baud rate of the device should be queried accordingly. Modified.
5 Read Correction Value (1) Read Correction Value
When there is an error between the data and the reference standard, we can reduce the display error by adjusting the correction value. The correction difference can be modified to be plus or minus 1000, t hat is, the value range is 0-1000 or 64535 -65535. For example, when the display value is too small, we can correct it by adding 100. The command is: 01 03 00 6B 00 01 F5 D6 . In the command 100 is hex 0x64 If you need to reduce, you can set a negative value, such as -100, corresponding to the hexadecimal value of FF 9C, which is calculated as 100-65535=65435, and then converted to hexadecimal to 0x FF 9C. The correction value starts from 00 6B. We take the first parameter as an example. The correction valu e is read and modified in the same way for multiple parameters.
| Device ID | Function id | Start Address | Data Length | CRC16 |
| 01 | 03 | 00 6B | 00 01 | F5 D6 |
For the correct query command, the device will respond, for example the response data is: 01 03 02 00 64 B9 AF, the format of which is as shown in the following table:
| Device ID | Function id | Data Length | Data value | CRC16 |
| 01 | 03 | 02 | 00 64 | B9 AF |
In the response data, the first byte 01 indicates the real address of the current device, and 00 6B is the Shanghai Sonbest Industrial Co., Ltd first state quantity correction value register. If the device has multiple parameters, other parameters operate in this way. The same, the general temperature, humidity have this parameter, the light generally does not have this item.
Change correction value
For example, the current state quantity is too small, we want to add 1 to its true value, and th value plus 100 correction operation command is:01 06 00 6B 00 64 F9 FD .
| Device ID | Function id | Start Address | Destination | CRC16 |
| 01 | 06 | 00 6B | 00 64 | F9 FD |
After the operation is successful, the device will return information: 01 06 00 6B 00 64 F9 FD, the parameters take effect immediately after successful change.
Disclaimer
This document provides all information about the product, does not grant any license to intellectual property, does not express or imply, and prohibits any other means of granting any intellectual property rights, such as the statement of sales terms and conditions of this product, other issues. No liability is assumed. Furthermore, our company makes no warranties, express or implied, regarding the sale and use of this product, including the suitability for the specific use of the product, the marketability or the infringement liability for any patent, copyright or other intellectual property rights, etc. Product specifications and product descriptions may be modified at any time without notice.
Contact Us
Company: Shanghai Sonbest Industrial Co., LtdAddress:Building 8,No.215 North east road,Baoshan District,Shanghai,China Web: http://www.sonbest.com Web: http://www.sonbus.com SKYPE: soobuu Email: [email protected] Tel: 86-021-51083595 / 66862055 / 66862075 / 66861077

























