PARKER SINGLE DROP PENDANT
SKU# 018100, 018101 Rated Voltage 220-240V~ 50Hz
Installation Instructions
Thank you for purchasing this quality Lucci product. To ensure correct function and safety, please read and follow all instructions carefully before assembly, installation, and use of this product. Please keep instructions for future reference.
Warranty
- This luminaire is covered by a 12-month warranty. The warranty is from the date of purchase, not the date of installation.
- If the luminaire is not assembled and installed by a licensed electrician, the warranty will be void.
- Please retain the proof of purchase and evidence of installation by a licensed electrician for any warranty inquiries.
- The warranty will be void if there is any damage due to improper usage or modification of the luminaire.
- Failure to comply with the instructions in this manual may increase the risk of damage or injury and will void the warranty.
Installation Requirements
- This luminaire must be assembled and installed by a licensed electrician.
- All wiring and installation of the luminaire must adhere to the latest local and national wiring rules.
E.g.AS/NZS 3000 Electrical Installations. - The luminaire is a Class I product and must be earthed during wiring and installation.
- Do not exceed the maximum wattage rating.
- Select a suitable location for installation:
– This luminaire is suitable for indoor use only.
– The mounting point must support 2 times the weight of the luminaire.
– Ensure the luminaire is not installed in the direct line of an air vent/system.
– If installing a luminaire in an area prone to moisture, ensure that the area is well ventilated, and an appropriately rated exhaust fan is used if required. Damage or corrosion caused by moisture is not a product fault, and as such is not covered under warranty. - Take care not to pull any electrical wires during unpacking as this may damage the connection.
- Lay out all the components on a smooth surface and make sure no components are missing before assembling. If parts are missing, return the complete product to the place of purchase for inspection or replacement.
- Check whether the luminaire has been damaged during transport. Do not operate/install any product which appears damaged in any way. Return the complete product to the place of purchase for inspection, repair, or replacement.
- Ensure power to the circuit you are working on has been switched OFF before commencing any electrical work.
Installation Directions
- Remove all packaging material from the product and be careful not to throw away accessories that may be hidden within the packaging material. If assembly is required, place the luminaire on a smooth non-scratch surface.
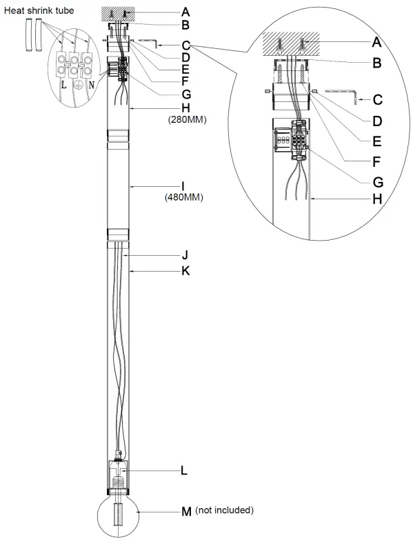
- Remove the mounting bracket (B) from the canopy (E) by loosening the grub screws (D) on the sides with the Allen key (C) provided.
- Use the mounting bracket (B) as a template to mark the screw hole positions on the ceiling.
- Install the mounting bracket (B) onto the ceiling by using appropriately sized mounting screws (F) and anchors (A).
Ensure the screws (F) and anchors (A) used are suitable for the mounting surface and the surrounding environment. - Determine the length of the suspension rod (H-280mm, I-480mm) required for your installation location. Install the required lengths of suspension rod (H-280mm, I-480mm) onto the luminaire body (K).
NOTE: Take care not to cross-thread or twist and damage the luminaire wires (J) during assembly. Pull the luminaire wires (J) out from the luminaire (K) as you assemble. Check the luminaire wires (J) after every three turns when installing the suspension rod (H&I) onto the luminaire (K). Relieve any twist in the cord by turning it anti-clockwise. - Pull the main supply wire down from the ceiling.
- Use a small flathead screwdriver to open the cover of the terminal box.
- Use a Phillips head screwdriver to loosen the screw on the cord anchorage for the main supply wire end of the terminal box.
- Prepare the main supply wire to make a connection to the terminal block.
NOTE: The bare wire must be no more than 8mm in length.
NOTE: For the remaining mains supply wire basic insulation, use the heat shrink tube provided to ensure double insulation is achieved. - Connect the main supply wire to the terminal block (G)
Mains Supply Wire Luminaire Wire / Terminal block Earth – Yellow/Green Yellow/Green or Neutral – Blue or Black Blue or N Live – Brown or Red Brown or L NOTE: THE INSTALLING ELECTRICIAN MUST ENSURE THE SUPPLY WIRE MAINTAINS DOUBLE INSULATION AFTER CONNECTING TO THE TERMINAL BLOCK
- Ensure that the wires are secure and that no bare wires are exposed.
- Place the mains supply wire into the cord anchorage and secure it by tightening the screw with a Phillips head screwdriver.
- Reinstall the cover back onto the terminal box and ensure it is secure by clicking the cover into the tabs.
CAUTION: CHECK AND ENSURE ALL ACTIVE WIRES ON THE MAINS SUPPLY SIDE ARE NOW DOUBLE INSULATED. - Install the canopy (E) onto the top of the luminaire (K) or suspension rod.
- Install the canopy (E) onto the mounting bracket (B) and secure it by tightening the grub screws (D) on the sides.
- Install a globe (M not included) into the lamp holder (L). Do not exceed the maximum wattage rating.
- After the installation, switch on the luminaire to test all the lighting functions and enjoy your new lighting product.

Safety Tips
- Always ensure the power is OFF and the luminaire has cooled down before performing any maintenance, cleaning, changing the lamps, or making any adjustments to the luminaire.
- To avoid injury or damage to the luminaire, ensure that power leads and screws are secure before connecting the power.
- Select a suitable location away from liquids and hazards.
- To clean wipe with a soft damp cloth. Do NOT soak or immerse the luminaire in water or other liquids.
- Ensure that the luminaire does not come in contact with corrosive chemicals/solvents or abrasive cleaners etc.
Specifications
| SKU # | 18100 | 18101 |
| Colour | Matte Black | Aged Brass Finish |
| Rated Voltage | 220-240V~ 50Hz | |
| Rated Wattage | 45W Max. | |
| Lamp Holder | E27 / ES | |
| Weight | 2.3kg | |
| Luminaire Dimensions | H:705mm Dia:50mm Susp:760mm Max. | |
v1.0 (06/2022)













