HELIX Pendant Light LED
User Guide
835908-HELIX
This product contains light sources of energy efficiency class <E>.
HELIX Pendant Light LED
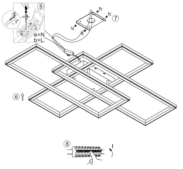
![]() | ![]() |
![]() | |
Assigning the remote control to the light
Switch the light on via the wall switch.
Press the ON button on the remote control within 5 seconds.
The light is now assigned and can be operated by the remote control.
!!! A remote control can control an unlimited number of lights. One light can be operated by one remote control !!!
| Description | Operation data |
| Battery | 2x AAA, 1,5V |
| Transmission frequency | 433,92 MHz |
| Transmitting power | 1,0 mW |
| No-load current | 0,001 mA |
| Operating current | max.15 mA |
| Range of the remote control | 6-8 m |

Paul Neuhaus GmbH
Olakenweg 36 · D-59457 Werl
+49(0)2922 9721 9290
[email protected]
www.leuchtendirekt.de






















