
USE AND CARE GUIDE
COMFORT BREEZETM REMOTE CONTROL

Item #1005 447 803
Model #98131
Questions, problems, missing parts? Before returning to the store, call Customer Service
8 a.m. – 6 p.m., EST, Monday-Friday, 9 a.m. – 6 p.m., EST Saturday
1-855-HD HAMPTON
HAMPTONBAY.COM
We appreciate the trust and confidence you have placed in Hampton Bay through the purchase of this remote control. We strive to continually create quality products designed to enhance your home. Visit us online to see our full line of products available for your home improvement needs. Thank you for choosing Hampton Bay!
Safety Information
WARNING: To reduce the risk of fire or injury, do not use this product in conjunction with any variable (rheostat) wall control.
CAUTION: Incorrect wire connections will damage this receiver.
- Read and save these instructions.
- All wiring must be in accordance with the National
Electrical Code ANSI/NFPA 70-1999 and local electrical codes. Electrical installation should be performed by a qualified licensed electrician. - The supply to the remote control receiver should be connected through a mains switch, i.e. existing wall switch.
- Disconnect from the power supply at the wall switch before working on the remote control receiver or ceiling fan.
- Install the receiver into the ceiling fan canopy of the fan to ensure proper protection.
- This unit is to be used for the control of the ceiling fan and in a AC110/120V 60Hz power supply only.
- Acceptable for installation in damp locations. Do not immerse in water.
- The remote must be stored in a dry location when not in use.
- Electrical diagrams are for reference only.
- Do not pull on or cut leads shorter.
- Do not drop or bump the unit.
- After making the electrical connections, secure each with electrical tape; spliced conductors should be turned upward and pushed carefully up into the outlet box. The wires should be spread apart with the grounded conductor and the equipment-grounding conductor on one side of the outlet box.
- o not mix old and new batteries.
- Do not mix alkaline, standard (carbon-zinc), or rechargeable (ni-cad, ni-mh, etc) batteries.
Warranty
The supplier warrants the remote control and receiver to be free from defects in workmanship and material present at time of shipment from the factory for a period of one year after the date of purchase by the original purchaser. We agree to correct such defects without charge or at our option replace with a comparable or superior model if the product is returned. To obtain warranty service, you must present a copy of the receipt as proof of purchase. All costs of removing and reinstalling the product are your responsibility. Damage to any part such as by accident or misuse or improper installation or by affixing any accessories, is not covered by this warranty. Servicing performed by unauthorized persons shall render the warranty invalid. There is no other express warranty. Home Depot hereby disclaims any and all warranties, including but not limited to those of merchantability and fitness for a particular purpose to the extent permitted by law. The duration of any implied warranty which cannot be disclaimed is limited to the time period as specified in the express warranty. Some states do not allow a limitation on how long an implied warranty lasts, so the above limitation may not apply to you. The retailer shall not be liable for incidental, consequential, or special damages arising out of or in connection with product use or performance except as may otherwise be accorded by law. Some states do not allow the exclusion of incidental or consequential damages, so the above exclusion or limitation may not apply to you. This warranty gives specific legal rights, and you may also have other rights which vary from state to state. This warranty supersedes all prior warranties. Shipping costs for any return of product as part of a claim on the warranty must be paid by the customer.
Contact the Customer Service Team at 1-855-HD HAMPTON or visit www.HAMPTONBAY.COM
Pre-Installation
TOOLS REQUIRED

PACKAGE CONTENTS

IMPORTANT: This product and/or components are governed by one or more of the following U.S. Patents: 5,947,436; 5,988,580; 6,010,110; 6,046,416, 6,210,117 and other patents pending.
| Part | Description | Quantity |
| A | Transmitter | 1 |
| B | Receiver | 1 |
| C | Plastic wire connector | 5 |
| D | AAA battery (1.5 V) | 2 |
| E | Silicone rubber plug | 1 |
| F | Wall cradle | 1 |
| G | Wall cradle screw | 2 |
| H | Plastic anchor | 2 |
Installation
- Setting the codes on the remote control and receiver
NOTE: The frequencies on your receiver and hand unit have been preset at the factory. Before installing the receiver, make sure the dip switches on the receiver and hand unit are set to the same frequency. The dip switches on the hand unit are located inside the battery compartment.
NOTE: The battery will weaken with age and should be replaced before leaking takes place as this will damage the hand unit. Dispose of the used battery properly and keep the battery out of the reach of children.
NOTE: It is imperative that the code used for both transmitter and receiver is exactly the same, otherwise remote controller will not work.
Setting the Code on the Remote
• Remove the battery cover on the back of the remote control (A) by pressing firmly on the arrow and sliding the cover off.
• Slide the code switches to your choice of either up or down. The factory setting is up.
• For fans with dimmable bulbs, slide the dip switch O/D to the position marked “D”, if you are not using dimmable bulbs slide the dip switch to the “O” position.
• Install 2 AAA batteries (included).
• Replace the battery cover on the remote control (A).
Setting the Code on the Receiver
• Slide the code switches on the receiver (B) to the same positions as set on the remote control (A).
• Insert the silicone rubber plug (E) into the hole in the receiver (B) to cover the dip switches.
Controller Model: TR221A - Installing the receiver
WARNING: To reduce the risk of fire or electric shock, remember to disconnect power. The electrical wiring must meet all local and national electrical code requirements. The electrical source and fan must be 110/120 volt, 60Hz. Do not use this product in conjunction with any variable AAA wall control. Incorrect wire connection can damage this receiver.
CAUTION: If other fan wires are a different color, have this unit installed by a licensed electrician.
CAUTION: Do not immerse in water. Do not pull on or cut leads shorter. Do not drop or bump the unit.
NOTE: The ceiling fan must be set at HIGH speed and light kit (if installed) should be set to the ON position.
NOTE: The battery will weaken with age and should be replaced before leaking takes place as this will damage the transmitter. Dispose of used battery properly. Keep the remote out of the reach of children.

• Position the house supply wires (AAA) to one side of the slide-on mounting bracket (A); position the fan wires (BBB) to the opposite side.
• Insert the narrow end of the receiver (as shown, flat side towards the ceiling) into the slide-on mounting bracket until it rests on top of the ball/downrod assembly. - Wiring the receiver to the household wiring
WARNING: To avoid possible electrical shock, turn the electricity off at the main fuse box before wiring. If you feel you do not have enough electrical wiring knowledge or experience, contact a licensed electrician.
WARNING: Each wire not supplied with this fan is designed to accept up to one 12-gauge house wire and two wires from the fan. If you have larger than 12-gauge house wiring or more than one house wire to connect to the fan wiring, consult an electrician for the proper size wire nuts to use.
IMPORTANT: Use the wire connecting nuts (C) supplied with your fan. Secure the connectors with electrical tape and ensure there are no loose strands or connections.
• Spread the wires apart so that the green and white wires are on one side of the outlet box and the black wire is on the other side.
• Connect the green fan wires to the household ground wire (this may be a green or bare wire) using a wire connecting nut (C).
• Connect the receiver black (or red) wire to the household black (hot) wire using a wire connecting nut (C).
• Connect the receiver white wire to the household white wire (neutral) wire using a wire connecting nut (C).
• Secure each wire connecting nut using electrical tape.
- Wiring the fan to the receiver
IMPORTANT: Use the wire connecting nuts (C) supplied with your fan. Secure the connectors with electrical tape and ensure there are no loose strands or connections.
• Connect the fan motor white wire to the receiver white wire using a wire connecting nut (C).
• Connect the fan motor black wire to the receiver black wire using a wire connecting nut (C).
• Connect the fan motor blue wire to the receiver blue wire using a wire connecting nut (C).
• Secure each wire connecting nut using electrical tape.
• Turn the wire connecting nut (C) upward and push the wiring into the outlet box (MM).
Operation
- Operating the remote control
•
Press and release the
button to turn the fan and the lights on or off. 
• Press and hold the
button for 3 seconds to use the “walk away time delay”; this will activate the light for 30 seconds (if you are using dimmable bulbs the light will be activated at 50% brightness).
•
Press and release 1 time – turns the fan on high speed.
•
Press and release 2 times – turns the fan on medium speed.
•

Press and release 3 times – turns the fan on low speed.
•


Press and release 4 times – turns the fan off.
•
Press and hold this button for 3 seconds to enable Comfort BreezeTM ; this will change your fan speed randomly, simulating a relaxing breeze. To cancel this feature press
or
.
•
While the fan is on press 1 time – turns on a 2 hour run timer.
•
While the fan is on press 2 times – turns on a 4 hour run timer.
•

While the fan is on press 3 times – turns on an 8 hour run timer.
•
Press and release the
button to turn the light on or off.
If you are using dimmable bulbs and you have previously set O/D dip switch in your remote to the “D” position, press and hold the
button to activate the dimmer function. - Mounting the remote control holder
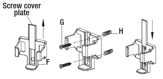
• Slide the screw cover plate up to remove it from the wall cradle.
• Position the wall cradle in the desired position and attach it to the wall using the included wall cradle screws.
• Slide the screw cover plate back onto the wall cradle to conceal the screws.
Troubleshooting
| Problem | Solution |
| The fan will not start. | • Check the main and branch circuit fuses or breakers. • Check to make sure the wall switch is in the on position if applicable. • Check the line wire connections to the fan and switch wire connections in the switch housing. • Check the battery in the transmitter. • Ensure you are in the normal range of 10-20 ft (3-6m). • Ensure the dip switch settings are the same on the transmitter and receiver. • Remember to turn off the power supply before checking the dip switches settings. |
This equipment has been tested and found to comply with the limits for a Class B digital device, pursuant to Part 15 of the FCC Rules. These limits are designed to provide reasonable protection against harmful interference in a residential installation. This equipment generates, uses and can radiate radio frequency energy and, if not installed and used in accordance with the instructions, may cause harmful interference to radio communications. However, there is no guarantee that interference will not occur in a particular installation. If this equipment does cause harmful interference to radio or television reception, which can be determined by turning the equipment off and on, the user is encouraged to try to correct the interference by one or more of the following measures:
- Reorient or relocate the receiving antenna.
- Increase the separation between the equipment and receiver.
- Connect the equipment into an outlet on a circuit different from that to which the receiver is connected.
- Consult the dealer or an experienced radio/TV technician for help.
CAUTION:
Any changes or modifications not expressly approved by the grantee of this device could void the user’s authority to operate the equipment.
FCC ID: KUJCE10319
This device complies with Part 15 of the FCC Rules. Operation is subject to the following two conditions:
- This device may not cause harmful interference, and
- this device must accept any interference received, including interference that may cause undesired operation.


























