HAMPTON BAY THERMOSTATIC REMOTE CONTROL

Pre-Installation
TOOLS REQUIREDPhillips
- screwdriver

- Flathead screwdriver

- Adjustable wrench

- Electrical tape

- Wirecutter

- Step ladder

PACKAGE CONTENTS
IMPORTANT: This product and/or components are governed by one or more of the following U.S. Patents: 5,947,436; 5,988,580; 6,010,110; 6,046,416, 6,210,117 and other patents pending.
| Part | Description | Quantity |
| A | Transmitter | 1 |
| B | Receiver | 1 |
| C | Plastic wire connector | 5 |
| D | AAA battery (1.5 V) | 2 |
| E | Silicone rubber plug | 1 |
| F | Wall cradle | 1 |
| G | Wall cradle screw | 2 |
| H | Plastic anchor | 2 |
Installation
Setting the codes on the remote control and receiver
NOTE
- The frequencies on your receiver and hand unit have been preset at the factory. Before installing the receiver, make sure the dip switches on the receiver and hand unit are set to the same frequency. The dip switches on the hand unit are located inside the battery compartment.
- The battery will weaken with age and should be replaced before leaking takes place as this will damage the hand unit. Dispose of the used battery properly and keep the battery out of the reach of children.
- It is imperative that the code used for both transmitter and receiver is exactly the same, otherwise remote controller will not work.
Setting the Code on the Remote
- Remove the battery cover on the back of the remote control (A) by pressing firmly on the arrow and sliding the cover off.
- Slide the code switches to your choice of either up or down. The factory setting is up.
- From the factory, the remote displays °F, press the °C/°F button once to change the settings to °C.
- For fans with dimmable bulbs, slide the dip switch O/D to the position marked “D”, if you are not using dimmable bulbs slide the dip switch to the “O” position.
- Install 2 AAA batteries (included).
- Replace the battery cover on the remote control
Setting the Code on the Receiver
- Slide the code switches on the receiver (B) to the same positions as set on the remote control (A).
- Insert the silicone rubber stopper (E) into the hole on the receiver (B) to cover the dip switches.
Controller Model: TR222A
Operation
Operating the remote control
- Press and release the button to turn the fan and the lights on or off.
- Press and hold the button for 3 seconds to use the “walk away from time delay”; this will activate the light for 30 seconds (if you are using dimmable bulbs the light will be activated at 50% brightness).
- Press and release 1 time – turn the fan on high speed.
- Press and release 2 times – turns the fan on medium speed.
- Press and release 3 times – turns the fan on low speed.
- Press and release 4 times – turns the fan off.
- Press and hold this button for 3 seconds to enable Comfort BreezeTM; this will change your fan speed randomly, simulating a relaxing breeze. To cancel this feature press or .
- While the fan is on press 1 time – turn on a 2-hour run timer.
- While the fan is on press 2 times – turn on a 4-hour run timer.
- While the fan is on press 3 times – turn on an 8-hour run timer.
- This setting allows the fan to automatically turn on and off at a previously set room temperature.
- Press 1 time to adjust the set temperature + 1°, and press and hold to raise the set temperature multiple degrees.
- Press 1 time to adjust the set temperature – 1°, press and hold to lower the set temperature multiple degrees.
- The digital display shows the set temperature when or is pressed.
- Press and release the button to turn the light on or off.
- If you are using dimmable bulbs and you have previously set the O/D dip switch in your remote to the “D” position, press and hold the button to activate the dimmer function
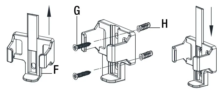
Mounting the remote control holder
- Slide the screw cover plate up to remove it from the wall cradle.
- Position the wall cradle in the desired position and attach it to the wall using the included wall cradlescrews.
- Slide the screw cover plate back onto the wall cradle to conceal the screws.

Installing the receiver
- WARNING: To reduce the risk of fire or electric shock, remember to disconnect power. The electrical wiring must meet all local and national electrical code requirements. The electrical source and fan must be 110/120 volt, 60Hz. Do not use this product in conjunction with any variable wall control. An incorrect wire connection can damage this receiver.
- CAUTION: If other fan wires are a different color, have this unit installed by a licensed electrician.
CAUTION: Do not immerse in water. Do not pull on or cut leads shorter. Do not drop or bump the unit. - NOTE: The ceiling fan must be set at HIGH speed and the light kit (if installed) should be set to the ON position.
NOTE: The battery will weaken with age and should be replaced before leaking takes place as this will damage the transmitter. Dispose of used battery properly. Keep the remote out of the reach of children.- Position the house supply wires (AAA) to one side of the slide-on mounting bracket (A); position the fan wires (BBB) to the opposite side.
- Insert the narrow end of the receiver (as shown, flat side towards the ceiling) into the slide-on mounting bracket until it rests on top of the ball/downrod assembly.
Wiring the receiver to the household wiring
- WARNING: To avoid possible electrical shock, turn the electricity off at the main fuse box before wiring. If you feel you do not have enough electrical wiring knowledge or experience, contact a licensed electrician.
- WARNING: Each wire not supplied with this fan is designed to accept up to one 12-gauge house wire and two wires from the fan. If you have larger than 12-gauge house wiring or more than one house wire to connect to the fan wiring, consult an electrician for the proper size wire nuts to use.
- IMPORTANT: Use the wire connecting nuts (C) supplied with your fan. Secure the connectors with electrical tape and
ensure there are no loose strands or connections.- Spread the wires apart so that the green and white wires are on one side of the outlet box and the black wire is on the other side.
- Connect the green fan wires to the household ground wire (this may be a green or bare wire) using a wire connecting nut (C).
- Connect the receiver black (or red) wire to the household black (hot) wire using a wire connecting nut (C).
- Connect the receiver white wire to the household white wire (neutral)
- wire using a wire connecting nut (C).
- Secure each wire connecting the nut using electrical tape.
Wiring the fan to the receiver
- IMPORTANT: Use the wire connecting nuts (C) supplied with your fan. Secure the connectors with electrical tape and ensure there are no loose strands or connections.
- Connect the fan motor white wire to the receiver white wire using a wire connecting nut (C).
- Connect the fan motor black wire to the receiver black wire using a wire connecting nut (C).
- Connect the fan motor blue wire to the receiver blue wire using a wire connecting nut (C).
- Secure each wire connecting the nut using electrical tape.
- Turn the wire connecting nut (C) upward and push the wiring into the outlet box (MM).
Troubleshooting
| Problem | Solution |
| The fan will not start. | □ Check the main and branch circuit fuses or breakers. □ Check to make sure the wall switch is in the on position if applicable. □ Check the line wire connections to the fan and switch wire connections in the switch housing. □ Check the battery in the transmitter. □ Ensure you are in the normal range of 10-20 ft (3-6m). □ Ensure the dip switch settings are the same on the transmitter and receiver. □ Remember to turn off the power supply before checking the dip switch settings. |
FCC Statment
This equipment has been tested and found to comply with the limits for a Class B digital device, pursuant to Part 15 of the FCC Rules. These limits are designed to provide reasonable protection against harmful interference in a residential installation. This equipment generates, uses, and can radiate radio frequency energy and, if not installed and used in accordance with the instructions, may cause harmful interference to radio communications. However, there is no guarantee that interference will not occur in a particular installation. If this equipment does cause harmful interference to radio or television reception, which can be determined by turning the equipment off and on, the user is encouraged to try to correct the interference by one or more of the following measures:
- Reorient or relocate the receiving antenna.
- Increase the separation between the equipment and receiver.
- Connect the equipment into an outlet on a circuit different from that to which the receiver is connected.
- Consult the dealer or an experienced radio/TV technician for help.
- CAUTION: Any changes or modifications not expressly approved by the grantee of this device could void the user’s authority to operate the equipment.
- FCC ID: KUJCE10320: This device complies with Part 15 of the FCC Rules. Operation is subject to the following two conditions:
- This device may not cause harmful interference
- this device must accept any interference received, including interference that may cause undesired operation.
























