enbrighten 77235 LED Motion Sensing Towel Ring Light

Product Information:
The product is a Motion-Sensing Towel Ring Light that comes with screws, anchors, a mounting bracket, and an Allen wrench. The product is recommended to be installed on solid wood, drywall to wood stud, or masonry mounted installations. The product operates on 3 AAA batteries and has an LED light that only turns on in low light conditions. The product comes with a 1-year limited warranty.
Product Usage Instructions:
- Ensure the mounting surface is clean, dry, and able to support the product.
- Read all safety instructions and warnings before installing.
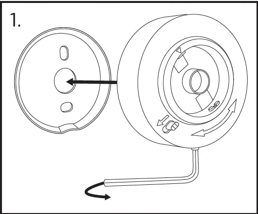
- Remove the pre-attached mounting bracket from the base by loosening the base screw with the included Allen wrench.
- Hold the bracket against the mounting surface with the indent facing the light’s intended direction. Mark screw locations using a pencil.
- Drill pilot holes on each marking using the 1/8in. drill bit.
- If installing on drywall, plaster or tile, use a 7/32in. drill bit to enlarge the pilot holes. Insert anchors into pilot holes using a mallet.
- Thread screws through holes on the bracket. Use a #2
Phillips-head screwdriver to fasten the bracket with screws. Ensure indent faces light’s intended direction. - Align base screw with the bracket’s indent. Seat base onto bracket.
- Fasten base screw with Allen wrench until the product is firmly in place — do not overtighten.
- Slide and hold the unlock button. While still holding the unlock button, twist the post counterclockwise to separate it from the base. The battery cartridge is located inside the post.
- Insert 3 AAA batteries into each compartment, noting polarity.
- Reinsert the battery cartridge into the post and twist clockwise to lock them back into position.
- Keep this manual for later use.
WARNING: Before installing, ensure there are no electrical wires or plumbing lines hidden within the wall. If unsure, contact a professional installer for installation.
INSTALLATION
Install the towel ring light using the included screws and anchors. Ensure the mounting surface is clean, dry and able to support the product. Read all safety instructions and warnings before installing. Keep this manual for later use.
NOTE: While it’s possible to mount this product to many different surface types, solid wood, drywall to wood stud, or masonry mounted installations will yield the best results.
INCLUDED HARDWARE

RECOMMENDED TOOLS

NOTE: The indent on the mounting bracket determines where the light will point. For example: the light will point towards the floor if the bracket is installed with the indent facing down.
SCREWS AND ANCHORS
- Remove the pre-attached mounting bracket from the base by loosening the base screw with the included Allen wrench.

- Hold the bracket against the mounting surface with the indent facing the light’s intended direction. Mark screw locations using a pencil.

- Drill pilot holes on each marking using the 1/8in. drill bit.

- If installing on a stud, continue to Step 4. If installing on drywall, plaster or tile, use a 7/32in. drill bit to enlarge the pilot holes. Insert anchors into pilot holes using a mallet.

- Thread screws through holes on bracket.

- Use a #2 Phillips-head screwdriver to fasten the bracket with screws. Ensure indent faces light’s intended direction.

- Align base screw with the bracket’s indent. Seat base onto bracket.

- Fasten base screw with Allen wrench until product is firmly in place — do not overtighten.

BATTERIES
- Slide and hold the unlock button. While still holding the unlock button, twist the post counterclockwise to separate it from the base. The battery cartridge is located inside the post.

- Insert 3 AAA batteries into each compartment, noting polarity.

- Reinsert the battery cartridge into the post and twist clockwise to lock them back into position.

OPERATION
In low light conditions, the LED will activate when motion is detected within a 15ft., 120° range. The LED will turn off 20 seconds after motion stops.
NOTE: The LED only turns on in low light conditions. If the room is fully lit, the LED may not turn on.
CLEANING
- Clean with mild soap and warm water. Completely dry the surface with a clean, soft cloth.
- Do not clean with harsh or abrasive cleaners such as ammonia, chlorine or toilet cleaner. Do not dry with a . coarse cloth.
WARNING
- KEEP BATTERIES AWAY FROM SMALL CHILDREN.
- BATTERIES CAN EXPLODE OR LEAK IF INSTALLED IN REVERSE, DISASSEMBLED,
- REMOVE BATTERIES IF THE PRODUCT WILL NOT BE USED FOR EXTENDED PERIODS.
- BATTERIES MAY LEAK HARMFUL LIQUIDS OR IGNITABLE MATERIALS OR EXPLODE CAUSING INJURY AND PRODUCT DAMAGE.
- DO NOT MIX OLD AND NEW OR OTHER BATTERY TYPES.
- REPLACE ALL BATTERIES AT THE SAME TIME.
- REPLACE FULLY DISCHARGED BATTERIES IMMEDIATELY.
- THE PRODUCT IS NOT DESIGNED TO BE USE AS A GRAB BAR. DO NOT MOUNT IN LOCATIONS WHERE THIS PRODUCT IS LIKELY TO BE USED AS A GRAB BAR.
- USE CAUTION WHEN DRILLING INTO WALLS TO AVOID DRILLING INTO ELECTRICAL AND PLUMBING LINES HIDDEN WITHIN THE WALL. IF UNSURE, CONTACT A PROFESSIONAL INSTALLER FOR INSTALLATION.





























