TORRAS CTEZ100 Wireless Car Charger Mount User Guide
Specification
| Product Name | Wireless Car Charger Mount |
| Model | CTEZ100 |
| Input | 5V 2A / 9V 2A / 12V 1.5A |
| Output | 5W/7.5W/10W |
| Charging Distance | ≈(4-6)mm |
| Working Temperature | 32℉-95℉(0℃-35℃) |
| Applicable Place | Air Vent |
| Applicable Model | Compatible with iPhone, Samsung, etc.( 4.5-6.7 inches phone) |
| Package List | Wireless Car Charger Mount ×1, Charging Cable ×1, Air Vent Clip ×1, Welcome Guide×1 |
The parameters above are derived from the laboratory of ANDOBIL. The actual parameters would be of products and other factors. The image indicative only.
Compatibility
Please note: Please ensure your phone is compatible with Qi wireless charging before using this wireless car charger mount. Please use the OC 3.0 car charger to connect the wireless car charger mount.
| Smartphone | Car Charger | Output Power | ||
| Qi-Compatible Phones | + | 5V 2A | = | 5W |
| iPhone12 mini, 12, 12 Pro, 12 Pro Max, SE(2ndGeneration), iPhone 11, 11Pro, 11ProMax, iPhone XR Xs, Xs Max, X, iPhone 8 Plus, 8, etc. | + | 9V 2A 12V 1.5A Quick Charge 3.0 | = | 7.5W |
| SamsungGalaxyS20 Ultra 5G, S20+ 5G, S20 5G, S20 FE 5G, S10+,S10e,S10,S9+, S9,S8+,S8,S7Edge, S7, Note20 Ultra 5G, Note20 5G, Note10+ 5G, Note 10, Note 9, Note 8, etc. | + | 9V 2A 12V 1.5A Quick Charge 3.0 | = | 10W |
Suitability
The Suitability of Car Air Vent
The air vent clip could be compatible with horizontal and vertical air vent outlets. But it cannot support non intensive, circular or special shaped air vent outlets.
Note: Please do not twist the air vent clip too tight, to protect the air vent blade and air vent clip.
The Suitability of Phone Cases
Not compatible with:
- My foreign object between your smartphone and this car mount, such as metal, credit cards, door keys, coins, magnet, or NFC cards.
- Phone cases may affect wireless charging, such as ultra-thick( > 6mriV0.23 inch) phone case or a case with a bumpy surface, stand.
- Pop Sockets, ring holder etc.

Overview


Installation Steps
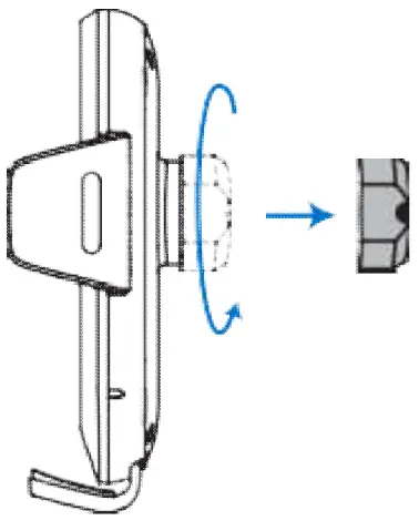
- Unscrew the fixing nut form the car mount.

- Put the fixing nut on the ball joint. (Note: Don’t change the direction of the fixing nut).

- Push the ball joint firmly into the groove on the back of the car mount, then lighten the fixing nut.

- Twist the screw knob to adjust the opening size of the clip to fit the air vent.

- Find a suitable place to insert the car mount. Tighten the screw knob to fix the car mount. Adjust the angle of the car mount to fit your sight.

Adjust the Adjustable Feet
Please adjust the adjustable feet according to guide below. Please align the center of your phone (The wireless charging sensing area of the phone)with the wireless charging area of the car mount (The wireless charging icon).
| Scale | Phone Model |
| 5.8” | iPhone 12 mini/11 Pro/X/Xs/SE(2nd Generation), Galaxy S10e etc. |
| 6.1” | iPhone 12/12 Pro/11/Xr. Galaxy S20 5G/S10+/S8. Galaxy Note10 etc. |
| 6.4” | iPhone 11 Pro Max/Xs Max/8 Plus, Galaxy S20 FE 5G/S10+/S8+ etc. |
| 6.7” | iPhone 12 Pro Max, Galaxy S20 Ultra 5G/S20+ 5G, Galaxy Note20 5G/Note20 Ultra 5G/Note1 0+ 5G/Note9/Note8 etc. |
Power On
Please use original power cable supplied to connect the car mount to the QC 3.0 car adapter.
Please note: Do not connect car mount wireless charger to the in-car USB port directly. There won’t be enough power as it will Cause slow charging.
LED Indicator Instruction

Charging Status | LED Indicator Display |
| Power on | The blue indicator flashes |
Standby | The blue indicator flashes |
| Charging | The blue indicator on |
Foreign Object Detector | The red indicator flashes |
Using Steps
- Pressing the release button, the clamp arms will automatically pop open.

- Place your phone into the holder and press the clamp arms towards each other, then you can lock the phone and start wireless charging.

FAQs
- No charging or slow charging
- Please check the status of the LED light, the blue light indicates charging and the red light indicates low power.
- Adjust the bottom adjustment according to the manual guide, this ensures that the center of the phone is aligned with the charging area sensor.
- For 10W. 7.5W fast charging you must use with the QC 3.0 car adapter. Do not connect directly onto the in car USB Port.
- Check if the mobile phone contains any gold or other metals. Do not use or place gold metal rings, gold metal plates, credit cards. Pop Sockets on the back of the phone when charging.
- Ensure your phone case is thinner than 4mm. otherwise the phone will not be able to wireless charge.
- The charging speed will be slow if the temperature is too high. Turn off navigation and other unused apps whilst also lowering the temperature of the car with the air conditioner.
- Please use the original power cable supplied with the car mount, this will ensure fast and safe charging.
- Ventilation and air vent fitting
It is only suitable for horizontal and vertical air vent. For more details please refer to “Suitability – The Suitability of Car Air Vent”. - Phone case fitting
It is suitable for phone cases thinner than 4nini. Please do not use phone case with metal, credit card, back-dip battery. metal rings, metal stickers, Pop Sockets or phone cases with mounts(such as UAG)etc. For more details please refer to – The Suitability of Phone Cases”. - Working temperature
The perfect temperature would be 32 F-95 F (0 C -35 C). The mount cannot function properly when the temperature is too high or too low.
Attentions
- Avoid dropping.
- Do not disassemble.
- Please install the car mount on a suitable place before driving, do not operate or adjust the car mount during driving.
- Do not install the car mount in places where it might interfere with airbag or driving.
- Keep the car mount away from children.
FCC ID
This device complies with part 15 and part 18 of the FCC Rules. Operation is Subject To the following two conditions:
- This device may not cause harmful interference, and
- this device must accept any interference received, including interference that may cause undesired operation. Changes or modifications not explicitly approved by the party responsible for compliance could void the users authority to operate this equipment.
Note: this equipment has been tested and found to comply with the limits for a Class B digital device, pursuant to part 15 and part 18 of the FCC Rules. These limits are designed to provide reasonable protection against harmful interference in a residential installation. This equipment generates, uses and can radiate radio frequency energy and, if not installed and used in accordance with the instructions, may cause harmful interference to radio communications. However, there is no guarantee that interference will not occur in a particular installation. If this equipment does cause harmful interference to radio or television reception, which can be determined by turning the equipment off and on, the user is encouraged to try to correct the interference by one or more of the following measures:
- Reorient or relocate the receiving antenna.
- Increase the separation between the equipment and receiver. Connect the equipment into an outlet on a circuit different from that to which the receiver is connected.
- Consult the dealer or an experienced radio/TV technician for help. The equipment complies with FCC radiation exposure limits set forth for an uncontrolled environment. During the operation of device a distance of 15 cm surrounding the device and 20 cm above the top surface of the device must be respected. This device complies with Part 18 of the FCC Rules. This equipment generates uses and can radiate radio frequency energy and, if not installed and used in accordance with the instructions, may cause harmful interference to radio communications. If this equipment does cause harmful interference to radio or television reception, which can be determined by turning the equipment off and on, the user is encouraged to try to correct the interference by one or more of the following measures:
- Increase the separation between the equipment and any other radio device.
- Connect the equipment into an outlet on a circuit different from that to which the receiver is connected.
For FAQ and More information, Please message us:
Facebook @Andobil
Twitter: @Andobil
Google+: Andobil
LinkedIn: Andobil




























