KICHLER 45888OZ Tao 5 Inch W 1-Light Olde Bronze Transitional Wall Sconce

CAUTION – RISK OF SHOCK
Disconnect Power at the main circuit breaker panel or main fusebox before starting and during the installation.
Installation
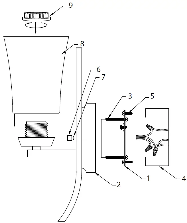
- Find the appropriate threaded holes on the mounting strap[1] that align with the hole distance in the canopy[2]. Thread mounting screws[3] into threaded holes starting from the outlet box[4] side.
- Attach the mounting strap to the outlet box with strap mounting screws[5]. The mounting strap can be adjusted to suit the position of the fixture.
- Grounding instructions: (See Illus. A or B)
- A) On fixtures where the mounting strap is provided with a hole and two raised dimples. Wrap ground wire from the outlet box around the green ground screw, and thread it into the hole.
B) On fixtures where a cupped washer is provided. Put ground wire from the outlet box under the cupped washer and green ground screw and thread screw into the hole in the mounting strap.
If the fixture is provided with ground wire. Connect fixture ground wire to outlet box ground wire with wire connector, after following the above steps. Never connect the ground wire to black or white power supply wires.
- A) On fixtures where the mounting strap is provided with a hole and two raised dimples. Wrap ground wire from the outlet box around the green ground screw, and thread it into the hole.
- Make wire connections. Reference the chart below for correct connections and wire accordingly.
Connect Black or Red Supply Wire to: Connect White Supply Wire to:
Black White *Parallel cord (round & smooth) *Parallel cord (square & ridged) Clear, Brown, Gold or Black without tracer Clear, Brown, Gold or Black with tracer Insulated wire (other than green) with copper conductor Insulated wire (other than green) with silver conductor *Note: When parallel wires (SPT I & SPT II) are used. The neutral wire is square shaped or ridged and the other wire will be round in shape or smooth (see illus.) 
Neutral Wire
Note: The fixture can be mounted with the glass in the up position or the down position.
- Push the fixture to the wall carefully passing mounting screws with holes in the canopy. Make sure all wires are inside the canopy and do not get pinched between the wall and the canopy of the fixture.
- Thread lockup knobs[6] and lockwashers[7] onto mounting screws and tighten to secure the fixture to the wall.
- Place glass[8] over the socket as shown.
- Screw on the glass retainer[9] to secure the glass in place.
- Insert recommended bulb.

Help
We’re here to help 866-558-5706
Hrs: M-F 9 am to 5 pm EST.





















