LG GC-J247JABV Fridge and Freezer

Product Information
The LG Fridge & Freezer is a household appliance designed to keep your food fresh and your drinks chilled. The appliance is equipped with smart functions, including the LG ThinQ Application, which allows you to control the fridge and freezer settings from your smartphone. The appliance also comes with a water filter to provide you with safe and clean drinking water.
Product Usage Instructions
Before starting the installation process, it is crucial to read the instructions manual carefully. Following the instructions carefully will ensure that the appliance is installed correctly and safely. Always keep the instructions manual near the product after installation for future reference.
Safety Instructions
It is important to read all safety instructions before using the product. The safety guidelines are separated into ‘WARNING’ and ‘CAUTION’ categories and should be followed to avoid any risk of injury or damage to the product.
Installation
During installation, ensure that you place the appliance on a level surface and keep it away from flammable materials. The appliance should be installed in a well-ventilated area with enough clearance around it for proper airflow. The manual provides detailed instructions on how to install the appliance correctly.
Operation
The shelves and baskets of the fridge and freezer should be arranged correctly to ensure efficient cooling. Avoid overloading the appliance, as it may cause damage to both the product and your food. Keep the appliance clean by regularly wiping it down with a damp cloth, and avoid using abrasive materials to prevent any damages.
Smart Functions
The LG ThinQ Application allows you to control the fridge and freezer settings from your smartphone. You can adjust temperature settings, check energy usage, and receive notifications on your phone when you need to replace the water filter.
Maintenance
Regular maintenance is essential for the proper functioning of the appliance. Clean the appliance regularly, and replace the water filter as required. The manual provides detailed instructions on how to clean and maintain the product.
Troubleshooting
If you experience any issues with the appliance, refer to the troubleshooting section of the manual. Before calling for service, try to identify the cause of the problem and follow the instructions to fix it. If the problem persists, contact customer service or a qualified technician for assistance.
Before beginning installation, read these instructions carefully. This will simplify installation and ensure that the product is installed correctly and safely. Leave these instructions near the product after installation for future reference.
www.lg.com
Copyright © 2020 LG Electronics Inc. All Rights Reserved.
This manual may contain images or content that may be different from the model you purchased.
This manual is subject to revision by the manufacturer.
SAFETY INSTRUCTIONS
READ ALL INSTRUCTIONS BEFORE USE
The following safety guidelines are intended to prevent unforeseen risks or damage from unsafe or incorrect operation of the appliance. The guidelines are separated into ‘WARNING’ and ‘CAUTION’ as described below.
Safety Messages
This symbol is displayed to indicate matters and operations that can cause risk. Read the part with this symbol carefully and follow the instructions in order to avoid risk.
WARNING
This indicates that the failure to follow the instructions can cause serious injury or death.
CAUTION
This indicates that the failure to follow the instructions can cause the minor injury or damage to the product.
WARNING
To reduce the risk of explosion, fire, death, electric shock, injury or scalding to persons when using this product, follow basic precautions, including the following:
Technical Safety
- This appliance is not intended for use by persons (including children) with reduced physical, sensory or mental capabilities, or lack of experience and knowledge, unless they have been given supervision or instruction concerning use of the appliance by a person responsible for their safety. Children should be supervised to ensure that they do not play with the appliance.
- This appliance is intended to be used in household and similar applications only. It should not be used for commercial, or catering purposes, or in any mobile application such as a caravan or boat.
This symbol alerts you to flammable materials that can ignite and cause a fire if you do not take care. - This appliance contains a small amount of isobutane refrigerant (R600a), but it is also combustible. When transporting and installing the appliance, care should be taken to ensure that no parts of the refrigerating circuit are damaged.
- The refrigerant and insulation blowing gas used in the appliance require special disposal procedures. Consult with service agent or a similarly qualified person before disposing of them.
- Do not damage the refrigerant circuit.
- If the power cord is damaged or the hole of the outlet socket is loose, do not use the power cord and contact an authorized service centre.
- Do not locate multiple portable outlet sockets or portable power supplies at the rear of the appliance.
- Securely plug the power plug in the outlet socket after completely removing any moisture and dust.
- Never unplug the appliance by pulling on the power cable. Always grip the power plug firmly and pull straight out from the outlet socket.
- Keep ventilation openings, in the appliance enclosure or in the built-in structure, clear of obstruction.
- Do not store explosive substances such as aerosol cans with a flammable propellant in this appliance.
- Do not tilt the appliance to pull or push it when transporting.
- When positioning the appliance, ensure the supply cord is not trapped or damaged.
- Do not use mechanical devices or other means to accelerate the defrosting process.
- Do not use a hair drier to dry the inside of the appliance or place a candle inside to remove the odours.
- Do not use electrical appliances inside the refrigerator.
- Make sure not to get a body part such as a hand or foot stuck while moving the appliance.
- Disconnect the power cord before cleaning the appliance or replacing the inside lamp (where fitted).
- Do not spray water or inflammable substances (toothpaste, alcohol, thinner, benzene, flammable liquid, abrasive, etc.) over the interior or exterior of the appliance to clean it.
- Do not clean the appliance with brushes, cloths or sponges with rough surfaces or which are made of metallic material.
- Only qualified service personnel from LG Electronics service centre should disassemble, repair, or modify the appliance. Contact an LG Electronics customer information centre if you move and install the appliance in a different location.
Risk of Fire and Flammable Materials
- If a leak is detected, avoid any naked flames or potential sources of ignition and air the room in which the appliance is standing for several minutes. In order to avoid the creation of a flammable gas air mixture if a leak in the refrigerating circuit occurs, the size of the room in which the appliance is used should correspond to the amount of refrigerant used. The room must be 1 m² in size for every 8 g of R600a refrigerant inside the appliance.
- Refrigerant leaking out of the pipes could ignite or cause an explosion.
- The amount of refrigerant in your particular appliance is shown on the identification plate inside the appliance.
Installation
- This appliance should only be transported by two or more people holding the appliance securely.
- Install the appliance on a firm and level floor.
- Do not install the appliance in a damp and dusty place. Do not install or store the appliance in any outdoor area, or any area that is subject to weathering conditions such as direct sunlight, wind, rain, or temperatures below freezing.
- Do not place the appliance in direct sunlight or expose it to the heat from heating appliances such as stoves or heaters.
- Be careful not to expose the rear of the appliance when installing.
- Install the appliance in a place where it is easy to unplug the power plug of the appliance.
- Be careful not to let the appliance door fall during assembly or disassembly.
- Be careful not to pinch, crush, or damage the power cable during assembly or disassembly of the appliance door.
- Be careful not to point the power plug up or let the appliance lean against the power plug.
- Do not connect a plug adapter or other accessories to the power plug.
- Do not modify or extend the power cable.
- Ensure that the outlet socket is properly grounded, and that the earth pin on the power cord is not damaged or removed from the power plug. For more details on grounding, inquire at an LG Electronics customer information centre.
- This appliance is equipped with a power cord having an equipment-grounding conductor and a grounding power plug. The power plug must be plugged into an appropriate outlet socket that is installed and grounded in accordance with all local codes and ordinances.
- Never start up an appliance showing any signs of damage. If in doubt, consult your dealer.
- Dispose of all packaging materials (such as plastic bags and styrofoam) away from children. The packaging materials can cause suffocation.
- Do not plug the appliance into a multi socket adapter which does not have a power cable (mounted).
- The appliance should be connected to a dedicated power line which is separately fused.
- Do not use a multi socket outlet which is not properly grounded (portable). In case of using a properly-grounded multi socket outlet (portable), use the multi socket outlet with the current capacity of the power cord rating or higher and use the multi socket outlet only for the appliance.
Operation
- Do not use the appliance for any purpose (storage of medical or experimental materials or shipping) other than any domestic household food storage use.
- If water penetrates electrical parts of the appliance, disconnect power plug and contact an LG Electronics customer information centre.
- Unplug the power plug during a severe thunderstorm or lightening or when not in use for a long period of time.
- Do not touch the power plug or the appliance controls with wet hands.
- Do not bend the power cable excessively or place a heavy object on it.
- Immediately unplug the power plug and contact an LG Electronics customer information centre if you detect a strange sound, odour, or smoke coming from the appliance.
- Do not place hands or metallic objects inside the area emitting the cold air, cover or heat releasing grille on the back.
- Do not apply excessive force or impact to the back cover of the appliance.
- Be careful of nearby children when you open or close the appliance door. The door may bump the child and cause injury.
- Avoid the danger of children getting trapped inside the appliance. A child trapped inside the appliance can cause suffocation.
- Do not put animals, such as pets into the appliance.
- Do not place heavy or fragile objects, containers filled with liquid, combustible substances, flammable objects (such as candles, lamps, etc.), or heating devices (such as stoves, heaters, etc.) on the appliance.
- Do not place any electronic appliance (such as heater and mobile phone) inside the appliance.
- If there is a gas leakage (isobutane, propane, natural gas, etc.), do not touch the appliance or power plug and ventilate the area immediately. This appliance uses a refrigerant gas (isobutane, R600a). Although it uses a small amount of the gas, it is still combustible gas. Gas leakage during appliance transport, installation or operation can cause fire, explosion or injury if sparks are caused.
- Do not use or store flammable or combustible substances (ether, benzene, alcohol, chemical, LPG, combustible spray, insecticide, air freshener, cosmetics, etc.) near the appliance.
Disposal
When discarding the appliance, remove the door gasket while leaving the shelves and baskets in place and keep children away from the appliance.
CAUTION
To reduce the risk of minor injury to persons, malfunction, or damage to the product or property when using this product, follow basic precautions, including the following:
Operation
- Do not touch frozen food or the metal parts in the freezer compartment with wet or damp hands. It may cause frostbite.
- Do not place glass containers, bottles or cans (especially those containing carbonated drinks) in the freezer compartment, shelves or ice bin that will be exposed to temperatures below freezing.
- The tempered glass on the front side of the appliance door or the shelves can be damaged by an impact. If it is broken, do not touch it with hands.
- Do not hang from the appliance doors, storage room, shelf or climb up into it.
- Do not store an excessive amount of water bottles or containers for side dishes on the door baskets.
- Do not open or close the appliance door with excessive force.
- If the hinge of the appliance door is damaged or operates improperly, stop using the appliance and contact an authorized service centre.
- Prevent animals from nibbling on the power cable or water hose.
- Never eat frozen foods immediately after they have been taken out in the freezer compartment.
- Do not use a thin crystal cup or chinaware when dispensing.
- Make sure not to get a hand or foot stuck upon opening or closing the appliance door or door in door.
Maintenance
- Do not clean glass shelves or covers with warm water when they are cold. They may shatter if exposed to sudden temperature changes.
- Do not insert the shelves upside down. The shelves may fall.
- To remove frost from the appliance, contact an LG Electronics customer information centre.
- Dispose of the ice inside the ice bin in the freezer compartment during an extended power outage.
INSTALLATION
Product Overview
The appearance or components of the appliance may differ from model to model.
Front View
Accessories
This feature is only available on some models.
- Spanner A*1
- Spanner B*1
- Egg Box*1
- Freezer Basket
- Water Filter*1
- Water Tube
- Owner’s Manual
Dimensions and Clearances
Too small of a distance from adjacent items may result in the degradation of freezing capability and increased electricity costs. Allow over 50 mm of clearance between the back of the appliance and the wall when installing the appliance.
| – | Type A (mm) | Type B (mm) |
| A | 912 | |
| B | 1790 | |
| C | 738 | |
| D | 10 | |
| E | 728 | |
| F | 1180 | |
| G | 1750 | |
| H | – |
NOTE
You can determine what type of appliance it is by looking at the label inside the appliance.
Ambient Temperature
- The appliance is designed to operate within a limited range of ambient temperatures, depending on the climate zone.
- The internal temperatures could be affected by the location of the appliance, the ambient temperature, the frequency of door opening and so on.
- The climate class can be found on the rating label.
Climate Class Ambient Temperature Range ºC SN (Extended Temperate) +10 – +32 N (Temperate) +16 – +32 ST (Subtropical) +16 – +38 / +18 – +38** T (Tropical) +10 – +43* / +16 – +43 / +18 – +43**
Australia, India, Kenya
Argentina, Ecuador
NOTE
The appliances rated from SN to T are intended to be used at an ambient temperature between 10 ºC and 43 ºC.
Removing the Fridge and Freezer Door
If your entrance door is too narrow for the appliance to pass through, remove the appliance doors and pass the appliance laterally.
WARNING
Disconnect the power cord, house fuse or circuit breaker before installing, removing the doors, or cleaning the appliance. Failure to follow these instructions may result in death, fire or electric shock.
Removing the Freezer Door
- The water supply line is connected to the top right part in the back of the appliance. Hold the water supply connection and gently push the collet 1 to detach the water supply line. Unscrew the cover 2.

- Remove the screw from the hinge cover at the top of the appliance. Lift the hook, located at the bottom of the front side of the cover, with a flat-head screwdriver.

- Pull out the tube 3. Unscrew the ground wire 4. Disconnect all wire harnesses 5.

- Rotate the hinge lever 6 counterclockwise. Lift the top hinge 7 free of the hinge lever latch 8

CAUTION
When lifting the hinge free of the latch, be careful that the door does not fall forward. It is recommended that two or more people carry out the door removal and refitting - Lift the freezer door until it is free of the bottom hinge assembly.
CAUTION
Place the door on a non-scratching surface with the inner side facing up
Removing the Fridge Door
- Disconnect all wire harnesses 1.

- Rotate the hinge lever 2 clockwise. Lift the top hinge 3 free of the hinge lever latch 4.

CAUTION
When lifting the hinge free of the hinge lever latch, be careful that the door does not fall forward. It is recommended that two or more people carry out the door removal and refitting. - Lift the fridge door until it is free of the bottom hinge assembly.

CAUTION
Place the door on a non-scratching surface with the inner side facing up.
Refitting the Fridge and Freezer Door
Refit the doors in the reverse sequence of their removal once the appliance has been passed through all access doors.
CAUTION
Install the fridge door first.
NOTE
Disassembling/Assembling the water lines
- Collet
- Tube
- Insert line
- Clip
Gently insert the tube until only one of the tube’s lines is visible. Pull on the tube to make sure that it is tightly fastened.
If the water tube end is damaged, it should be trimmed to ensure it does not leak when refitted
Connecting the Water Line
This section is applied only to models with plumbed water or ice dispenser.
Water Supply Requirements
A cold water supply with water pressure between 138 kPa and 827 kPa (1.4-8.4 kgf/cm²) is required to operate the water dispenser. If the refrigerator is installed in an area with low water pressure (below 138 kPa), you can install a booster pump to compensate for the low pressure.
If a reverse osmosis water filtration system is connected to your cold water supply, the water pressure to the reverse osmosis system needs to be a minimum of 138 kPa to 827 kPa (1.4-8.4 kgf/ cm²)
WARNING
- Unplug the appliance before carrying out any work on connecting the water line. Failure to do so may cause electric shock.
- Only connect the water line to a cold water supply. Failure to do so may cause the water filter to malfunction. Water hammer (water banging in the pipes) in house plumbing can cause damage to appliance parts and can lead to water leakage or flooding.
- Connect to potable water supply only.
- Connecting the water line must only be installed by a qualified plumber and in accordance with local legislation and regulations governing water quality.
NOTE
This water line installation is not covered by the appliance warranty
Connecting Water to the Appliance
- Unscrew the metal threaded collar nut at the back of the appliance and place it over one end of the water tube.
- Firmly push the water tube onto the water inlet valve and tighten up the collar nut.

Checking the Water Connection
- Turn on the water supply and switch on the appliance. Carefully check all fittings for possible leaks due to poorly fitted hoses.
- Press and hold the Water Filter button for three seconds. The new water filter has been activated.
- Place a cup under the water dispenser to verify that water is flowing through the appliance.
- Check the connecting tube and joints for leaks once again.
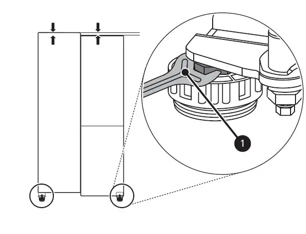
Levelling and Door Alignment
Before Beginning
When the appliance doors appear to be uneven, follow the instructions below to align the doors.
NOTE
The spanner may differ depending on the model. You will be provided with either spanner type A or B.

Levelling the Appliance
The appliance has two front levelling legs. Adjust the legs to alter the tilt from front to back or side to side. If the appliance seems unsteady, or the doors do not close easily, adjust the appliance’s tilt using the instructions below.
Use the spanner a to adjust the height by turning the levelling leg to the left to raise it or to the right to lower it.
Door Alignment for Freezer and Fridge Door
If the door of the appliance is not level, adjust the difference in the height of appliance door.
- Open the door and use the spanner a to loosen the keeper nut by turning it to the left.

- Use the spanner b to adjust the height by turning the adjustment hinge pin to the left or to the right.

CAUTION
Do not adjust the height of the appliance door more than 3 mm. - Use the spanner a to fasten the keeper nut by turning it to the right.

NOTE- Leveling the doors may not be possible when the floor is not leveled, or is of weak or poor construction.
- The refrigerator is heavy and should be installed on a rigid and solid surface.
- Some timber flooring may cause levelling difficulties if it flexes excessively
Turning on the Power
Connecting the Appliance
After installing the appliance, connect the power plug into the outlet socket.
NOTE
After connecting the power supply cord (or plug) to the outlet, wait 3 or 4 hours before you put food into the appliance. If you add food before the appliance has cooled completely, your food may spoil.
Moving the Appliance for Relocation
Preparing for Relocation
- Remove all food from inside the appliance.
- Pull the power plug out, insert and fix it into the power plug hook at the rear or on top of the appliance.
- Tape parts such as shelves and the door handle to prevent from falling off while moving the appliance.
- Move the appliance with more than two people carefully. When transporting the appliance over a long distance, keep the appliance upright.
- After installing the appliance, connect the power plug into a mains outlet socket and switch it on.
OPERATION
Before Use
Notes for Operation
- Users should keep in mind that frost can form if the door is not closed completely or if the humidity is high during the summer.
- Ensure there is sufficient space between food stored on the shelf or door basket to allow the door to close completely.
- Opening the door for long periods can cause a significant increase of the temperature in the compartments of the appliance.
- If the refrigerating appliance is left empty for long periods, switch off, defrost, clean, dry, and leave the door open to prevent mould developing within the appliance.
Door Open Alarm
The alarm sounds 3 times in 30 second intervals if the door is left open or not completely closed for 1 minute.
NOTE
Contact the LG Electronics customer information centre if the alarm sound continues after 30 seconds even after closing all doors.
Failure Detection
The appliance can automatically detect problems during the operation.
NOTE
- If a problem is detected, the appliance may not operate and an error code is displayed even when any button is pressed.
- If an error code is indicated on the display, do not turn off the power. Immediately contact the LG Electronics customer information centre and report the error code. If you turn off the power, the repair technician from the our information centre may have difficulty finding the problem.
Suggestion for Energy Saving
- Ensure there is sufficient space between stored foods. This allows cold air to be circulated evenly and lowers electricity bills.
- Store hot food only after it has cooled in order to prevent dew or frost.
- When storing food in the freezer compartment, set the freezer temperature lower than the temperature indicated on the food.
- Do not set the temperature of the appliance lower than needed.
- Do not put food near the temperature sensor of the fridge compartment. Keep a distance of at least 3 cm from the sensor.
- Note that a temperature rise after defrosting has a permissible range in the appliance specifications. If you wish to minimise the impact on the food storage due to a temperature rise, seal or wrap the stored food in several layers.
- The automatic defrosting system in the appliance ensures that the compartment remains free of ice buildup under normal operating conditions.
Storing Foods Effectively
- Store frozen food or refrigerated food inside sealed containers.
- Check the expiration date and label (storage instructions) before storing food in the appliance.
- Do not store food for a long period of time (more than 4 weeks) if it spoils easily at a low temperature.
- Place the refrigerated food or frozen food in each fridge or freezer compartment immediately after purchasing.
- Store raw meat and fish in suitable containers in the refrigerator, so that it is not in contact with or drip onto other food.
- Refrigerated foods and other food items can be stored on top of the vegetable drawer.
- Avoid refreezing any food which has been completely thawed. Freezing any food which has been completely thawed again will lower its taste and nutrition.
- Do not overfill the appliance. Cold air can not circulate properly if the appliance is overfilled.
- Cool hot food before storing. If too much hot food is placed inside, the internal temperature of the appliance can increase and negatively affect other foods stored in the appliance.
- If you set an excessively low temperature for food, it may become frozen. Do not set a temperature lower than the required temperature for the food to be stored correctly.
- If there are chill compartments in the appliance, do not store vegetables and fruits with higher moisture content in the chill compartments as they may freeze due to the lower temperature.
- In the event of a blackout, call the electricity company and ask how long it is going to last.
- You should avoid door openings while the power is off.
- When the power supply gets back to normal, check the condition of the food.
Max Freezing Capacity.
- Express Freeze function will allow the freezer to reach its maximum freezing capacity. This generally takes up to 24 hours and automatically switches off.
- Express Freeze must be switched on for 2 hours before fresh products are placed in the freezer compartment.
- To get better air circulation, insert all inner parts like baskets, drawers, and shelves.
Freezing the Maximum Amount of Food
If large quantities of food are to be stored, all the freezer drawers should be taken out of the appliance and the food should be stacked directly on the freezer shelves in the freezer compartment.
CAUTION
To remove the drawers, first remove the food from drawers and then pull out the drawers carefully. Not doing so could cause injury or damage to the drawers.
NOTE
The shape of each drawer may be different, insert in the right position.
Two Star Compartment
- Two star (a) basket or drawer can be used to store ice and food from -12 °C to -18 °C for short periods.
- Two star frozen food compartments are suitable for storing pre-frozen food, storing or making icecream and making ice cubes.
- Two star compartments are not suitable for the freezing of fresh food.
Product Features
The appearance or components of the appliance may differ from model to model.
Exterior
This feature is only available on some models.
- Control Panel
Sets the refrigerator temperature and freezer temperature, the water filter condition and the dispenser mode. - Door in Door*1
This is a convenient storage area for frequently-used items that require easy access. - Door in Door Lever*1
Opens Door-in-Door.
Interior
(Two Star a)
This feature is only available on some models.
- LED Lamp
The LED lamps inside the appliance light up when you open the door. - Automatic Icemaker
This is where ice is automatically produced and stored. - Freezer Shelf
This is where frozen foods such as meat, fish, and ice cream can be stored. - Freezer Drawer
This is for long-term storage of frozen items. - Freezer Door Basket
This is where small packaged frozen food or frequently used foods can be stored. - Door in Door Compartment*1
This is where foods which are taken out frequently such as beverages and snacks are stored. - Bottle Rack
This is where drinks tall bottles or containers are stored.
CAUTION
Do not store short bottles or containers. The items may fall and cause an injury or appliance damage - Fridge Shelf
- This is where refrigerated foods and other items are stored. Store the foods with higher moisture content at the front of the shelf.
- The shelf height can be adjusted by inserting the shelf in another groove of different height.
- The actual number of shelves will differ from model to model.Z
- Air Filter
This reduces odours inside the fridge compartment. - Snack Drawer
This is where small packages of refrigerated foods are stored. - Temperature Sensor*1
This sensor senses the temperature of the fridge compartment.
Maintain the distance between the sensor and food to accurately sense the temperature. - Water Tank*1
This is where water to supply the dispenser or the automatic icemaker is stored. It requires manual filling. - Fresh Vegetable Drawer
This is where fruits and vegetables are stored to help maintain freshness by adjusting the humidity controller. - Egg Box*1
This is where eggs are stored.
Do not use it as the ice bin or place it on the shelf on top of the fridge or the vegetable drawer. - Vegetable Drawer
This is where fruits and vegetables are stored to remain fresh for as long as possible. - Fridge Door Basket
This is where small packages of refrigerated foods, drinks and sauce containers are stored
Control Panel
The actual control panel may differ from model to model.
Control Panel and Functions
This feature is only available on some models.
- Freezer
Press this button repeatedly to select a desired temperature between -24 °C and -14 °C.
The initial freezer temperature is -19 °C. - Dispenser
Select a desired dispenser mode from the buttons on the control panel. Press the dispenser switch with a glass or other container to dispense cubed ice, water or crushed ice. - Fridge
Press this button repeatedly to select a desired temperature between 1 °C and 7 °C.
The initial fridge temperature is 4 °C.
NOTE
The actual inner temperature varies depending on the food status, as the indicated setting temperature is a target temperature, not actual temperature within the appliance. - Express Freeze
This function can quickly freeze a large amount of ice or frozen foods.- This function is enabled and disabled in turn each time you press the button.
- This function automatically terminates after a specific period has passed.
- Child Lock
This locks the buttons on the control panel.- To lock the control panel buttons, press and hold the Lock button for 3 seconds until the k icon appears and the function is activated.
- To disable the function, press and hold the Lock button for 3 seconds until the l icon appears and the function is deactivated.
- Door Alarm
This sets the alarm sound which is activated when the appliance door is opened. - Water Filter*1
Replace the water filter when the h indicator lights up. - Non-Plumbing*1
The Non-Plumbing icon is illuminated when the water dispenser tank is installed corr
NOTE
- The control panel automatically turns off for energy saving.
- If there is any finger or skin contact to the control panel while cleaning it, the button function may operate.
Ice and Water Dispenser
Before Using the Ice and Water Dispenser
- Keep children away from the dispenser to prevent children playing with or damaging the controls.
- Throw away the first few batches of ice (about 20 cubes and 7 cups of water). This is also necessary if the appliance has not been used for a long time.
- It is normal for milky / cloudy water to be dispensed after replacing the water filter. This air in the water will eventually clear and is safe to drink during this transition
NOTE
If you open the freezer door while water is being dispensed, the water dispensing will stop
- If you open the fridge door while water, cubed ice or crushed ice is being dispensed, dispensing will be paused. When you close the door, the selected item will continue to be dispensed.
- If the cup rim is small, water may splash out of the glass or miss it completely.
- Use a cup with a rim of over 68 mm in diameter when dispensing water, cubed ice or crushed ice.
- When the ice maker produces smaller ice cubes, or the cubes become lumped together, the amount of water supplied to the ice maker may be low due to insufficient water in the water tank. If ice is not used frequently or the freezer set temperature is too warm, it may also lump together.
Using the Ice and Water Dispenser
- Press the dispenser selection button repeatedly until the light above the icon that you want illuminates
- Press the dispenser paddle a with a glass or other container to dispense cubed ice, water or crushed ice.

Cleaning the Dispenser
Cleaning the Ice and Water Outlet
Wipe the water outlet a or ice outlet b frequently with a clean cloth as it may get dirty easily.
NOTE
Lint from a cloth may adhere to the outlets.
Cleaning the Dispenser Tray
Wipe the entire area with a damp cloth. The dispenser tray may become wet easily due to spilled ice or water
Filling the Water Tank with Water
This feature is only available on some models. The water tank holds the water to be dispensed or used by the automatic icemaker to make ice
- Remove the water dispenser tank by pulling it out while holding the handle.

- Open the cover or cap of the water dispenser tank.

- Fill with bottle filtered or clean filtered water up to the reference line indicated inside the water dispenser tank. (Total capacity: 4 ℓ)

- After filling with water, close the cover or cap of the water dispenser tank.

- Refit the water dispenser tank on the fridge shelf.

WARNING
- Fill with potable water only into icemaker or dispenser water tank.
- Do not fill the water tank with drinks other than water or fill with hot water.
CAUTION
- Do not apply excessive force or impact when removing or assembling the water dispenser tank. Doing so can cause appliance damage or injury.
- Children should not be allowed near the dispenser tank.
NOTE
- Before using the water dispenser tank after installing the appliance, it should be washed before filling it with water.
- Check if the water dispenser tank has been placed on the appliance correctly. If it is not assembled correctly, water may leak from the tank into the appliance.
- If there is an insufficient amount of water in the water dispenser tank, ice cube size and quantity may be affected and may result in no ice being made.
- If there is no water in the water dispenser tank, the cold water and ice dispensing function of the dispenser cannot be used. Check if there is water in the water dispenser tank and then fill it with water if there is not.
- Wait at least 15 seconds before removing the water tank after having dispensed water or ice from the dispenser.
- Sound from the water tank will be normal when supplying water to the dispenser and the Automatic Ice Maker. It is not a sign of malfunction.
Automatic Icemaker
This feature is only available on some models.
This feature may vary depending on model purchased.
Before Using the In-Door Icemaker
- The icemaker produces ice normally when approximately 48 hours have passed after the appliance is initially installed.
- If the ice bin is completely filled with ice, ice production will stop.
- Sound of ice dropping into the ice bin is normal.
- If ice cubes are stored in the ice bin for a long period of time, they may clump together and may not be separated easily. In such a case, empty the ice bin and allow fresh ice to be made.
CAUTION
- It is normal for milky or cloudy water to be dispensed after replacing the water filter. This air in the water will clear eventually and is safe to drink.
- The first ice and water dispensed may include particles or odour from the water supply line or the water tank.
- If discolored ice is dispensed, check the water tank and the water supply for a possible source. If the problem continues, contact the LG Electronics customer information centre. Do not use the ice or water until the problem is corrected.
- Do not touch the ice outlet or the automatic icemaker with your hand or a tool.
- Dispense ice into a glass before filling it with water or other beverages. Splashing will occur if ice is dispensed into a glass that already contains liquid.
CAUTION
- Never use a glass that is exceptionally narrow or deep. Ice may jam in the ice passage, affecting the performance of the appliance.
- Keep the glass at a proper distance from the ice outlet. A glass held too close to the outlet may prevent ice from dispensing.
- Dispose of the ice inside the ice bin if you go on vacation or if an extended power outage occurs. Water from melting ice may drop from the dispenser onto the floor
Freezer Icemaker
The automatic icemaker can automatically make 40-84 cubes at a time, within a 24-hour period if conditions are favorable. This amount may vary Vaccording to the environment (ambient temperature around the appliance, frequency of the door being opened, amount of food stored in the appliance, etc.).
CAUTION
- Do not insert your hands into the mechanical part of the automatic icemaker such as the ice bin or the ice dispenser.
- Do not remove the cover of the automatic icemaker. Touching any mechanical part of the automatic icemaker. It may result in injury.
Removing/Refitting the Ice Storage Bin
The ice dispensing chute may become blocked with frost if only crushed ice is used. Remove the frost that accumulates by removing the ice bin and clearing the passage with a rubber spatula.
Dispensing cubed ice periodically can also help prevent frost buildup.
- Hold and remove the cover of the automatic icemaker by lifting it upward.

- To turn off the automatic icemaekr, set the switch to OFF ( O ).

- Hold the ice bin with both hands and pull it out while lifting it upward.

- Mount them in the reverse order of the removal process.
CAUTION
- Do not touch the automatic icemaker’s mechanical parts with your hand or a tool. Otherwise, appliance damage or injury may occur.
- Do not disassemble, repair or alter the automatic icemaker. These tasks should only be done by a service technician.
- Caution should be taken, as the automatic icemaker operates continuously after the freezer door is opened when the automatic icemaker switch is set to the on position.
- Keep children away from the dispenser.
- When refitting the ice bin, ensure that it is placed correctly. If it is tilted or unlevel, it may not continue to make ice due to sensor disruption
Turning the Automatic Icemaker On or Off
To turn the automatic icemaker On/Off, press the power switch on the icemaker to the ON ( | ) or OFF (O) position.
Normal Sounds You May Hear
The icemaker water valve will buzz as the icemaker fills with water. If the power switch is in the ON (|) position, it will buzz even if it has not yet been hooked up to water. To stop the buzzing, move the power switch to OFF (O).
NOTE
Do not keep the power turned on to the icemaker if the water line is not connected. Doing so can damage the icemaker.
Preparing for Vacation
If the ambient temperature will drop below freezing, have a qualified technician drain the water supply system to prevent serious property damage due to flooding caused by ruptured water lines or connections. Set the icemaker power switch to OFF (O) and shut off the water supply to the appliance.
NOTE
The ice bin should be emptied any time the icemaker on/off switch is turned to the OFF (O) position.
Door in Door
This feature is only available on some models.
Using the Door in Door
- This feature is only available on some models.
- Press the button on the center left of the door in door until it opens.
- There is plenty of storage space inside the door in door and its surrounding baskets, allowing you t store food in an organized manner.

CAUTION
Do not open the door of the appliance with the door in door open, or do not open the door in door while the door of the appliance is open. The door in door may be struck by the edge of the appliance and damaged.
Removing/Refitting the Door in Door Case
Remove contents from the Door in Door compartment before removal
- Open the doors completely and remove the contents of the Door in Door case. Lift up and pull out the Door in Door case.

- Mount them in the reverse order of the removal process.
Fridge and Freezer Drawer
CAUTION
- Always empty the drawers before removingthem, and use both hands when removing and refitting them.
- Make sure that the fridge doors are fully open before removing and refitting the drawers
Using the Vegetable Drawer
This feature is only available on some models.
The humidity in the vegetable crisper drawer can be controlled by sliding the lever in either direction.
- If moved to the left side, the air guide will be open and allow air to circulate through the drawer for reduced humidity.
- If moved to the right side, the air guide will be closed and will maintain any humidity that is currently in the crisper drawer.

Removing/Refitting the Drawers
- Remove the contents of the drawer. Hold the handle of the vegetable drawers and gently pull them out.

- Lift the vegetable drawer up and remove it by pulling it out.

- Mount them in the reverse order of the removal process.
CAUTION
- Always empty the drawers before removing them, and use both hands when removing and refitting them.
- Make sure that the fridge doors are fully open before removing and assembling the drawers.
Shelf
- Glass shelves are heavy. Use special care when removing them.
- Do not clean glass shelves with warm water while they are cold. Shelves may break if exposed to sudden temperature changes or impact.
Removing/Refitting the Shelf
- Tilt up the front of the shelf and then lift the shelf straight up.
- Pull the shelf out.

- Mount them in the reverse order of the removal process.
CAUTION
- Glass shelves are heavy. Use special care when removing them.
- Do not clean glass shelves with warm water while they are cold. Shelves may break if exposed to sudden temperature changes or impact.
- Make sure that shelves are level from one side to the other. Failure to do so may result in the shelf falling or food spilling
Fridge and Freezer Door Basket
Removing/Refitting the Door Basket
- Hold both edges of the basket and remove it by lifting it upward.

- Refit the door baskets in the reverse order of the removal process.
- Mount them in the reverse order of the removal process.
SMART FUNCTIONS
LG ThinQ Application
This feature is only available on models with the c or d logo.
The LG ThinQ application allows you to communicate with the appliance using a smartphone.
Installing the LG ThinQ Application
Search for the LG ThinQ application from the Google Play Store or Apple App Store on a smartphone. Follow instructions to download and install the application.
LG ThinQ Application Feature
Smart Diagnosis If you experience a problem while using the appliance, this smart diagnosis feature will help you diagnose the problem.
Smart Diagnosis
- This feature is only available on models with the c or d logo.
- Use this feature to help you diagnose and solve problems with your appliance
NOTE
- For reasons not attributable to LGE’s negligence, the service may not operate due to external factors such as, but not limited to, Wi-Fi unavailability, Wi-Fi disconnection, local app store policy, or app unavailability.
- The feature may be subject to change without prior notice and may have a different form depending on where you are located.
Using Audible Diagnosis to Diagnose Issues
Follow the instructions below to use the audible diagnosis method.
- Launch the LG ThinQ application and select the Smart Diagnosis feature in the menu. Follow the instructions for audible diagnosis provided in the LG ThinQ application.1 Press the Lock button to activate the lock function.
- If the display has been locked for over 5 minutes, you must deactivate the lock and then reactivate it.
- Open the fridge door and then hold the phone on the upper right speaker hole.
- Position the phone so that its microphone is aligned with the speaker hole.

- Position the phone so that its microphone is aligned with the speaker hole.
- Press and hold the Freezer button for three seconds or longer while holding your phone to the speaker until the data transfer is complete.
- The diagnosis sound is generated after around 3 seconds.
- After the data transfer is complete, the diagnosis will be displayed in the application.
NOTE
For best results, do not move the phone while the tones are being transmitted
MAINTENANCE
Cleaning
General Cleaning Tips
- When cleaning the inside or outside of the appliance, do not wipe it with a rough brush, toothpaste, or flammable materials. Do not use cleaning agents containing flammable substances. This may cause discolouration or damage to the appliance.
- Flammable substances: alcohol (ethanol, methanol, isopropyl alcohol, isobutyl alcohol, etc.), thinner, bleach, benzene, flammable liquid, abrasive, etc.
- After cleaning, check if the power cable is damaged.
Cleaning the Exterior
- When cleaning the outside air vents of the appliance by means of vacuuming, then the power cord should be unplugged from the outlet to avoid any static discharge that can damage the electronics or cause an electric shock. Regular cleaning of the rear and side ventilation covers is recommended to maintain reliable and economical operation of the unit.
- Keep the air vents on the exterior of the appliance clean. Blocked air vents can cause fire or appliance damage.
- Waxing external painted metal surfaces helps provide rust protection. Do not wax plastic parts. Wax painted metal surfaces at least twice a year using appliance wax (or auto paste wax). Apply wax with a clean, soft cloth.
- For the appliance exterior, use a clean sponge or soft cloth and a mild detergent in warm water. Do not use abrasive or harsh cleaners. Dry thoroughly with a soft cloth. Do
not use contaminated cloths when cleaning the stainless steel doors. Always use a dedicated cloth and wipe in the same direction as the grain. This helps reduce surface staining and tarnishing.
Cleaning the Interior
- When removing a shelf or drawer from inside the appliance, remove all stored foods from the shelf or drawer to prevent injury or damage to the appliance. Otherwise, injury may occur due to the weight of stored foods.
- Detach the shelves and drawers and clean them with water, and then dry them sufficiently, before replacing them.
- Regularly wipe the door gaskets with a wet soft towel.
- Door basket spills and stains should be cleaned as they can compromise storage ability of the basket and could even be damaged.
- Never clean the shelves or containers in the dishwasher. The parts may become deformed due to the heat.
Cleaning the Condenser Cover
Use a vacuum cleaner with a brush to clean the condenser cover and vents. Do not remove the panel covering the condenser coil area. We recommend that this be done every 12 months to maintain operating efficiency.
Water Filter
Before Replacing the Water Filter
- Do not allow children to have access to small parts during the installation of this product.
- Do not use with water that is microbiological unsafe or of unknown quality without adequate disinfection before or after the system. Systems certified for cyst reduction may be used on disinfected water that may contain filterable cysts.
CAUTION
- Do not install if water pressure exceeds 827 kPa.
- If your water pressure exceeds 827 kPa, you must install a pressure limiting valve. Contact a plumbing professional if you are uncertain how to check your water pressure.
- Do not install where water hammer conditions may occur. If water hammer conditions exist, you must install a water hammer arrester.
- Contact a plumbing professional if you are uncertain how to check for this condition.
- Do not install on hot water supply lines. The maximum operating water temperature of this filter system is 37.8 °C.
- Protect filter from freezing. Drain filter when temperatures drop below 4.4 °C.
- The disposable filter cartridge MUST be replaced every 6 months, at the rated capacity or if a noticeable reduction in flow rate occurs.
- Where a backflow prevention device is installed on a water system, a device for controlling pressure due to thermal expansion must be installed.
- Ensure all tubing and fittings are secure and free of leaks.
NOTE
- While the testing was performed under standard laboratory conditions, actual performance may vary.
- It is essential that the manufacturer’s recommended installation, maintenance and filter replacement requirements be carried out for the product to perform as advertised
| Application Guidelines/Water Supply Parameters | |
| Service Flow | 1.9 lpm |
| Water Supply | Community or Private Well – Potable Water |
| Water Pressure | 138 – 827 kPa |
| Water Temperature | 0.6 – 37.8°C |
| Capacity | 1892 litres |
Replacing the Water Filter (Plumbed Model)
This feature is only available on some models.
The filter must be changed every 6 months or when the indicator lights turns on or the water dispenser output decreases.
- To purchase a replacement water filter:
- Use replacement cartridge: ADQ736939**
- Visit your local dealer or distributor or contact the LG Electronics Customer Information Centre. For further assistance, visit our website at lg.com
Thread Nut Type*1
- Loose the screw cap.

- Pull the pipe out from the water filter cap until the colored line 1 is visble

- Push the pipe into the water fitler cap, making sure the end is fully sealed

- Tighten the screw cap until the colored line in the water filter is no longer visible.

- Press and hold the Water Filter button for three seconds. That resets the Replacement Filter icon. The new water filter has been activated.
- Dispense water for approximately 5 minutes to remove trapped air and contaminants from the system.
Push fit connector type*1
- Remove the screw cap.

- Pull the pipe out from the water fitler.

- Push the pipe into the water fitler, making sure the end is fully sealed

- Insert the screw cap until the colored line in the water filter is no longer visible.

- Press and hold the Water Filter button for three seconds. That resets the Replacement Filter icon. The new water filter has been activated.
- Dispense water for approximately 5 minutes to remove trapped air and contaminants from the system.
CAUTION
Failure to replace filters when required or using non LG authorised water filters can cause the filter cartridge to leak and result in property damage
TROUBLESHOOTING
Before Calling for Service
Cooling
| Symptoms | Possible Cause & Solution |
| There is no refrigeration or freezing. | Is there a power interruption? • Check the power of other appliances. |
| Check the power of other appliances. • Plug the power plug in the outlet properly. | |
| There is poor refrigeration or freezing. | Is the fridge or freezer temperature set to its warmest setting? • Set the fridge or freezer temperature to a colder setting. |
| Is the appliance in direct sunlight, or is it near a heat generating object such as cooking oven or heater? • Check the installation area and reinstall it away from heat generating objects. | |
| Did you store hot food without cooling it first? • Cool the hot food first before putting it in the fridge or freezer compartment. | |
| Did you put in too much food? • Maintain an appropriate space between food. | |
| Are the appliance doors completely closed? • Completely close the door and make sure that stored food is not obstructing in the door. | |
| Is there enough space around the appliance? • Adjust the installation position to make enough space around the appliance. | |
| The appliance contains a bad smell. | Is the fridge or freezer temperature set to ‘Warm’? • Set the fridge or freezer temperature to a colder setting. |
| Did you put in food with a strong smell? • Store foods with strong smells in sealed containers. | |
| Vegetables or fruit may have spoiled in the drawer. • Throw away rotten vegetables and clean the vegetable drawer. Do not store vegetables too long in the vegetable drawer. |
Ice & Water
| Symptoms | Possible Cause & Solution |
| The automatic icemaker does not produce ice or produces a small amount of ice. | Did you install the appliance recently? • The ice maker produces ice normally when approximately 48 hours have passed after the appliance is installed. • If the fridge compartment temperature is too cold, the water filter can freeze and block the water flow to the ice maker. |
| Did you connect the water supply pipe to the appliance and open the supply valve? • Connect the water supply pipe to the appliance and open the supply valve completely. | |
| Is the water supply hose bent? • If the water supply hose is bent, the water flow could be compromised. | |
| Have you dispensed a large amount of ice recently? • It takes approximately 24 hours to produce more ice in the automatic icemaker. Please wait. | |
| Did you set the ice maker switch or the automatic icemaker button on the control panel to ON? • Press I on the automatic icemaker switch or set ON for the automatic icemaker button on the control panel. (For more details on how to use, visit LG Electronics website or use your smart device.) | |
| Is the temperature of the freezer compartment set too high? • If the set temperature is too warm, ice will be produced slowly or not at all. Set the Freezer temperature to -18 °C for normal operation of the automatic icemaker. | |
| Have you been opening the appliance door frequently? • If you open the appliance door frequently, cold air will escape, lowering the speed of ice production. Do not open and close the appliance door frequently. | |
| Is the appliance door completely closed? • If the appliance door is not completely closed, the temperature of the freezer compartment will increase, slowing down the ice production speed. Close the appliance door completely. | |
| Ice is not dispensed. | Unable to hear the sound of ice coming out? • In the control panel, select the modes for cubed ice and crushed ice alternately to dispense the ice. |
| Is the ice path blocked? (You can check the ice passage by separating the ice bin.) • Ice may not be dispensed properly if the ice passage is blocked. Check the ice and clean the ice path regularly. |
| Symptoms | Possible Cause & Solution |
| Water does not come out. | The supply valve may be turned off. (For Plumbed models Only) • Open the water supply valve. • Check if the fridge compartment temperature is too cold, as the water filter can freeze and block the water flow to the dispenser. |
| The water dispenser tank may be empty. (Non plumbed models only) • Fill the water dispenser tank. | |
| Is the water supply valve closed? (For Plumbed models Only) • Open the water supply valve. | |
| Are you using unfiltered water? • Unfiltered water can contain a large amount of various heavy metals or foreign substances, so the filter may be clogged in the early stage regardless of the life of the filter. | |
| Water tastes strange. | Is the taste of water different when comparing it with the taste of water from the previous water purifier? • Has the purified water or cold water not been used for an extended period of time? |
| Has it been a long time since you installed and replaced the filter? • If an expired filter is used, the purification performance may decline. It is recommended to replace the filter according to the filter replacement period. | |
| Have you flushed out the filter properly in the initial stage after installing it? • When you install or replace the filter for the first time, you need to remove air and activated carbon residue from inside the filter. Use the appliance after dispensing and discharging approximately 5 litres of purified water from the dispenser by pressing the water dispensing lever. (Activated carbon is harmless to humans.) | |
| Has the purified water or cold water not been used for an extended period of time? • The taste of old water may change due to bacterial growth. Use the product after dispensing and discharging approximately 5 litres (approximately three minutes) from the water dispenser. |
Condensation & Frost
| Symptoms | Possible Cause & Solution |
| There is condensation inside the appliance or on the bottom of the vegetable drawer cover. | Did you store hot food without cooling it first? • Cool the hot food first before putting it inside the fridge or freezer. |
| Did you leave the appliance door open? • Although the condensation will disappear soon after you close the appliance door, you can wipe it with a dry cloth. | |
| Do you open and close the appliance door too frequently? • Condensation can form due to the temperature difference from the outside. Wipe out the dampness with a dry cloth. | |
| Did you put warm or moist food inside without sealing it in a container? • Store food in a covered or sealed container. | |
| Frost has formed in the freezer compartment. | Doors may not be closed properly. • Check if the food item inside the appliance is blocking the door and make sure that the door is tightly closed. |
| Did you store hot food without cooling it first? • Cool the hot food first before putting it in the fridge or freezer compartment. | |
| Is the air entry or exit of the freezer compartment blocked? • Make sure that air entry or exit is not blocked so that the air can circulate inside. | |
| Is the freezer compartment overfilled? • Maintain an appropriate space between items. | |
| Frost or condensation has formed inside or outside the appliance. | Did you open and close the appliance door frequently or is the appliance door improperly closed? • Frosts or condensation can form if the outside air penetrates inside the appliance. |
| Is the installation environment humid? • Condensation can appear on the exterior of the appliance if the installation area is too humid or on a humid day such as a rainy day. Wipe off any moisture with a dry cloth. | |
| The side or front of the appliance is warm. | There are anti condensation pipes fitted to these areas of the appliance to reduce condensation forming from around the door area. • The heat releasing pipe to prevent condensation is installed on the front and side of the appliance. You may feel it particularly hot right after the appliance is installed or during the summer. You can be assured that this is not a problem and is quite normal. |
| Symptoms | Possible Cause & Solution |
| There is water inside or outside of the appliance. | Is there water leakage around the appliance? • Check if the water has leaked from a sink or another place. |
| Is there water on the bottom of the appliance? • Check if the water is from the thawed frozen food or a broken or dropped container. |
Parts & Features
| Symptoms | Possible Cause & Solution |
| The appliance door is not closed tightly. | Is the appliance leaning forward? • Adjust the front feet to raise the front side slightly. |
| Were the shelves properly assembled? • Refit the shelves if needed. | |
| Did you close the door with excessive force? • If you apply too much force or speed when closing the door, it may remain briefly open before closing. Make sure that you do not slam the door closed. Close the door gently. | |
| It is difficult to open the appliance door. | Did you open the door right after you closed it? • If you try to open the appliance door within one minute after you closed it, you may have difficulties because of the pressure inside the appliance. Try to open the appliance door again in a few minutes so that the internal pressure stabilizes. |
| Door mullion does not fold in and out properly. | Are front levelling legs extended, the appliance level, and doors aligned? • Once the door baskets are filled, the doors may become misaligned, preventing the door mullion or the Auto Open Door function from working properly. Extend both front levelling legs fully so they are in firm contact with the floor. Follow the instruction in the Door Alignment section to raise the left fridge door until the door mullion is once again working properly. Adjust the right fridge door so it aligns with the left fridge door. |
| The inside lamp in the appliance does not turn on. | Lamp failure • Close the door and re-open. If the lamp does not turn on, please contact the LG Electronics customer information centre. Do not attempt removal of the lamp. |
Noises
| Symptoms | Possible Cause & Solution |
| The appliance is noisy and generates abnormal sounds. | Is the appliance installed on a weak floor or improperly levelled? • Install the appliance on a solid and flat area. |
| Does the rear of the appliance touch the wall? • Adjust the installation position to allow enough clearance around the appliance. | |
| Are objects scattered behind the appliance? • Remove the scattered objects from behind the appliance. | |
| Is there an object on top of the appliance? • Remove the object on top of the appliance. | |
| Clicking noises | The defrost control will click when the automatic defrost cycle begins and ends. The thermostat control (or appliance control on some models) will also click when cycling on and off. • Normal Operation |
| Rattling noises | Rattling noises may come from the flow of appliance, the water line on the back of the unit (for plumbed models only), or items stored on top of or around the appliance. • Normal Operation |
| Appliance is not resting evenly on the floor. • Floor is weak or uneven or levelling legs need to be adjusted. See the Door Alignment section. | |
| Appliance with linear compressor was moved while operating. • Normal operation. If the compressor does not stop rattling after three minutes, turn the power to the appliance off and then on again. | |
| Whooshing noises | Evaporator fan motor is circulating air through the fridge and freezer compartments. • Normal Operation |
| Air is being forced over the condenser by the condenser fan. • Normal Operation | |
| Gurgling noises | Appliance flowing through the cooling system. • Normal Operation |
| Popping noises | Contraction and expansion of the inside walls due to changes in temperature. • Normal Operation |
| Symptoms | Possible Cause & Solution |
| Vibrating | If the side or back of the appliance is touching a cabinet or wall, some of the normal vibrations may make an audible sound. • To eliminate the noise, make sure that the sides and back do not make any contact with any wall or cabinet. |






CAUTION


















































