
LG GTF744PZPZD Fridge and Freezer

Product Information
This manual is for the LG Fridge & Freezer. The product has smart functions that can be controlled through the LG ThinQ application for remote monitoring and management. Additionally, the product has Smart Diagnosis technology which allows for quick and easy troubleshooting. The appliance is also designed with ease of maintenance in mind with simple cleaning instructions outlined in the manual.
Product Usage Instructions
Installation
Before beginning installation, read the instructions carefully to ensure proper and safe installation. The manual provides instructions for leveling the appliance, turning on the power, and moving the appliance for relocation.
Operation
The LG ThinQ application can be downloaded to control the appliance’s smart functions remotely, and the Smart Diagnosis technology can quickly troubleshoot any issues that may arise. Refer to the manual for more information on these features, as well as general operating instructions.
Maintenance
Cleaning and maintenance instructions are provided in the manual to ensure optimal performance and longevity of the appliance. Follow these instructions carefully to avoid damage or malfunction.
Troubleshooting
If any issues arise, refer to the troubleshooting section of the manual before calling for service. This may save time and money and provide a quick resolution to the issue.
Environmental Concerns
The appendix of the manual provides information on caring for the environment regarding the product’s disposal and energy usage.
Before beginning installation, read these instructions carefully. This will simplify installation and ensure that the product is installed correctly and safely. Leave these instructions near the product after installation for future reference.
SAFETY INSTRUCTIONS
READ ALL INSTRUCTIONS BEFORE USE
The following safety guidelines are intended to prevent unforeseen risks or damage from unsafe or incorrect operation of the appliance. The guidelines are separated into ‘WARNING’ and ‘CAUTION’ as described below.
Safety Messages
- This symbol is displayed to indicate matters and operations that can cause risk. Read the part with this symbol carefully and follow the instructions in order to avoid risk.
- WARNING
This indicates that the failure to follow the instructions can cause serious injury or death. - CAUTION
This indicates that the failure to follow the instructions can cause the minor injury or damage to the product.
WARNING
To reduce the risk of explosion, fire, death, electric shock, injury or scalding to persons when using this product, follow basic precautions, including the following:
Technical Safety
- This appliance can be used by children aged from 8 years and above and persons with reduced physical, sensory or mental capabilities or lack of experience and knowledge if they have been given supervision or instruction concerning use of the appliance in a safe way and understand the hazards involved. Children shall not play with the appliance. Cleaning and user maintenance shall not be made by children without supervision.
- This appliance is not intended for use by persons (including children) with reduced physical, sensory or mental capabilities, or lack of experience and knowledge, unless they have been given supervision or instruction concerning use of the appliance by a person responsible for their safety. Children should be supervised to ensure that they do not play with the appliance.
- Children aged from 3 to 8 years are allowed to load and unload refrigerating appliances.
- This appliance is intended to be used in household and similar applications such as:
- staff kitchen areas in shops, offices and other working environments;
- farm houses and by clients in hotels, motels and other residential type environments;
- bed and breakfast type environments;
- catering and similar non-retail applications.
- This refrigerating appliance is not intended to be used as a built-in appliance.
This symbol alerts you to flammable materials that can ignite and cause a fire if you do not take care.
- This appliance contains a small amount of isobutane refrigerant
(R600a), but it is also combustible. When transporting and installing the appliance, care should be taken to ensure that no parts of the refrigerating circuit are damaged. - The refrigerant and insulation blowing gas used in the appliance require special disposal procedures. Consult with service agent or a similarly qualified person before disposing of them.
- Do not damage the refrigerant circuit.
- If the power cord is damaged or the hole of the outlet socket is loose, do not use the power cord and contact an authorized service centre.
- Do not locate multiple portable outlet sockets or portable power supplies at the rear of the appliance.
- Securely plug the power plug in the outlet socket after completely removing any moisture and dust.
- Never unplug the appliance by pulling on the power cable. Always grip the power plug firmly and pull straight out from the outlet socket.
- Keep ventilation openings, in the appliance enclosure or in the built-in structure, clear of obstruction.
- Do not store explosive substances such as aerosol cans with a flammable propellant in this appliance.
- Do not tilt the appliance to pull or push it when transporting.
- When positioning the appliance, ensure the supply cord is not trapped or damaged.
- Do not use mechanical devices or other means to accelerate the defrosting process.
- Do not use a hair drier to dry the inside of the appliance or place a candle inside to remove the odours.
- Do not use electrical appliances inside the refrigerator.
- Make sure not to get a body part such as a hand or foot stuck while moving the appliance.
- Disconnect the power cord before cleaning the appliance interior or exterior.
- Do not spray water or inflammable substances (toothpaste, alcohol, thinner, benzene, flammable liquid, abrasive, etc.) over the interior or exterior of the appliance to clean it.
- Do not clean the appliance with brushes, cloths or sponges with rough surfaces or which are made of metallic material.
- Only qualified service personnel from LG Electronics service centre should disassemble, repair, or modify the appliance. Contact an LG Electronics customer information centre if you move and install the appliance in a different location.
Risk of Fire and Flammable Materials
- If a leak is detected, avoid any naked flames or potential sources of ignition and air the room in which the appliance is standing for several minutes. In order to avoid the creation of a flammable gas air mixture if a leak in the refrigerating circuit occurs, the size of the room in which the appliance is used should correspond to the amount of refrigerant used. The room must be 1 m² in size for every 8 g of R600a refrigerant inside the appliance.
- Refrigerant leaking out of the pipes could ignite or cause an explosion.
- The amount of refrigerant in your particular appliance is shown on the identification plate inside the appliance.
Installation
- This appliance should only be transported by two or more people holding the appliance securely.
- Install the appliance on a firm and level floor.
- Do not install the appliance in a damp and dusty place. Do not install or store the appliance in any outdoor area, or any area that is subject to weathering conditions such as direct sunlight, wind, rain, or temperatures below freezing.
- Do not place the appliance in direct sunlight or expose it to the heat from heating appliances such as stoves or heaters.
- Be careful not to expose the rear of the appliance when installing.
- Install the appliance in a place where it is easy to unplug the power plug of the appliance.
- Be careful not to let the appliance door fall during assembly or disassembly.
- Be careful not to pinch, crush, or damage the power cable during assembly or disassembly of the appliance door.
- Be careful not to point the power plug up or let the appliance lean against the power plug.
- Do not connect a plug adapter or other accessories to the power plug.
- Do not modify or extend the power cable.
- Ensure that the outlet socket is properly grounded, and that the earth pin on the power cord is not damaged or removed from the power plug. For more details on grounding, inquire at an LG Electronics customer information centre.
- This appliance is equipped with a power cord having an equipment-grounding conductor and a grounding power plug. The power plug must be plugged into an appropriate outlet socket that is installed and grounded in accordance with all local codes and ordinances.
- Never start up an appliance showing any signs of damage. If in doubt, consult your dealer.
- Dispose of all packaging materials (such as plastic bags and styrofoam) away from children. The packaging materials can cause suffocation.
- Do not plug the appliance into a multi socket adapter which does not have a power cable (mounted).
- The appliance should be connected to a dedicated power line which is separately fused.
- Do not use a multi socket outlet which is not properly grounded (portable). In case of using a properly-grounded multi socket outlet (portable), use the multi socket outlet with the current capacity of the power cord rating or higher and use the multi socket outlet only for the appliance.
Operation
- Do not use the appliance for any purpose (storage of medical or experimental materials or shipping) other than any domestic household food storage use.
- If water penetrates electrical parts of the appliance, disconnect power plug and contact an LG Electronics customer information centre.
- Unplug the power plug during a severe thunderstorm or lightening or when not in use for a long period of time.
- Do not touch the power plug or the appliance controls with wet hands.
- Do not bend the power cable excessively or place a heavy object on it.
- Immediately unplug the power plug and contact an LG Electronics customer information centre if you detect a strange sound, odour, or smoke coming from the appliance.
- Do not place hands or metallic objects inside the area emitting the cold air, cover or heat releasing grille on the back.
- Do not apply excessive force or impact to the back cover of the appliance.
- Be careful of nearby children when you open or close the appliance door. The door may bump the child and cause injury.
- Avoid the danger of children getting trapped inside the appliance. A child trapped inside the appliance can cause suffocation.
- Do not put animals, such as pets into the appliance.
- Do not place heavy or fragile objects, containers filled with liquid, combustible substances, flammable objects (such as candles, lamps, etc.), or heating devices (such as stoves, heaters, etc.) on the appliance.
- Do not place any electronic appliance (such as heater and mobile phone) inside the appliance.
- If there is a gas leakage (isobutane, propane, natural gas, etc.), do not touch the appliance or power plug and ventilate the area immediately. This appliance uses a refrigerant gas (isobutane, R600a). Although it uses a small amount of the gas, it is still combustible gas. Gas leakage during appliance transport, installation or operation can cause fire, explosion or injury if sparks are caused.
- Do not use or store flammable or combustible substances (ether, benzene, alcohol, chemical, LPG, combustible spray, insecticide, air freshener, cosmetics, etc.) near the appliance.
Disposal
- When discarding the appliance, remove the door gasket while leaving the shelves and baskets in place and keep children away from the appliance.
CAUTION
To reduce the risk of minor injury to persons, malfunction, or damage to the product or property when using this product, follow basic precautions, including the following:
Operation
- Do not touch frozen food or the metal parts in the freezer compartment with wet or damp hands. It may cause frostbite.
- Do not place glass containers, bottles or cans (especially those containing carbonated drinks) in the freezer compartment, shelves or ice bin that will be exposed to temperatures below freezing.
- The tempered glass on the front side of the appliance door or the shelves can be damaged by an impact. If it is broken, do not touch it with hands.
- Do not hang from the appliance doors, storage room, shelf or climb up into it.
- Do not store an excessive amount of water bottles or containers for side dishes on the door baskets.
- Do not open or close the appliance door with excessive force.
- If the hinge of the appliance door is damaged or operates improperly, stop using the appliance and contact an authorized service centre.
- Prevent animals from nibbling on the power cable or water hose.
- Never eat frozen foods immediately after they have been taken out in the freezer compartment.
- Make sure not to get a hand or foot stuck upon opening or closing the appliance door or door in door.
Maintenance
- Do not clean glass shelves or covers with warm water when they are cold. They may shatter if exposed to sudden temperature changes.
- Do not insert the shelves upside down. The shelves may fall.
- To remove frost from the appliance, contact an LG Electronics customer information centre.
- Dispose of the ice inside the ice bin in the freezer compartment during an extended power outage.
INSTALLATION
Before Installation
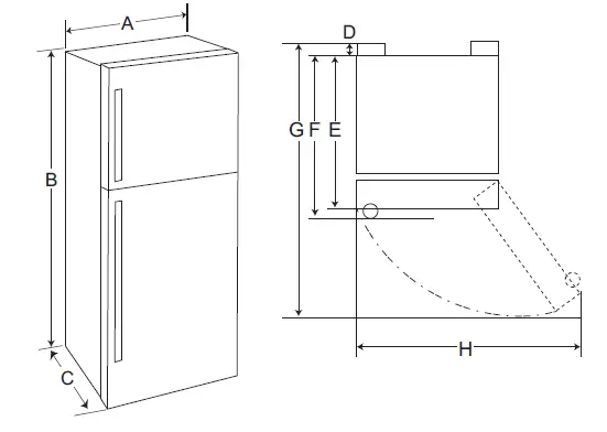
Dimensions and Clearances
Too small of a distance from adjacent items may result in the degradation of freezing capability and increased electricity costs. Allow over 50 mm of clearance between the back of the appliance and the wall when installing the appliance.

| – | Type (mm) | ||||
| – | a | b | c | d | e |
| A | 780 | 780 | 780 | 700 | 700 |
| B | 1 800 | 1 800 | 1 720 | 1 680 | 1 680 |
| C | 730 | 700 | 730 | 730 | 700 |
| D | 27 | 27 | 27 | 27 | 27 |
| E | 673 | 673 | 673 | 673 | 673 |
| F | 703 | – | 703 | 703 | – |
| G | 1 420 | 1 420 | 1 420 | 1 340 | 1 340 |
| H | 1 390 | 1 340 | 1 390 | 1 250 | 1 210 |
NOTE
You can determine what type of appliance it is by looking at the label inside the appliance.
Ambient Temperature
- The appliance is designed to operate within a limited range of ambient temperatures, depending on the climate zone.
- The internal temperatures could be affected by the location of the appliance, the ambient temperature, the frequency of door opening and so on.
- The climate class can be found on the rating label.
| Climate Class | Ambient Temperature Range ºC |
| SN (Extended Temperate) | +10 – +32 |
| N (Temperate) | +16 – +32 |
| ST (Subtropical) | +16 – +38 / +18 – +38** |
| T (Tropical) | +10 – +43* / +16 – +43 / +18 – +43** |
* Australia, India, Kenya
** Argentina
NOTE
- The appliances rated from SN to T are intended to be used at an ambient temperature between 10 ºC and 43 ºC.
Levelling the Appliance
Adjusting the Levelling Leg
If the appliance seems unsteady, or the doors do not close easily, adjust the appliance’s tilt using the instructions below.
- Turn the levelling leg clockwise to raise that side of the appliance or counterclockwise to lower it.

- Open the doors and check to make sure that they close easily.
Turning on the Power
Connecting the Appliance
After installing the appliance, connect the power plug into the outlet socket.
NOTE
- After connecting the power supply cord (or plug) to the outlet, wait 3 or 4 hours before you put food into the appliance. If you add food before the appliance has cooled completely, your food may spoil.
Moving the Appliance for Relocation
Preparing for Relocation
- Remove all food from inside the appliance.
- Pull the power plug out, insert and fix it into the power plug hook at the rear or on top of the appliance.
- Tape parts such as shelves and the door handle to prevent from falling off while moving the appliance.
- Move the appliance with more than two people carefully. When transporting the appliance over a long distance, keep the appliance upright.
- After installing the appliance, connect the power plug into a mains outlet socket and switch it on.
OPERATION
Before Use
Notes for Operation
- Users should keep in mind that frost can form if the door is not closed completely or if the humidity is high during the summer.
- Ensure there is sufficient space between food stored on the shelf or door basket to allow the door to close completely.
- Opening the door for long periods can cause a significant increase of the temperature in the compartments of the appliance.
- If the refrigerating appliance is left empty for long periods, switch off, defrost, clean, dry, and leave the door open to prevent mould developing within the appliance.
Door Open Alarm
The alarm sounds 3 times in 30 second intervals if the door is left open or not completely closed for 1 minute.
NOTE
Contact the LG Electronics customer information centre if the alarm sound continues even after closing all doors.
Failure Detection
The appliance can automatically detect problems during the operation.
NOTE
- If a problem is detected, the appliance may not operate and an error code is displayed even when any button is pressed.
- If an error code is indicated on the display, do not turn off the power. Immediately contact the LG Electronics customer information centre and report the error code. If you turn off the power, the repair technician from the our information centre may have difficulty finding the problem.
Suggestion for Energy Saving
- For the most efficient use of energy, keep all inner parts (e.g. door bins, drawers and shelves) on their original location.
- Ensure there is sufficient space between stored foods. This allows cold air to be circulated evenly and lowers electricity bills.
- Store hot food only after it has cooled in order to prevent dew or frost.
- When storing food in the freezer compartment, set the freezer temperature lower than the temperature indicated on the food.
- Do not set the temperature of the appliance lower than needed.
- Do not put food near the temperature sensor of the fridge compartment. Keep a distance of at least 3 cm from the sensor.
- Note that a temperature rise after defrosting has a permissible range in the appliance specifications. If you wish to minimise the impact on the food storage due to a temperature rise, seal or wrap the stored food in several layers.
Storing Foods Effectively
- Food may freeze or spoil if stored at the wrong temperature. Set the refrigerator to the correct temperature for the food being stored.
- Store frozen food or refrigerated food inside sealed containers.
- Check the expiration date and label (storage instructions) before storing food in the appliance.
- Do not store food for a long period of time if it spoils easily at a low temperature.
- Do not place unfrozen food in direct contact with food that is already frozen. It could be necessary to reduce the quantity to be frozen if freezing every day is anticipated.
- Place the refrigerated food or frozen food in each fridge or freezer compartment immediately after purchasing.
- Store raw meat and fish in suitable containers in the refrigerator, so that it is not in contact with or drip onto other food.
- Refrigerated foods and other food items can be stored on top of the vegetable drawer.
- Avoid refreezing any food which has been completely thawed. Freezing any food which has been completely thawed again will lower its taste and nutrition.
- Cool hot food before storing. If too much hot food is placed inside, the internal temperature of the appliance can increase and negatively affect other foods stored in the appliance.
- Do not overfill the appliance. Cold air can not circulate properly if the appliance is overfilled.
- If you set an excessively low temperature for food, it may become frozen. Do not set a temperature lower than the required temperature for the food to be stored correctly.
- If there are chill compartments in the appliance, do not store vegetables and fruits with higher moisture content in the chill compartments as they may freeze due to the lower temperature.
- In the event of a blackout, call the electricity company and ask how long it is going to last.
- You should avoid door openings while the power is off.
- When the power supply gets back to normal, check the condition of the food.
Maximum Freezing Capacity
- Express Freeze function will allow the freezer to reach its maximum freezing capacity. This generally takes up to 24 hours and automatically switches off.
- Express Freeze must be switched on for 2 hours before fresh products are placed in the freezer compartment.
- To get better air circulation, insert all inner parts like baskets and shelves.
Freezing the Maximum Amount of Food
If large quantities of food are to be stored, the icemaker should be taken out of the appliance and the food should be stacked directly on the freezer shelves in the freezer compartment.
NOTE
Insert the icemaker in the right position.
Two Star Compartment
- Two star (a) basket or drawer can be used to store ice and food from -12 °C to -18 °C for short periods.
- Two star frozen food compartments are suitable for storing pre-frozen food, storing or making icecream and making ice cubes.
- Two star compartments are not suitable for the freezing of fresh food.
Product Features
The appearance or components of the appliance may differ from model to model.
Interior (Two Star a)
This feature is only available on some models.

- Smart Diagnosis Unit
Use this function when contacting LG Electronics customer information centre to accurate diagnosis when the appliance operates abnormally or a failure occurs. - b LED Lamp*1
The LED lamps inside the appliance light up when you open the door. - Freezer Shelf
This is where frozen foods such as meat, fish, and icecream can be stored. - Moving Icemaker*1
This is where ice is manually produced and stored.
You can slide the icemaker along the shelf from side to side to any desired position. - Freezer Temperature Controller
This controller regulates the air flow to the freezer compartment by setting it to a suitable balance. - Fresh Room Drawer / Pull Out Tray*1
This is where food items are stored at a colder temperature than the regular fridge area. - Fridge Temperature Control Panel*1
This is where you can set the fridge temperature. - Door Cooling*1
This is where cold air comes out to keep the fridge door basket cool. - Fridge Shelf
This is where refrigerated foods and other items are stored.- Store the foods with higher moisture content at the front of the shelf.
- The shelf height can be adjusted by inserting the shelf in another groove of different height.
- The actual number of shelves may differ from model to model.
- Fresh Vegetable Drawer
This is where fruits and vegetables are stored to help maintain freshness by adjusting the humidity controller. - Freezer Door Basket
This is where small packaged frozen food or frequently used foods can be stored.
NOTE
The number of freezer door baskets with two star section may vary depending on model purchased.
The door baskets are not 2 star compartment according to new energy labeling regulation (EU) 2019/ 2016. - Ice Tray*1
This is where ice is manually produced. - Movable Egg Tray*1
This is where eggs are stored.
You can move it to and use it at a desired position as needed. However, do not use it as the ice bin or place it on the shelf on top of the fridge or the vegetables drawer. - Fridge Door Basket
This is where small packages of refrigerated foods, drinks and sauce containers are stored. - Water Tank*1
This is where water is stored to supply the dispenser. - Door in Door Compartment*1
This is where foods which are taken out frequently such as beverages and snacks are stored. - Fridge Door Air Duct*1
The cold air which comes from door cooling compartment is directly delivered to the fridge door basket.
NOTE To freeze food items quickly, store the food in the center of lower compartment. Food items will freeze most quickly in the zone.
Control Panel
The actual control panel may differ from model to model.
Control Panel and Functions
*1 This control panel is only available on some models.
Control Panel 1: On the Freezer Door*1

- Fridge
- Press this button repeatedly to select a desired temperature between 0 °C and 6 °C.
The initial fridge temperature is 3 °C.
NOTE
The actual inner temperature varies depending on the food status, as the indicated setting temperature is a target temperature, not actual temperature within the appliance.
- Press this button repeatedly to select a desired temperature between 0 °C and 6 °C.
- Express Freeze
This function can quickly freeze a large amount of ice or frozen foods.- This function is enabled and disabled in turn each time you press the button.
- This function automatically terminates after a specific period has passed.
- Wi-Fi
This button allows the appliance to connect to a home Wi-Fi network. Refer to Smart Functions for information on the initial setup of the LG ThinQ application. - Lock
This locks the buttons on the control panel.- To lock the control panel buttons, press and hold the Lock button for 3 seconds until the k icon appears and the function is activated.
- To disable the function, press and hold the Lock button for 3 seconds until the l icon appears and the function is deactivated.
NOTE
- For optimal food preservation, increasing or decreasing 1 °C from the default temperature is recommended.
- The control panel will turn off automatically for energy saving.
- If any finger or skin comes into contact with the control panel while cleaning it, the button function may operate.
Control Panel 2: Inside the Fridge*1

- Fridge
Press this button repeatedly to select a desired temperature between Cold and Coldest.
The initial fridge temperature is Normal. - Express Freeze
This function can quickly freeze a large amount of ice or frozen foods.- This function is enabled and disabled in turn each time you press the button.
- This function automatically terminates after a specific period has passed.
NOTE
For optimal food preservation, increasing or decreasing one level from the default temperature is recommended.
Setting the Freezer Temperature Level (1-7)
The temperature can be adjusted from level 1 to level 7. Level 3 is recommended.

- You can lower the temperature by turning the controller to the right and raise the temperature by turning the controller to the left.
- Setting the controller at level 6-7 will maintain a low temperature in the freezer. When the quick freezing is finished (level 7), set the controller to the recommended level.
NOTE
- For optimal food preservation, increasing or decreasing one level from the default temperature is recommended.
- Wait until 2 or 3 hours have passed after connecting the appliance to the outlet before storing food in the appliance.
- The internal temperatures could be affected by the location of the appliance, the ambient temperature, the frequency of door opening and so on.
Setting the Freezer Temperature Level (1-8)
The temperature can be adjusted from level 1 to level 8. Level 5 is recommended.

- You can lower the temperature by turning the controller to the right and raise the temperature by turning the controller to the left.
- Setting the controller at 6-8 level will maintain a low temperature in the freezer.
NOTE
- For optimal food preservation, increasing or decreasing one level from the default temperature is recommended.
- Wait until 2 or 3 hours have passed after connecting the appliance to the outlet before storing food in the appliance.
- The internal temperatures could be affected by the location of the appliance, the ambient temperature, the frequency of door opening and so on.
Water Dispenser
This feature is only available on some models.

Using the Dispenser
You can dispense water by pressing the lever.
- Press the paddle a of the water dispenser to get cold water.
CAUTION
- Keep children away from the dispenser to prevent children playing with or damaging the controls.
- Do not use a thin crystal cup or chinaware when dispensing water or ice.
NOTE
- If the cup rim is small, water may splash out of the glass or miss it completely.
Cleaning the Dispenser Tray
Wipe the entire area with a damp cloth. The dispenser tray may become wet easily due to spilled water.
Cleaning the Dispenser Outlet
Wipe the dispenser outlet frequently with a clean cloth as it may get dirty easily.

NOTE
- Lint from a cloth may adhere to the outlet.
Filling the Water Tank
The water tank holds the water which is to be dispensed.
- Open the cap on the top of the water tank.

- Fill the water tank with potable water and close the cap.

WARNING
- Fill with potable water only. Do not fill the water tank with beverages or hot water.
- Children should not be allowed near the water tank.
CAUTION
- Do not apply excessive force or impact when removing or assembling the water dispenser tank.
NOTE
- The water tank should be washed before filling it with potable water.
- If water does not come out, fill the water tank with potable water.
Cleaning the Water Tank
- Remove the water tank cover.

- Empty the water tank.
- Hold the water tank with both hands and pull it up.

- Remove the water valve a in the water tank by turning it clockwise.

- Clean the water tank and the water valve in running water. Wipe the inside and outside of the water tank and the fridge door with a clean cloth.
- Mount the water tank in the reverse order of the removal process.
NOTE
- Clean water tanks if they have not been used for 48 hours.
Icemaker
This feature is only available on some models.
Using the Moving Icemaker
This is where ice is manually produced and stored.
- Pull out the ice tray from the Icemaker.

- Fill the ice tray with water up to the marked water line.
- Hold and push the ice tray back to its original position.
- Hold the lever of the ice tray and turn it clockwise to release the ice cubes.
- Hold the handle of the ice bin and pull out it.

WARNING
- Fill with potable water only.
CAUTION
- Be careful not to spill water when pushing the ice tray.
- Be careful not to twist the ice tray with force as it can be broken.
- If you open and close the freezer door frequently, it may take longer for water to be frozen.
NOTE
- You can remove the ice maker to create more space inside the freezer compartment if you do not use it.
- If the ice tray is overfilled, the ice cubes may stick together and be difficult to remove.
- Ice can be removed more easily by pouring water on the ice tray.
Using the Ice Tray
This is where ice is manually produced.
Fill the ice tray with water up to the marked water line.

WARNING
Fill with potable water only.
CAUTION
- Be careful not to twist the ice tray with force as it can be broken.
- If you open and close the freezer door frequently, it may take longer for water to be frozen.
NOTE
- If the ice tray is overfilled, the ice cubes may stick together and be difficult to remove.
- Ice can be removed more easily by pouring water on the ice tray.
Door in Door
This feature is only available on some models.
Using the Door in Door
Press the button at the top of the fridge door until the Door in Door opens.
There is plenty of storage space inside the Door in Door and its surrounding baskets, allowing you to store food in an organized manner.

Removing and Refitting the Door in Door Case
- Hold the case inside the Door in Door with both hands and remove it by lifting it upward.

- Mount the Door in Door in the reverse order of the removal process.
Using the Door in Door Basket
Store food that is frequently taken out and used.
- Open the Door in Door.

- Pull out the Door in Door basket.
- Mount the Door in Door basket in the reverse order of the removal process.
Fridge Drawer
Using the Fresh Vegetable Drawer
Vegetable compartment can adjust the humidity by moving the knob.

- For storing fruit.
- For storing vegetables.
Removing and Refitting the Fresh Vegetable Drawer
- Remove the contents of the drawer. Hold the handle of the vegetable drawer and gently pull it out outward until the drawer stops completely.
- Lift the vegetable drawer up and remove it by pulling it out.

- Mount the vegetable drawer in the reverse order of the removal process.
CAUTION
- Remove all food from inside the appliance, otherwise injuries can be caused by the weight of stored foods.
Door Basket
Removing/Refitting the Door Basket
- Hold both edges of the basket and remove it by lifting it upward.

- Refit the door basket in the reverse order of the removal process.
Shelf
Removing/Refitting the Shelf
- Hold the both side of the shelf. Lift the shelf up and remove it by pulling it out.

- Refit the shelf by sliding it inward until the shelf snaps into the frame.
SMART FUNCTIONS
LG ThinQ Application
This feature is only available on models with Wi-Fi. The LG ThinQ application allows you to communicate with the appliance using a smartphone.
LG ThinQ Application Features
Communicate with the appliance from a smartphone using the convenient smart features. Smart Diagnosis
- If you experience a problem while using the appliance, this smart diagnosis feature will help you diagnose the problem.
Settings
- Allows you to set various options on the appliance and in the application.
NOTE
- If you change your wireless router, internet service provider, or password, delete the registered appliance from the LG ThinQ application and register it again.
- The application is subject to change for appliance improvement purposes without notice to users.
- Functions may vary by model.
Before Using LG ThinQ Application
- Check the distance between the appliance and If the distance between the appliance and the wireless router is too far, the signal strength becomes weak. It may take a long time to register or installation may fail.
- Turn off the Mobile data or Cellular Data on your smartphone.

- Connect your smartphone to the wireless router.

NOTE
- To verify the Wi-Fi connection, check that the Wi-Fi indicator on the control panel is lit.
- The appliance supports 2.4 GHz Wi-Fi networks only. To check your network frequency, contact your Internet service provider or refer to your wireless router manual.
- LG ThinQ is not responsible for any network connection problems or any faults, malfunctions, or errors caused by network connection.
- If the appliance is having trouble connecting to the Wi-Fi network, it may be too far from the router. Purchase a Wi-Fi repeater (range extender) to improve the Wi-Fi signal strength.
- The Wi-Fi connection may not connect or may be interrupted because of the home network environment.
- The network connection may not work properly depending on the Internet service provider.
- The surrounding wireless environment can make the wireless network service run slowly.
- The appliance cannot be registered due to problems with the wireless signal transmission. Unplug the appliance and wait about a minute before trying again.
NOTE
- If the firewall on your wireless router is enabled, disable the firewall or add an exception to it.
- The wireless network name (SSID) should be a combination of English letters and numbers. (Do not use special characters.)
- Smartphone user interface (UI) may vary depending on the mobile operating system (OS) and the manufacturer.
- If the security protocol of the router is set to WEP, you may fail to set up the network. Please change it to other security protocols (WPA2 is recommended) and register the product again.
Installing the LG ThinQ Application
Search for the LG ThinQ application from the Google Play Store or Apple App Store on a smartphone. Follow instructions to download and install the application.
Connecting to Wi-Fi
The Wi-Fi button, when used with the LG ThinQ application, allows the appliance to connect to a home Wi-Fi network. The Wi-Fi indicator shows the status of the appliance’s network connection. The Wi-Fi indicator illuminates when the appliance is connected to the Wi-Fi network.
- Initial Appliance Registration
Run the LG ThinQ application and follow the instructions in the application to register the appliance. - Re-registering the Appliance or Registering Another User
Press and hold the Wi-Fi button for 3 seconds to temporarily turn it off. Run the LG ThinQ application and follow the instructions in the application to register the appliance.
NOTE
- To disable the Wi-Fi function, press and hold the Wi-Fi button for 3 seconds. The Wi-Fi indicator will be turned off.
Open Source Software Notice Information
To obtain the source code under GPL, LGPL, MPL, and other open source licenses that have the obligations to disclose source code, that is contained in this product, and to access all referred license terms, copyright notices and other relevant documents please visit https://opensource.lge.com.
LG Electronics will also provide open source code to you on CD-ROM for a charge covering the cost of performing such distribution (such as the cost of media, shipping, and handling) upon email request to [email protected].
This offer is valid to anyone in receipt of this information for a period of three years after our last shipment of this product.
Smart Diagnosis
Use this feature to help you diagnose and solve problems with your appliance.
NOTE
- For reasons not attributable to LGE’s negligence, the service may not operate due to external factors such as, but not limited to, Wi-Fi unavailability, Wi-Fi disconnection, local app store policy, or app unavailability.
- The feature may be subject to change without prior notice and may have a different form depending on where you are located.
Installing the LG ThinQ Application
Search for the LG ThinQ application from the Google Play Store or Apple App Store on a smartphone. Follow instructions to download and install the application.
Using LG ThinQ to Diagnose Issues
If you experience a problem with your Wi-Fi equipped appliance, it can transmit troubleshooting data to a smartphone using the LG ThinQ application.
Launch the LG ThinQ application and select the Smart Diagnosis feature in the menu. Follow the instructions provided in the LG ThinQ application.
Using Audible Diagnosis to Diagnose Issues
This control panel is only available on some models.
Follow the instructions below to use the audible diagnosis method.
- Launch the LG ThinQ application and select the Smart Diagnosis feature in the menu. Follow the instructions for audible diagnosis provided in the LG ThinQ application.
Control Panel 1: On the Freezer Door*1
- Press the Lock button to activate the lock function.
- If the display has been locked for over 5 minutes, you must deactivate the lock and then reactivate it.
- Press and hold the Fridge button for three seconds or longer.|

- Open both fridge and freezer door, and then hold the phone on the upper right speaker hole.
- After the data transfer is complete, the diagnosis will be displayed in the application.
Control Panel 2: Inside the Fridge*1
- Open the fridge door.
- Close and open the fridge door 5 times within 8 seconds.
NOTE If you do not close and open the door 5 times within 8 seconds, the time will be reset. Then you have to close and open the door 5 times again. - If the buzzer sounds 4 times, open the freezer door and hold the phone near the speaker hole.
- After the data transfer is complete, the diagnosis will be displayed in the application.

NOTE For best results, do not move the phone while the tones are being transmitted.
MAINTENANCE
Cleaning
General Cleaning Tips
- Performing manual defrosting, maintenance or cleaning of the appliance while food is stored in the freezer can raise the temperature of the food and reduce its storage life.
- Regularly clean any surfaces that can come in contact with food.
- When cleaning the inside or outside of the appliance, do not wipe it with a rough brush, toothpaste, or flammable materials. Do not use cleaning agents containing flammable substances. This may cause discoloration or damage to the appliance.
- Flammable substances: alcohol (ethanol, methanol, isopropyl alcohol, isobutyl alcohol, etc.), thinner, bleach, benzene, flammable liquid, abrasive, etc.
- After cleaning, check if the power cable is damaged.
Cleaning the Exterior
- When cleaning the outside air vents of the appliance by means of vacuuming, then the power cord should be unplugged from the outlet to avoid any static discharge that can damage the electronics or cause an electric shock. Regular cleaning of the rear and side ventilation covers is recommended to maintain reliable and economical operation of the unit.
- Keep the air vents on the exterior of the appliance clean. Blocked air vents can cause fire or appliance damage.
- For the appliance exterior, use a clean sponge or soft cloth and a mild detergent in warm water. Do not use abrasive or harsh cleaners. Dry thoroughly with a soft cloth. Do not use contaminated cloths when cleaning the stainless steel doors. Always use a dedicated cloth and wipe in the same direction as the grain. This helps reduce surface staining and tarnishing.
Cleaning the Interior
- When removing a shelf or drawer from inside the appliance, remove all stored foods from the shelf or drawer to prevent injury or damage to the appliance. Otherwise, injury may occur due to the weight of stored foods.
- Detach the shelves and drawers and clean them with water, and then dry them sufficiently, before replacing them.
- Regularly wipe the door gaskets with a wet soft towel.
- Door basket spills and stains should be cleaned as they can compromise storage ability of the basket and could even be damaged.
- Never clean the shelves or containers in the dishwasher. The parts may become deformed due to the heat.
- The automatic defrosting system in the appliance ensures that the compartment remains free of ice buildup under normal operating conditions. Users do not need to defrost it manually.
TROUBLESHOOTING
Before Calling for Service
Cooling
| Symptoms | Possible Cause & Solution |
| There is no refrigeration or freezing. | Is there a power interruption? Check the power of other appliances. |
| Check the power of other appliances. Plug the power plug in the outlet properly. | |
A fuse in your home may be blown or the circuit breaker tripped. Or the appliance is connected to a GFCI (Ground Fault Circuit Interrupter) outlet, and the outlet’s circuit breaker has tripped.
| |
| There is poor refrigeration or freezing. | Is the fridge or freezer temperature set to its warmest setting? Set the fridge or freezer temperature to a colder setting. |
| Is the appliance in direct sunlight, or is it near a heat generating object such as cooking oven or heater? Check the installation area and reinstall it away from heat generating objects. | |
| Did you store hot food without cooling it first? Cool the hot food first before putting it in the fridge or freezer compartment. | |
| Did you put in too much food? Maintain an appropriate space between food. | |
| Are the appliance doors completely closed? Completely close the door and make sure that stored food is not obstructing in the door. | |
| Is there enough space around the appliance? Adjust the installation position to make enough space around the appliance. | |
| The appliance contains a bad smell. | Is the fridge or freezer temperature set to ‘Warm’? Set the fridge or freezer temperature to a colder setting. |
| The appliance contains a bad smell. | Did you put in food with a strong smell?Store foods with strong smells in a sealed containers. |
| Vegetables or fruit may have spoiled in the drawer? Throw away rotten vegetables and clean the vegetable drawer. Do not store vegetables too long in the vegetable drawer. |
Condensation & Frost
| Symptoms | Possible Cause & Solution |
| There is condensation inside the appliance or on the bottom of the vegetable drawer cover. | Did you store hot food without cooling it first? Cool the hot food first before putting it inside the fridge or freezer. |
| Did you leave the appliance door open? Although the condensation will disappear soon after you close the appliance door, you can wipe it with a dry cloth. | |
| Do you open and close the appliance door too frequently? Condensation can form due to the temperature difference from the outside. Wipe out the dampness with a dry cloth. | |
| Did you put warm or moist food inside without sealing it in a container? Store food in a covered or sealed container. |
Parts & Features
| Symptoms | Possible Cause & Solution |
| The inside lamp in the appliance does not turn on. | Lamp failure Close the door and re-open. If the lamp does not turn on, please contact the LG Electronics customer information centre. Do not attempt removal of the lamp. |
Noises
| Symptoms | Possible Cause & Solution |
| The appliance is noisy and generates abnormal sounds. | Is the appliance installed on a weak floor or improperly levelled? Install the appliance on a solid and flat area. |
| The appliance is noisy and generates abnormal sounds. | Does the rear of the appliance touch the wall? Adjust the installation position to allow enough clearance around the appliance. |
| Are objects scattered behind the appliance? Remove the scattered objects from behind the appliance. | |
| Is there an object on top of the appliance? Remove the object on top of the appliance. |
Wi-Fi
| Symptoms | Possible Cause & Solution |
| Your home appliance and smartphone are not connected to the Wi-Fi network. | The password for the Wi-Fi that you are trying to connect to is incorrect. Find the Wi-Fi network connected to your smartphone and remove it, then register your appliance on LG ThinQ. |
| Mobile data for your smartphone is turned on. Turn off the Mobile data of your smartphone and register the appliance using the Wi-Fi network. | |
| The wireless network name (SSID) is set incorrectly. The wireless network name (SSID) should be a combination of English letters and numbers. (Do not use special characters.) | |
| The router frequency is not 2.4 GHz. Only a 2.4 GHz router frequency is supported. Set the wireless router to 2.4 GHz and connect the appliance to the wireless router. To check the router frequency, check with your Internet service provider or the router manufacturer. | |
| The distance between the appliance and the router is too far. If the distance between the appliance and the router is too far, the signal may be weak and the connection may not be configured correctly. Move the location of the router so that it is closer to the appliance. |
Customer Care and Service
Contact an LG Electronics customer information centre.
- To find information on LG authorized service centre, visit our website at www.lg.com.
- Only qualified service personnel from LG authorized service centre should disassemble, repair, or modify the appliance.
- The minimum warranty period of this refrigerating appliance is 24 months.
NOTE
- Regulation EU 2019/2019, valid from 1st March 2021, is related to the Energy Efficiency classes by Regulation EU 2019/2016.
- For more information about the energy efficiency of the appliance, visit https://ec.europa.eu and search using the model name (valid from 1st March 2021).
- Scan the QR code on the energy label supplied with the appliance, which provides a web link to the information related to the performance of the appliance in the EU EPREL database. Keep the energy label for reference and all other documents supplied with the appliance (valid from 1st March 2021).
- The model name can be found on the rating label of the appliance.
- This product contains a light source of energy efficiency class G.
APPENDIX
CARING FOR THE ENVIRONMENT
Disposal of Your Old Appliance
- This crossed-out wheeled bin symbol indicates that waste electrical and electronic products (WEEE) should be disposed of separately from the municipal waste stream.
- Old electrical products can contain hazardous substances so correct disposal of your old appliance will help prevent potential negative consequences for the environment and human health. Your old appliance may contain reusable parts that could be used to repair other products, and other valuable materials that can be recycled to conserve limited resources.
- You can take your appliance either to the shop where you purchased the product, or contact your local government waste office for details of your nearest authorised WEEE collection point. For the most up to date information for your country please see www.lg.com/global/recycling.
References
LG Open Source
szelektalok.hu – Amit a szelektív hulladékgyűjtésről tudni kell – szelektív hulladékgyűjtés
LG Electronics & Home Appliances | Shop Now | LG USA
LG Electronics & Home Appliances | Shop Now | LG USA
Global Take-Back Policy | Take-Back & Recycling | LG Global
Info-tri | Ministères Écologie Énergie Territoires
LG Consumer & Business Electronics | LG Deutschland


































