SolAire EXO Ceramic Electric Radiator
Safety Instructions
- CAUTION – Some parts of this product can become very hot which could cause burns. Particular attention has to be given where children and vulnerable people are present.
- If the supply cord is damaged, it must be replaced by the manufacturer, its service agent or similarly qualified person. The heater must not be located immediately below an electrical socket-outlet.
- This product is IX0 rated and must not be used in a bathroom or near water.,
- Do not cover this Radiator
- Keep Radiator away from flammable objects such as curtains and textiles.
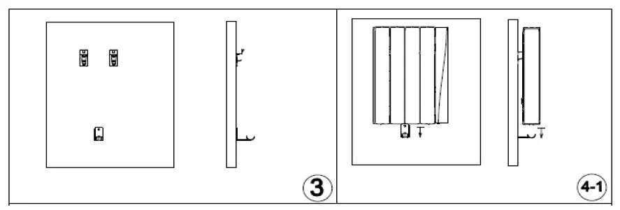
- Regarding the instructions for fixed installation, refer to page 4.
- Means for disconnection having a contact separation in all poles must be incorporated in the fixed wiring in accordance with the wiring rules.
- ELECTRICAL CONNECTION
- Your heater must only be installed in a fixed position in accordance with the applicable regulations.
- Indoor use only
- This installation must be done by a qualified electrician to avoid any danger.
If you are unsure regarding the installation of this product, we suggest that you to contact a professional electrician for assistance.
Mounting the heater
Make sure clearances shown below (on Fig1) are adhered to.
- Use the screws, dowels and brackets supplied by the manufacturer.
- For drilling dimensions, see the drilling template.
- Read the instructions for the steps on the installation as shown on the next page.
Caution: Before switching on make sure the radiator is correctly fixed to the wall.




Technical specifications
Power supply: 230V~ 50Hz
Power: 1000W, 1500W, 2000W 
Power supply: 230V~ 50Hz
- Temperature is ajustable by +/- 0.5°C
- Temperature range setting: 7°C to 30°C
Operation

Manual Control (Without WiFi)
When using, ensure the Radiator is switched on.
Press ON / OFF (on control panel) button to turn the radiator on or off.
To select a mode, Press
the button,
Comfort mode ![]()
- The default Eco temperature is 19C .
- When programming the heater, comfort mode is when the heater will be on.
- If presence detection is enabled. When the room is occupied, the radiator is in comfort mode.
Eco mode ![]()
- The default Eco temperature is 15.5C .
- When programming the heater, the off period will be Eco mode. Eco mode is designed to maintain a low level of heat in the room.
- The default Eco temperature is 15.5C .
The temperature for ECO and Reduced mode can be changed. To adjust the temperature press + or -.
Anti Frost Mode ![]()
- Frost mode protects the room by activating the heater if the temperature drops below 7C.
- The Anti Frost temperature can not be changed.
Pilot wire mode ![]()
Used if the radiator is controlled by an external controller.
In Pilot wire mode, 6 modes are available: (1) Comfort, (2) Comfort-1, (3) Comfort-2, (4) Economic, 5) Anti-Frost (6) Power off.
Timer Mode ![]()
If its the first time using the radiator or if the radiator has been powered off for a long period (more than 2 hours) you will need to set the current the time and day again. (Unless connected to WiFi)
Note: If programming the via WiFi, the current time and day don’t need to be set.
Setting the Time and Day
- Tap
until the timer icon appears. Then hold
for 5 seconds. The hour digits will flicker. (As shown Below) - Press + or – to set the hour. Press
to continue to setting the minute. (After 30 seconds without input it automaticity proceeds to the minute. ) 
Press + and – to set the day. ( 1 = Monday, 2 = Tuesday etc) PresS
and the heater will switch to P Settings. Where the timer can be set.- Press + and – to set the minute. Then
continue setting the day of the week. (After 30 seconds without input it automaticity proceeds)
Setting the Timer
Follow the steps for setting the time until you see the below display. 
The + and – are used to set the either the comfort mode or reduced.
The timer is programmed by setting each hour of the week to either comfort or reduced mode.
- The above image is where you start to programme the timer.
- To get to this stage, you need to go through the steps for setting the time and day.
- The time begins at P1 00 for Monday Midnight.
- Press either the + (comfort) or the – (ECO) to assign a mode for that hour.
- After pressing + or – the timer moves onto the next hour.
- Do this until you arrive back at 00 (Midnight.)
- After setting each hour press
To move from P1 P2 for Tuesday. - Press either the + (comfort) or the – (ECO) to assign a mode to each hour of the day.
- After setting each hour press
To move from P1 P2 for Tuesday. - Repeat these steps for P3 – P7.
Additional Functions
- Sensor Mode

This mode will activate the radiator’s presence detection system. If the room is unoccupied, the radiator will automatically shift to Anti Frost mode. The time needed to activate the presence detection can be set to “0”, “15”, “30”, “45” and “60” minutes. - Child Lock

The CHILD LOCK function can be used to prevent unauthorised control. To activate the screen lock, press + and – buttons simultaneously for 5 seconds until you see the lock icon. To release the lock function, press + and – at the same time until the lock disappears.
Internal Set up and functions
In standby mode, press + for 5 seconds to enter internal setup page. Press
Press + or – to modify. Press
to confirm.
- F0 = Temperature Calibration
Press + and – change the detected room temperature. Adjustment range Range is +/-5 C - F1 = Sensor Function
Select the time needed to before sensor mode turns the heater to Eco mode:
Press + or – to pick “0”, “15”, “30”, “45”, “60” minutes. - F2 = Open Window Detection (OWD)
OWD will turn the heater to anti frost mode is a door or window is open. The time the heater is off for can be set by pressing the + button. 0, 60 or 90 minutes are available.
OWD is activated when the room temperature suddenly drops 2C in five minutes, it switches the radiator Anti Frost mode. - F3 = Low Surface Temperature
Press + or – to select the surface temperature option. There are 6 options: “H0”, “H1”, “H2”, “H3”, “H4”, “H5”. - F4 = WiFi function.
Press + or – to turn the heater’s WiFi on or off.
Connecting to WiFi
Before connecting ensure that the heater’s WiFi is turned on.
- Press to put the radiator into standby mode. Then hold down
for 5 seconds to enter the settings menu. - Press
to skip through the settings until F4 appears on the screen, followed by the current setting. Default is “oF” – disabled. - Use the + and – keys to adjust. Select “oN” to enable and “oF” to disable.
- Press
to confirm and move onto the next setting.
- Download the App.
The radiator is designed to work with the Smart Life app.Scan the code below to go to the app. Press install and follow the app’s instructions to create an account.
- Connect to App.
Ensure the Radiator’s WiFi is enabled. This is indicated by the flashing
icon.
To active pairing mode. Put the heater into stand by. Then hold until the display changes to the connection screen. The connection screen will start a 180 second countdown, giving you 3 minutes to connect.- On the home page of the app, press + or add device.
- Select auto scan from the top navigation.

- The app will demonstrate that it has found the radiator. Press Next
- 6. The app will ask you to enter and confirm your WiFi password.
- The app will demonstrate that it has found the radiator. Press Next
- 6. The app will ask you to enter and confirm your WiFi password.

- 7. The radiator will begin connecting. When it is successfully added, you can change the name of the radiator or press “Done” to return to the home screen.
Troubleshooting
If the radiator does not connect on the first attempt :
- Make sure both the radiator and your smart device are in range of your WiFi router.
- Make sure you complete the connection process in 3 minutes. If the 180 seconds has reached the end of its count, begin the process again.
- Ensure your router has a strong internet connection.
- Ensure WiFi is enabled on the radiator.
- Ensure WiFi and Bluetooth are enabled on your smart device.
- Make sure the app has registered successfully.
- Make sure your smart device is connected to the same WiFi network as that to which you are attempting to connect your radiator.
- Ensure you are connected to a 2.4ghz WiFi band. See instructions within the app if you are currently connected to a 5ghz band.
- Check any local restrictions on your WiFi. WiFi networks in public places such as hotels and airports may require extra identification steps.
Using the App
Home Overview
You can use the Smart Life app to control multiple devices. All devices are displayed on the home screen with their status.
Possible statuses:
Online: Heater will respond to app commands.
Offline: The heater cannot be controlled by the app. Either the heater is switched off or not communicating with the WiFi.
Control Interface
From the home screen, press the Radiator to open the control interface.
From the control interface you can turn the radiator off /on, adjust set temperatures, choose the heating mode, programme the timer and adjust the device’s settings. 
- Device information
- Device name
- Power button
- Selected mode(comfort,eco,anti-freeze, program or sensor mode available
- Current selected temperature
- Current ambient temperature
- Temperature selector (button or scroll)
- Timer mode
- Device settings
Choose Mode
Tap the mode icon on the control interface (No 4 on the previous page) to choose mode. The five options correspond to the five modes on the control panel. 
Setting the Timer
Tap the program icon
on the control interface to program the timer.
A program consists of 24 hourly intervals for each day, which you can set to Comfort or Eco mode.
Tap the interval to choose a mode.
Comfort (yellow bar). Eco (green bar).
Once an interval has been set, press directly below the new interval. Then drag you finger to when the interval should end. This will speed up the process of programming the week.
Device Settings
Tap the
icon to view and adjust the radiator’s settings. These correspond to the settings available through the control panel.
Tap the icon
for settings that relate to the radiator’s listing on the app, including its name, any automations it is included in, and the quality of its network connection. Note – the limit function that appears in the settings menu is not available with this model.
If Power Is Cut To The Radiator
In case of short term power failure, the last setting will be saved. The Radiator will return to the settings before power failure when the power restored.
Reset to Factory Settings
To reset the Radiator, Press the button for for 10 seconds. This will restore factory settings.
High and Low Temperature Alarm
| Error Code | Problem |
| Err 1 | Ambient temperature sensor is disconnected or the ambient temperature is too low |
| Err2 | Ambient temperature sensor is short-circuited or the ambient temperature is too high |
Maintenance
- Disconnect the Radiator and allow to cool of before attempting any maintenance.
- Clean with a soft damp cloth.
- Clean your appliance at least once a year with a vacuum cleaner to remove any dust deposits.
- Never immerse the device in water or any other liquid.
The coating ensures long term protection. To clean it, use only a neutral detergent (cleaner or non-abrasive solvent). The thermostat housing is made of plastic, do not use solvents for maintenance. Any repair must be carried out by the manufacturer, its representatives or by the after-sales service.
| Item | Unit |
| Type of heat input, for electric storage local space heaters only | |
| Manual heat charge control, with integrated thermostat | N/A |
| Manual heat charge control with room and/or outdoor temperature feedback | N/A |
| Electronic heat charge control with room and/or outdoor temperature feedback | N/A |
| Fan assisted heat output | N/A |
| Type of heat output/room temperature control (select one) | |
| single stage heat output and no room temperature control | [no] |
| Two or more manual stages, no room temperature control | [no] |
| with mechanic thermostat room temperature control | [no] |
| with electronic room temperature control | [no] |
| electronic room temperature control plus day timer | [no] |
| electronic room temperature control plus week timer | [yes] |
| Other control options (multiple selections possible) | |
| room temperature control, with presence detection | [yes] |
| room temperature control, with open window detection | [yes] |
| with distance control option | [yes] |
| with adaptive start control | [no] |
| with working time limitation | [no] |
| with black bulb sensor | [no] |
This symbol indicates that this product contributes to the protection of the environment by applying the WEEE Directive 2012/19/
EU. Disposal of used electrical and electronic equipment with household waste or in the environment is prohibited. They are asked to take them to one of the selective collection centres planned
by the local authority to ensure their recycling. You also have the option of depositing your product at your distributor if you purchase a product of the same type. By respecting this approach, you contribute to the preservation of the environment.

Safety Instructions


Press + and – to set the day. ( 1 = Monday, 2 = Tuesday etc) PresS

















