ecostrad 12501079 Electric Radiator
Warning
This symbol indicates a hazard with an average risk level which, if not avoided, could result in serious injury or death.
Warning of electrical voltage
This symbol indicates danger to the life and health of persons due to electrical voltage.
Hot surface
This symbol located on the device indicates that its surfaces are hot during and immediately after operation. Hot surfaces should not be touched: danger of burns.
Observe instructions in manual
This symbol located on the device indicates that instructions in the operating manual must be observed when installing and using the device.
Do not spray
This symbol located on the device indicates that it is prohibited to spray the device.
Do not cover
This symbol located on the device indicates that it is prohibited to place objects (such as towels, clothes etc.) above or directly in front of the device. To avoid overheating and fire hazards, the device must not be covered
About the Manual
This manual describes the Ecostrad Ecowärme Electric Radiator and details how to install and use the product. It is important to thoroughly review this manual before using the product. For additional information regarding any aspect of the Ecostrad Ecowärme Electric Radiator, contact:
- Ecostrad Ltd.
- Firecrest House
- Lingfield Business Park
- Market Flat Lane
- Knaresborough
- North Yorkshire
- HG5 9JA
- Tel: 0330 880 7005
- Email: [email protected] https://ecostrad.com/
Warnings & Precautions
Read this manual carefully before using or installing the radiator. Always store the manual in the immediate vicinity of the radiator or its site of use.
Read all safety warnings and all instructions.
Failure to follow the warnings and instructions may result in electric shock, fire, serious injury, or all of the above. Save all warnings and instructions for future reference.
Warning
This appliance can be used by children aged from 8 years and above and persons with reduced physical, sensory or mental capabilities or lack of experience and knowledge if they have been given supervision or instruction concerning the use of the appliance in a safe way and understand the hazards involved. Children shall not play with the appliance. Cleaning and user maintenance shall not be made by children without supervision.
Warning
Children of less than 3 years should be kept away unless continuously supervised. Children aged from 3 years and less than 8 years shall only switch on/off the appliance provided that it has been placed or installed in its intended normal operating position and they have been given supervision or instruction concerning use of the appliance in a safe way and understand the hazards involved. Children aged from 3 years and less than 8 years shall not plug in, regulate, or clean the appliance, or perform maintenance.
Warning
In order to avoid a hazard due to inadvertent re-setting of the thermal cut-out, this appliance must not be supplied through an external switching device, such as a timer, or connected to a circuit that is regularly switched on and off by the utility.
Warning
Do not cover the radiator, nor place flammable objects on the radiator.
Warning
Some parts of this product can become very hot and cause burns. Do not touch the surface when in operation. Do not install close to curtains or other combustible materials. Particular attention should be given where children and vulnerable adults are present.
Warning
Do not use the device in enclosed spaces if persons are present who cannot leave the room independently and are not under constant supervision.
- Keep the power cable away from all hot parts of the appliance.
- Do not use the device if you detect damage to the mains plug or power cable. If the supply cord is damaged, it must be replaced by the manufacturer, its service agent or similarly qualified persons to avoid a hazard.
- All repairs and servicing must be carried out by a qualified person. To avoid danger any repairs must be completed by the manufacturer, a service agent of the manufacturer or a similarly qualified person.
- Make sure that the voltage indicated on the rating plate for this appliance corresponds to your power outlet.
- The device must not be located immediately in front of or below an electrical socket outlet.
- Do not use this device in the immediate surroundings of a bath, shower, swimming pool or any other water container. Risk of electric shock.
- Do not use the device with wet or damp hands.
- No part of the appliance should be submersed in any type of liquid.
- Cleaning should be carried out using a damp cloth only. No abrasive chemicals or materials should be used. For more information see section 6.
- Never insert fingers or other objects or body parts into the device. Risk of electric shock or injury.
- Do not use any accessories with this device. Use of accessories may cause damage or danger.
- Keep the device away from curtains and other flammable materials.
- The device is for indoor use only.
- The device must only be installed in an upright and fixed position in accordance with national installation rules.
- Do not use the radiator with a programmer, timer, separate remote control system or any other device that switches the heater on automatically, since a fire risk exists if the heater is covered or positioned incorrectly.
- Make sure the minimum safety distances from walls and objects stated in Table 2 on page 7 are observed at all times. This is very important to
revent damage to walls, furniture and soft furnishings and to prevent the product overheating and causing a fire hazard. - Do not use the device in rooms where contact with flammable or potentially explosive materials like dust, gas or vapour cannot be avoided.
- Do not use in rooms or environments that have a corrosive atmosphere. Avoid humid surroundings.
- Do not operate the device when wet. If the device gets wet during cleaning, allow it to dry out before using.
- Do not expose the device to water jets.
- Do not transport the device during operation
- Do not sit on the device.
- Do not overload the socket used to power the device.
- Before carrying out maintenance, care or repair work on the device, ensure the device is unplugged. Do not use the cable to tug the plug from the socket. Hold the plug by its housing and pull.
- Switch the device off and disconnect the power cable from the mains socket when the device is not in use.
- Allow the device to cool down before touching or transporting the device, or attempting maintenance work.
- The device must be placed where the switches and controllers cannot be touched by a person in a bathtub or shower
Technical Information
| Heating element | X-bar element and ceramic core |
| Voltage | 230V AC / 50 Hz |
| Wattage | 500W, 1000W, 1200W, 1500W, 2000W |
| Temperature setting Range Resolution | 5-30 °C 0.5 °C |
| IP Rating | IP20 |
| Appliance class | Class I |
| Power cable length | 1.5m |
Installation
The Ecostrad Ecowärme Electric Radiator should be mounted on a load-bearing wall using the fixings provided. Always observe the minimum safety clearances stated in Table 2.
| Between the sides of the radiator and any masonry | 5cm |
| Between the sides of the radiator and flammable materials | 10cm |
| From the radiator to the floor | 8cm |
| From the top of the radiator to any covering above If flammable (i.e wooden window sill) If non-flammable (i.e brick alcove) | 15cm 10cm |

Wall mounting instructions
- Read all safety instructions and warnings stated in the preceding section of this manual. Failing to follow these instructions can cause damage to life or property.
- Remove all packaging, making sure no packaging residue remains on the radiator.
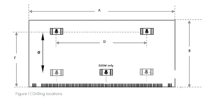
- Drill four holes in the wall as per Table 3, Figure 1 and the drilling template provided with radiator.
| Wattage | Width A (mm) | Height B (mm) | Deep C (mm) | D (mm) | F (mm) | G (mm) |
| 500 | 380 | 630 | 100 | 186 | 521 | 445 |
| 1000 | 680 | 630 | 100 | 336 | 506 | 430 |
| 1500 | 980 | 630 | 100 | 500 | 506 | 430 |
| 2000 | 980 | 630 | 100 | 500 | 506 | 430 |
| 1000 (vertical) | 380 | 1240 | 100 | 186 | 521 | 1050 |
| 1200 (vertical) | 380 | 1240 | 100 | 186 | 521 | 1050 |
Insert the wall plugs and screws into the wall.
Hang the radiator on the screws.
Feet fixing instructions

The Ecostrad Ecowärme Electric Radiator can become free-standing when the optional feet are purchased.These feet come in white or anthracite, to match the radiator. All models produced after 2019 are compatible with the feet. You can check if your radiator is compatible by confirming the presence of 3 holes, used for fixing the feet, on each side of the back of the heater (see Figure 2).
- Slot the feet into the ribs and line up the holes, as in Figure 3.

- Fix in place with 6 screws, as in Figure 4.

Control Panel
Display
The Ecowärme control panel features a backlit display, as shown in Figure 5. The backlight engages when any key is pressed, and will time out when not in use. The default time-out length is 90 seconds, but this can be adjusted (see section 5-5-3).
Below the display, the control panel has six tactile buttons. These buttons are used to navigate the display. The lower two buttons are for standby and changing mode, and each of the upper four buttons corresponds to the icon directly above it on the control screen. See Figure 6.
Setting the time
When you first turn on your Ecostrad Ecowärme Electric Radiator, the display will prompt you to set the time and date. The screen shows 00:00 and the numbers 1-7 flashing, with an arrow pointing to If you wish to skip this step and go straight to the heating modes, press the Standby Button and follow on from section 5-3. Otherwise, to set the time:
- Use and to choose the day of the week, represented by the flashing numbers 1-7. Here, 1 is Monday, 2 is Tuesday, and so on. The arrow will move to point at the day you choose. When selected, press to confirm.

- the first 00 will now flash; these represent the hours. Use and to set the hour and press to confirm.

- The second 00 will now flash; these represent the minutes. Use and to set the minutes and press to confirm.
- The numbers 1-7 will now flash again. You can repeat the above process to change anything if you made a mistake. When you are happy, press the Standby Button to exit the menu.
Standby mode
In standby mode the current room temperature and the standby icon are displayed. In standby, the radiator does not heat. You can use the button to switch between standby and the heating modes.
Heating modes
Press the button to switch the radiator on. Press the MODE button to switch between the modes. The icon on the display will change accordingly, browsing through: Comfort , Eco , Frost , and Auto mode . In Comfort, Eco and Frost modes the screen will display the set temperature. You can use the icon to view the current room temperature, indicated by the symbol. There is also the option for the screen to display the room temperature when in auto mode, instead of the set temperature. This can be changed in section 5-5-4. Nomatter whether room or set temperature is displayed in auto mode, the icon can still be used to view the alternate reading.When heating, the symbol will appear.
Comfort mode
When the icon displays on the screen, you are in Comfort mode. In this mode, the radiator controls the room temperature and heats to a constant set temperature. The thermostat measures the ambient temperature and instructs the radiator to heat or stop heating according to the temperature set. The temperature displayed is the set temperature. Set temperature range is 5-30 °C and can be adjusted using and .
The temperature set in Comfort mode also applies to Comfort intervals when they occur in Auto mode.
Eco mode
When the icon displays on the screen, you are in Eco mode. Just like in Comfort, in Eco mode the radiator heats to a constant set room temperature. However, Eco mode is designed to be set to a lower temperature, providing a low-heat, energy-saving alternative for when you are sleeping or out.By default, the Eco set temperature is always 3.5 °C beneath the Comfort set temperature. So, when you first turn on your radiator, you
will not see and in Eco mode. The Eco set temperature will change according to the set temperature you choose for Comfort mode. You can adjust the difference between the Eco set temperature and the Comfort set temperature in section 5-5-1. This difference can be set between 0 and 10 °C. Alternatively, you can also set up Eco mode to be completely modifiable, just like Comfort mode. See section 5-5-1 for full instructions on configuring Eco mode. If Eco mode is set up to bemodifiable, you can adjust the temperature using and . The temperature set in Eco mode also applies to Eco intervals when they occur in Auto mode
Frost mode
When the icon displays on the screen, you are in Frost mode. Frost mode sets the radiator to come on only when temperatures drop low, keeping rooms that are left empty for long periods of time warm enough to prevent pipes from freezing. The set temperature range of Frost mode is 5-15 °C. You can adjust the set temperature using and .The temperature set in Frost mode also applies to Frost intervals when they occur in Auto mode.
Auto mode
When the icon and program bars appear on the screen, you are in Auto mode. In this mode, the element follows a user-customizable program. The program consists of 24 hourly slots for each day of the week which can be set to Comfort , Eco or Frost mode. When a Comfort Eco or Frost interval is running in program mode, the display will show , or accordingly, and the radiator will heat the room to the temperature set on the corresponding mode.If you skipped setting the time in section 5-2, the radiator will follow the program by assuming it is midnight on Monday. To set the time, put the radiator in standby mode, press the MODE button, and follow the instructions in section 5-2. If you have not set a program, the radiator will follow the default program: Comfort mode from 8:00 am to 10:00 pm every day.
Setting the program
To enter the menu for changing the program, press MODE to put the radiator in Auto mode, then press the button labelled . Alternatively, from standby mode, press the button labelled . In this menu you will see 00:00 and the numbers 1-7 with an arrow pointing to 1; this indicates that you are setting the mode for Monday at midnight.
- Choose the desired mode for this hour by clicking on the button beneath the corresponding mode icon ( , or ). The screen will automatically move to the next hour, 01:00.

As you choose modes for each hour, blocks will appear above the relevant hours on the timeline. A tall block appears for Comfort mode, a small block for Eco mode and no block for Frost mode. This allows you to easily check the program you are setting.
- Choose a mode for each hour. When you pass beyond hour 23, the menu will return to 00:00 on the same day, allowing you to repeat the process and change any mistakes you may have made.
- Once you are happy with your program, press OK to move to the next day. Thearrow on the right side of the screen will move to point at 2, indicating you are now setting the program for Tuesday.
- Continue to set the program for the rest of the week.

To save time, you can copy the program of the current day onto the next day by pressing and holding the OK button for 3 seconds. The arrow will move to point to the next number, and the blocks will match those of the previous day. - When you have set every day of the week, press the Standby Button to exit the menu.
Timer mode
In this mode, the radiator will heat to a set temperature for a certain amount of time. When the timer ends, the radiator will return to Auto mode.
To enter Timer mode:
- Press MODE to move to Auto mode

- Then, press the button labelled . A temperature will appear on the screen, alongside the timer icon .
- Set the desired temperature with and . The available temperature range is 5 to 30 °C.
- Press to confirm and move to setting the time.
- Set the desired heating time with and . You can set the timer anywhere between 3a0 minutes and 72 hours.
- Press to confirm. The timer will begin immediately.
Absence mode
In Absence mode, the radiator will stay in Frost mode, protecting your home from cold snaps, for the duration of time that you are away. When Absence mode ends, the radiator will return to Auto mode, meaning your home will be perfectly warm for when you return.
To enter Absence mode:
- Press MODE until the radiator is in Auto mode.
- Then, press the button indicated by the Absence mode icon .
- A number and the Absence icon will appear on the screen. Use and to adjust the number of days that Absence mode should run. You can set this anywhere between 1 and 365 days.
- Confirm by pressing . Absence mode will begin immediately.
- To cancel this mode, press again, and the display will return to Auto mode.
Keypad lock
Press and hold the two upper central buttons for 5 seconds to lock the display. The display will show and all keys will be locked. To unlock, repeat this process, and will disappear.
Advanced settings
The Ecowärme advanced settings menu allows you to configure your
device to even better suit your needs. To enter the advanced settings menu, first put the radiator in standby mode by pressing the Standby Button. The screen should show the temperature and the icon. Now press and hold the Standby Button for 10 seconds. The numbers 1-7 will appear on the right side of the screen.
Eco mode settings
The first option of the advanced settings, indicated by an arrow pointing to 1, is the Eco mode setting. Here, you can adjust the amount by which the Eco set temperature is below the Comfort temperature.
Use and to set the difference between 0 and 10 °C. Press OK to confirm and move to the next setting.If you do not want Eco mode’s temperature to be a set amount below Comfort mode’s temperature, press until the screen shows —-. Now, the Eco temperature can be adjusted in the main mode screen, just like Comfort mode.
Temperature offset
The second option, indicated by the arrow pointing to 2, is the temperature offset setting. Temperature offset allows you to adjust for any discrepancy between the average room temperature and the temperature sensed by the thermostat. For instance, if the temperature in the room is 18 °C, but the radiator is sensing and displaying 16 °C, a value of +2°C will offset the difference.
Use and to adjust the temperature offset. It can be set between -5 and +5 °C, in steps of 0.1 °C.
Backlight timeout
The third option, indicated by the arrow pointing to 3, is the backlight time-out setting. The display screen of this device features an adjustable backlight, allowing you to set the amount of time it takes for the screen to dim. This time-out can be set between 0 and 225 seconds, in steps of 15 seconds. By default, the backlight time-out is set to 90 seconds. Use and to adjust the backlight time-out. Press OK to confirm and move to the next setting.
Auto mode temperature display
The fourth option, indicated by the arrow pointing to 4, is the Auto mode temperature display setting. This setting allows you to choose whether the room temperature or the set temperature is displayed when in Auto mode. Whichever option is selected, you can use the icon to view the alternate temperature. Use and to choose between 0 and 1. Here, 0 = display of room temperature (indicated by ) and 1 = display of set temperature.
Open window detection
The fifth option, indicated by the arrow pointing to 5, is the Open window detection setting. Open window detection is a power-saving feature which will put the radiator in Frost mode if there is a rapid drop in room temperature, suggesting there is an open window. When open window detection is triggered, the screen will show a flashing icon alongside the Frost mode set temperature. To turn open window detection on or off, use and to choose between 0 and 1. Here, 0 = the feature is deactivated, and 1 = the feature is activated.
Adaptive start
The sixth option, indicated by the arrow pointing to 6, is for the adaptive start setting. Adaptive start is a feature that will-emotively turn on the radiator to start heating the room before the set time in the program, to ensure it has already reached the set temperature by the time the mode block begins.When adaptive start is working, a flashing icon will appear.To turn adaptive start on or off, use and to choose between 0 and 1. Here, 0 = the feature is deactivated, and 1 = the feature is activated.A temperature will appear. This represents the amount below the set temperature that the room temperature must be for adaptive start to trigger. If the set temperature is reached too early, before the set time, then select a lower value. If the set temperature is reached too late, after the set time, select a higher value. Use and to adjust. You can set this value between 1 and 6 °C.Press to confirm and move to the final setting.
Product number
The last menu in advanced setting shows the product number on the screen. To exit the advanced settings, press .
Cleaning & Maintenance
The Ecostrad Ecowärme Electric Radiator uses an unenclosed aluminium convection element to deliver fast heat distribution. This can reach higher internal temperatures when compared to other radiator products. However, the outer surface temperature is not affected by this and the element cannot be touched. The higher internal heat level can however cause dust particles in the air to burn when they pass through the unit. We therefore recommend in particularly dusty environments cleaning the radiator on a regular basis and where possible minimising the production of dust or smoke to help prevent potential wall blackening.
When cleaning, always:
- Ensure the radiator is disconnected from the power before attempting any cleaning or maintenance. Failure to do so may incur risk of electric shock.
- Clean the radiator with a dampened cloth. Do not use abrasive materials or chemicals which may damage the radiator.
- Allow the radiator to fully dry before reconnecting to the power.
Warranty
The Ecostrad Ecowärme Electric Radiator carries a 5-year guarantee on the body, a 3-year guarantee on the paintwork, and a 2-year guarantee on electrical components. Within the stated period, starting from the date the customer receives their unit, Ecostrad guarantee to repair or replace the unit where a fault is due to defects in materials or manufacturing. The warranty does not cover any defect arising from damage, negligence, usage outside the product’s intended purpose or fair wear and tear. The warranty is only valid when the unit has been used at the specified supply voltage, and in accordance with all conditions specified in this manual. The warranty will be void if the heater has been covered, tampered with or opened in any way, or if the ratings label has been removed.
The warranty does not cover failures and faults due to force majeure, accidental damage, mishandling, external impact, chemical agents or atmospheric phenomena, incorrect use of the device, the purchaser’s faulty electrical installations, transporting the device or problems caused by the device being handled by persons not authorised by Ecostrad. If the unit has been hardwired, an invoice may be required to confirm the work was carried out by a qualified professional. Ecostrad cannot accept responsibility for damage, loss or injury caused by incorrect installation, maintenance, cleaning or covering the device.
The warranty is a contract with the original purchaser and does not transfer if the unit is re-sold, gifted or inherited. Proof of purchase, including order number and order confirmation or invoice, will be required if a claim is made. The warranty covers only the model of heater shown on the purchase invoice. The warranty covers the repair or replacement of the defective product only and Ecostrad shall have no liability for installation costs or consequential losses however incurred. The unit is sold as a DIY product; whilst hardwiring is permitted within the terms of the warranty – provided evidence can be produced that the work was performed by a qualified installer – no compensations will be offered for the installer’s costs in the event of a claim. Claims must be made with the establishment where the device was purchased. This warranty does not affect the customer’s consumer rights.
ErP Ecodesign Information
| Model | 500W | 1000W | 1200W | 1500W | 2000W |
| Heat output | |||||
| Nominal heat output (Pnom /kW) | 0.5 | 1.0 | 1.2 | 1.5 | 2.0 |
| Minimum heat output (indicative) (Pmin /kW) | 0.5 | 1.0 | 1.2 | 1.5 | 2.0 |
| Maximum continuous heat output (Pmax.c /kW) | 0.5 | 1.0 | 1.2 | 1.5 | 2.0 |
| Auxiliary electricity consumption | |||||
| At nominal heat output (elmax /kW) | 0.5 | 1.0 | 1.2 | 1.5 | 2.0 |
| At minimal heat output (elmin /kW) | 2.0 | 2.0 | 2.0 | 2.0 | 2.0 |
| In standby mode (elsb /kW) | 0.47 | 0.47 | 0.47 | 0.47 | 0.47 |
| Item | Unit |
| Type of heat input, for electric storage local space heaters only (select one) | |
| manual heat charge control, with integrated thermostat | [no] |
| manual heat charge control with room and/or outdoor temperature feedback | [no] |
| electronic heat charge control with room and/or outdoor temperature feedback | [no] |
| fan assisted heat output | [no] |
| Item | Unit |
| Type of heat output/room temperature control (select one) | |
| single stage heat output and no room temperature control | [no] |
| Two or more manual stages, no room temperature control | [no] |
| with mechanic thermostat room temperature control | [no] |
| with electronic room temperature control | [no] |
| electronic room temperature control plus day timer | [no] |
| electronic room temperature control plus week timer | [yes] |
| Other control options (multiple selections possible) | |
| room temperature control, with presence detection | [no] |
| room temperature control, with open window detection | [yes] |
| with distance control option | [no] |
| with adaptive start control | [yes] |
| with working time limitation | [no] |
| with black bulb sensor | [no] |
Disposal
In accordance with WEEE Directive 2012/19/EU, the icon with the crossed-out waste bin on electrical or electronic equipment stipulates that this equipment must not be disposed of with household waste at the end of its life. You will find collection points for free return of waste electrical and electronic equipment in your vicinity. The addresses can be obtained from your local authority. The separate collection of waste electrical and electronic equipment enables the re-use, recycling and other forms of recovery of waste equipment, and prevents any negative effects for the environment or human health caused by the disposal of hazardous substances potentially contained in the equipment.
ecostrad 12501079 Electric Radiator




















