KAWAI HML-2 Designer Stand Instruction Manual
HML-2 Assembly Instructions
- Do not use this stand for any purpose other than its intended use as a piano stand.
- At the final stage of assembly, ensure that all screws are firmly tightened.
- Do not drag the product along the floor. Take care not to drop the product.
- Do not stand on the product or exert excessive force.
- If any screws are found to be loose, tighten them immediately.
- Do not lean on the piano.
Included parts
Before attempting to assemble the digital piano stand, please ensure that all parts below are included. A Phillips-head screwdriver (not included) will also be required in order to assemble the stand.
- Side Board

- Back Board

- Screw (6x60mm) x 4

- Cap x 4

- Screw (5x25mm) x 4

- Hole patch x 8

Adjusting the fall prevention glides
If the instrument will be placed away from a supporting wall, the tip-prevention glides should be used to improve the stand’s stability. Remove the two screws, then reposition and reattach the glides located on the underside of the left and right Side
Boards A B. The extended glides should protrude outward, improving the stand’s stability.

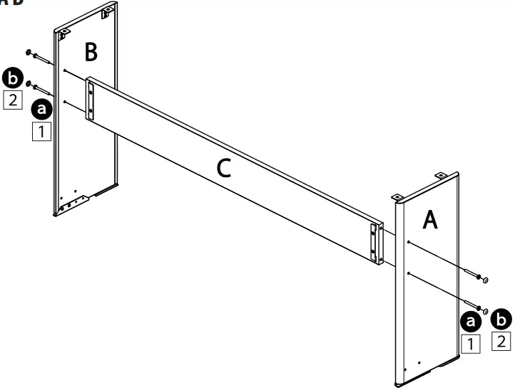
Assembling the side boards A B and back board C
2- 1
Attach the Back Board C to the left and right Side Boards A B
using two screws (a) on either side.
* Ensure that all four screws are firmly tightened.
2- 2
Place Caps (b) over the four screws.

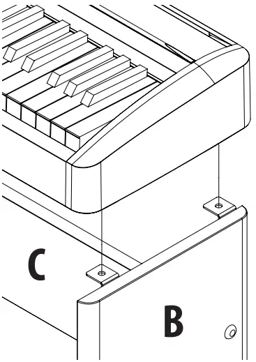
Mounting the digital piano onto the stand
Carefully lift the digital piano onto the assembled stand.

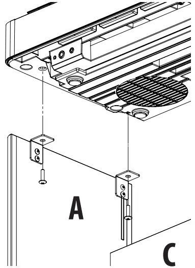
Attaching the digital piano to the stand
Fasten the underside of the digital piano to the assembled stand using two screws (c) on either side.
* Ensure that all four screws are firmly tightened.

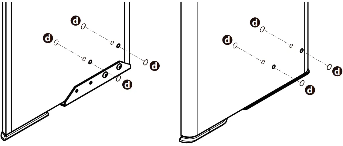
Affix hole patches (d) for hiding the holes in the side boards A B
Affix hole patches (d) for hiding holes when not using the optional pedal unit (F-351).





















