VUE
USER’S MANUAL
Model No. PFB14820-INT.0
Serial No.
Write the serial number in the space above for reference.

CUSTOMER SERVICE
UNITED KINGDOM
Call: 0330 123 1045
From Ireland: 053 92 36102
Website: iconsupport.eu
E-mail: [email protected]
Write:
ICON Health & Fitness, Ltd.
Unit 4, Westgate Court
Silkwood Park
OSSETT
WF5 9TT
UNITED KINGDOM
AUSTRALIA
Call: 1800 993 770
E-mail: [email protected]
Write:
ICON Health & Fitness, Inc.
PO Box 635
WINSTON HILLS NSW 2153
AUSTRALIA
CAUTION
Read all precautions and instructions in this manual before using this equipment. Keep this manual for future reference.
WARNING DECAL PLACEMENT
This drawing shows the location(s) of the warning decal(s).
If a decal is missing or illegible, see the front cover of this manual and request a free replacement decal. Apply the decal in the location shown. Note: The decal(s) may not be shown at actual size.
PROFORM and IFIT are registered trademarks of ICON Health & Fitness, Inc. The Bluetooth® word mark and logos are registered trademarks of Bluetooth SIG, Inc. and are used under license. Google Maps is a trademark of Google LLC. Wi-Fi is a registered trademark of Wi-Fi Alliance. WPA and WPA2 are trademarks of Wi-Fi Alliance.
IMPORTANT PRECAUTIONS
WARNING: To reduce the risk of serious injury, read all important precautions and instructions in this manual and all warnings on your fitness mirror before using your fitness mirror. ICON assumes no responsibility for personal injury or property damage sustained by or through the use of this product.
- It is the responsibility of the owner to ensure that all users of the fitness mirror are adequately informed of all precautions.
- Before beginning any exercise program, consult your physician. This is especially important for persons over age 35 or persons with pre-existing health problems.
- The fitness mirror is not intended for use by persons with reduced physical, sensory, or mental capabilities or lack of experience and knowledge unless they are given supervision or instruction about the use of the fitness mirror by someone responsible for their safety.
- Use the fitness mirror only as described in this manual.
- The fitness mirror is intended for home use only. Do not use the fitness mirror in a commercial, rental, or institutional setting.
- Keep the fitness mirror indoors, away from moisture and dust. Do not put the fitness mirror in a garage or covered patio, or near water.
- Due to its weight and size, moving the fitness mirror requires two or three persons.
- Place the fitness mirror on a level surface, with a mat beneath it to protect the floor or carpet. Make sure that there is enough clearance around the fitness mirror for the exercises that you will do.
- Make sure not to hit the mirror with hand weights or any other objects. Note: Hand weights are not included.
- Do not climb on any part of the fitness mirror.
- Inspect and properly tighten the screws in the base regularly.
- Keep children under age 16 and pets away from the fitness mirror at all times.
- Always plug the power adapter into the fitness mirror before you plug it into an outlet.
- Wear appropriate clothes while exercising; do not wear loose clothes that could become caught in the fitness mirror. Always wear athletic shoes for foot protection.
- Set the barbell and the dumbbells on a level surface when adding or removing weight plates. Make sure to place the same amount of weight on both ends of the barbell or the dumbbells.
- Do not place more than 20 lbs. (9 kg) of weight plates on the barbell or on each dumbbell.
- Make sure that the knobs on the barbell and on each dumbbell are turned to the locked position before you use the barbell or the dumbbells.
- Do not place more than 25 lbs. (11 kg) of weight on each equipment hook. Do not place more than 10 lbs. (4.5 kg) of weight on each weight plate hook.
- Over-exercising may result in serious injury or death. If you feel faint, if you become short of breath, or if you experience pain while exercising, stop immediately and cool down.
BEFORE YOU BEGIN
Congratulations on selecting the revolutionary PROFORM ® VUE. The VUE is an innovative digital fitness mirror that offers a variety of immersive and interactive workouts and a variety of accessories designed to help you achieve your fitness goals in the comfort of your own home.
For your benefit, read this manual carefully before you use the fitness mirror. If you have questions after For your benefit, read this manual carefully before
you use the fitness mirror. If you have questions after reading this manual, please see the front cover of this manual. To help us assist you, note the product model number and serial number before contacting us. The model number and the location of the serial number decal are shown on the front cover of this manual.
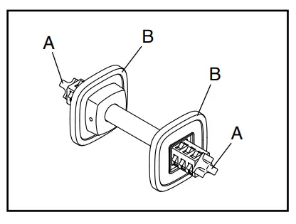
Before reading further, please familiarize yourself with the parts that are labeled in the drawing below.
ASSEMBLY
- Assembly requires two persons.
- Place all parts in a cleared area and remove the packing materials. Do not dispose of the packing materials until you complete all assembly steps.
- To avoid damaging parts, do not use power tools.
- In addition to the included tool(s), assembly requires the following tool(s):

one Phillips screwdriver
- To register your product and activate your warranty in the UK, go to ion support.eu. If you do not have internet access, call Customer Service (see the front cover of this manual). To register your product and activate your warranty in Australia, email or post the following information to the email address or postal address on the front cover of this manual.
To register your product and activate your warranty in Australia, email or post the following information to the email address or postal address on the front cover of this manual.
• your receipt (make sure to keep a copy)
• your name, address, and telephone number
• the model number, serial number, and name of your product (see the front cover of this manual)
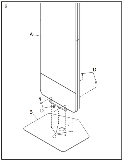
- Orient the Mirror Assembly (A) and the Base (B) as shown.
Next, set the Mirror Assembly (A) on the Base (B), and align the indicated holes (C) in the Base with the corresponding holes in the Mirror Assembly. Be careful to avoid scratching the Base. Have a second person hold the Mirror Assembly until you complete this step. Attach the Mirror Assembly (A) to the Base (B) with four Large Screws (D). Start the two Large Screws in the back of the Mirror Assembly first, and then start the two Large Screws in the front; then, tighten all four Large Screws. Have the second person pivot the Mirror Assembly from side to side slightly to give you access to the front holes.
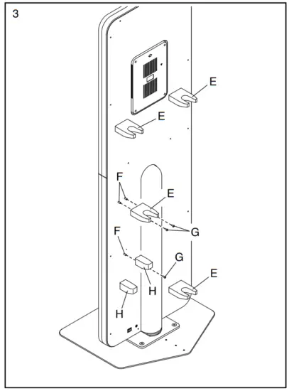
- Slide an Equipment Hook (E) onto a set of Mounts (F) on the back of the fitness mirror. Attach the Equipment Hook with two Small Screws (G).
Next, slide a Weight Plate Hook (H) onto a Mount (F) on the back of the fitness mirror. Attach the Weight Plate Hook with a Small Screw (G).
Attach the other three Equipment Hooks (E) and the other Weight Plate Hook (H) in the same way.
- IMPORTANT: Always plug the Power Adapter (I) into the Mirror Assembly (A) before you plug it into an outlet.
Plug the Power Adapter (I) into the receptacle (J) on the back of the Mirror Assembly (A).
To plug the Power Adapter (I) into an outlet, see HOW TO PLUG IN THE POWER ADAPTER on page 9.
- After the fitness mirror is assembled, inspect it to make sure that it is assembled correctly. Make sure that all parts are properly tightened before you use the fitness mirror. Extra parts may be included. Place a mat beneath the fitness mirror to protect the floor. Remove the protective film from the mirror.
To learn how to adjust and store the accessories, and how to use the tablet in the fitness mirror, see HOW TO USE THE FITNESS MIRROR on page 8.
HOW TO USE THE FITNESS MIRROR
HOW TO ADJUST AND STORE THE ACCESSORIES
To attach weight plates to a dumbbell, first, turn the knobs (A) on the ends of the dumbbell to the open position. Next, slide the desired number of weight plates (B) onto each 
side of the dumbbell; make sure to place the same number of weight plates on both sides of the dumbbell. Then, turn the knobs to the locked position; make sure that the knobs are securely in the locked position before you use the dumbbell.
Attach weight plates (B) to the other dumbbell and to the barbell in the same way.
Do not place more than eight weight plates (20 lbs. or 9 kg total) on each dumbbell or on the barbell.
Note: Four weight plates are included.
When the barbell, dumbbells, and weight plates are not in use, hang them on the equipment hooks and the weight plate storage hooks on the back of the fitness mirror as shown.
HOW TO ORDER OPTIONAL ACCESSORIES
In addition to the included fitness equipment, a variety of optional fitness equipment, such as dumbbells, kettlebells, yoga mats, and resistance bands, is available. To purchase optional fitness equipment, please see the front cover of this manual. Note: You can also use your own fitness equipment with the fitness mirror.
HOW TO PLUG IN THE POWER ADAPTER
IMPORTANT: If the fitness mirror has been exposed to cold temperatures, allow it to warm to room temperature before you plug in the power adapter (C). If you do not do this, you may damage the tablet displays or other electronic components.
IMPORTANT: Always plug the power adapter (A) into the fitness mirror before you plug it into an outlet.
Plug the power adapter (A) into the receptacle on the fitness mirror (see assembly step 4 on page 7). Then, plug the power adapter into an appropriate outlet that is properly installed in accordance with all local codes and ordinances.
FEATURES OF THE TABLET
The advanced tablet built into the fitness mirror offers an array of features designed to make your workouts more effective and enjoyable. The tablet features iFit technology. With iFit, you can access a large and varied workout library and track your workout results. Each iFit workout guides you through an immersive and effective exercise session.
While you exercise, the tablet will display continuous exercise feedback. You can even measure your heart rate using a compatible heart rate monitor.
To turn on and turn off the tablet, see this page. To learn how to use the touch screen, see page 10. To set up the tablet, see page 10.
HOW TO TURN ON THE TABLET
The included power adapter must be used to operate the fitness mirror. See HOW TO PLUG IN THE POWER ADAPTER at the left.
When the power adapter is plugged in, press the power switch (D) located on the rear of the fitness mirror to turn on the tablet. It will take a moment for the fitness mirror to be ready for use.
If the tablet is inactive and the screen is dark, simply touch the screen to activate the tablet.
HOW TO TURN OFF THE TABLET
If the tablet is not in use, after a few minutes the tablet will become inactive and the screen will turn dark.
When you are finished exercising, press the power switch and unplug the power adapter. IMPORTANT: If you do not do this, the electrical components on the fitness mirror may wear prematurely.
HOW TO USE THE TOUCH SCREEN
The tablet features a full-color touch screen. The following information will help you use the touch screen:
- The tablet functions similarly to other tablets. You can slide or flick your finger against the screen to move certain images on the screen, such as the displays in a workout.
- To type information into a text box, first, touch the text box to view the keyboard. To use numbers or other characters on the keyboard, touch? 123. To view more characters, touch ~[<. Touch? 123 again to return to the number keyboard. To return to the letter keyboard, touch ABC. To use a capital character, touch the shift button (upward-facing arrow symbol). To use multiple capital characters, touch the shift button again. To return to the lowercase keyboard, touch the shift button a third time. To clear the last character, touch the clear button (backward-facing arrow with an X symbol).
HOW TO SET UP THE TABLET
Before you use the fitness mirror for the first time, set up the tablet.
- Connect to your wireless network.
To use iFit workouts, the tablet must be connected to a wireless network. Follow the prompts on the screen to connect the tablet to your wireless network. - Customize settings.
Follow the prompts on the screen to set the desired settings, such as the desired unit of measurement and your time zone.
Note: To change these settings later, see HOW TO CHANGE TABLET SETTINGS on page 13. - Log into or create an iFit account.
Follow the prompts on the screen to log in to your iFit account or to create an iFit account. 4. Check for firmware updates.
First, touch the menu button (three horizontal lines symbol), touch Settings, touch Maintenance, and then touch Update. The tablet will check for firmware updates. For more information, see HOW TO CHANGE TABLET SETTINGS on page 13.
The tablet is now ready for you to begin working out.
The following pages explain how to use the iFit workouts that the tablet offers.
To work out with the tablet, see page 11. To change tablet settings, see page 13. To connect to a wireless network, see page 14. To connect your headphones with Bluetooth, see age 15.
Note: If there is a sheet of plastic on the screen, remove the plastic.
HOW TO WORK OUT WITH THE TABLET
To use the tablet, you must be logged in to your iFit account (see step 2 below) and the tablet must be connected to a wireless network (see HOW TO CONNECT TO A WIRELESS NETWORK on page 14).
- Touch the screen to turn on the tablet.
See HOW TO TURN ON THE TABLET on page 9. Note: It may take a few moments for the tablet to be ready for use. - Log in to your iFit account.
If you have not already done so, touch the menu button (three horizontal lines symbol) on the screen and then touch Log in to your iFit account. Follow the prompts on the screen to enter your username and password.
To switch users within your iFit account, touch the menu button, touch Settings, and then touch Manage Accounts. If more than one user is associated with the account, a list of users will appear.
Touch the name of the desired user. - Select an iFit workout from the home screen or the workout library.
Touch the buttons at the bottom of the screen to select either the home screen (Home button) or the workout library (Browse button).
To select an iFit workout from the home screen or the workout library, simply touch the desired workout button on the screen. Slide or flick the screen to scroll upward or downward if necessary.
The featured iFit workouts shown on the home screen will change periodically.
The workout library contains all of the iFit workouts available for your fitness mirror, organized into categories. To search the workout library, touch the search button (magnifying glass symbol), and select the desired filtering options.
When you select an iFit workout, the screen will show an overview of the workout that includes details such as the duration of the workout and the approximate number of calories you will burn during the workout. If desired, you can select options such as adding the workout to your schedule (see step 5) or marking the workout as a favorite (see step 6). - Start the iFit workout and follow your progress.
Touch Start Workout to start the iFit workout.
An iFit coach will guide you through an immersive video workout. Touch the screen in any open space to view and select music, trainer voice, and volume options for the workout.
The tablet offers several display modes. The display mode that you select will determine which workout information is shown.
Drag upward on the screen to enter the fullscreen display mode. Drag downward on the screen to view the workout information displayed.
Touch the various workout information displays to view more options. Touch the more button (+ symbol) to view statistics or charts. Touch the center of the screen to view even more display mode options.
To pause the workout, simply touch the screen. To continue the workout, simply touch the option to resume.
To end the workout, touch the screen to pause the workout, and then follow the prompts on the screen to end the workout and return to the home screen.
When the workout ends, a workout summary will appear on the screen. If desired, you can select options such as adding the workout to your schedule (see step 5) or adding the workout to your favorites list (see step 6). Then, touch Save Workout to return to the home screen. - Schedule an iFit workout on the calendar if desired.
If desired, you can schedule an iFit workout for a future date. Simply view the overview or workout summary of the desired iFit workout, touch Schedule, and then select the desired date on the calendar.
When the selected date arrives, the iFit workout that you scheduled will appear on the home screen. - Create a list of favorite iFit workouts if desired.
To mark an iFit workout as a favorite, simply view the overview or workout summary of the desired iFit workout and touch the favorites button (heart symbol).
To view a list of iFit workouts that you have marked as your favorites, select the workout library (Browse button), and then touch My Favorites. - Wear a compatible heart rate monitor and measure your heart rate if desired.
You can wear a compatible heart rate monitor to measure your heart rate. Note: The tablet is compatible with all Bluetooth ® Smart heart rate monitors.
See page 15 for information about ordering an optional compatible heart rate monitor.
The tablet will connect to your compatible heart rate monitor automatically. When your heartbeat is detected, your heart rate will be shown. - When you are finished exercising, turn off the tablet.
See HOW TO TURN OFF THE TABLET on page 9.
HOW TO CHANGE TABLET SETTINGS
IMPORTANT: Some of the settings and features described may not be enabled. Occasionally, a firmware update may cause your tablet to function slightly differently.
- Select the settings main menu.
First, turn on the tablet (see HOW TO TURN ON THE TABLET on page 9). Note: It may take a few moments for the tablet to be ready for use.
Next, select the home screen (Home button). When you turn on the tablet, the home screen will appear on the screen after the tablet boots up. If you are in a workout, touch the screen and follow the prompts to end the workout, and return to the home screen. If you are in the settings menus, touch the back button (arrow symbol) and then touch the close button (x symbol) to return to the home screen.
Then, touch the menu button (three horizontal lines symbol) on the screen, and then touch Settings. The settings menu will appear on the screen. - Navigate the settings menus and change settings as desired.
Slide or flick the screen to scroll upward or downward if necessary. To view a settings menu, simply touch the menu name. To exit a menu, touch the back button (arrow symbol). You may be able to view and change settings in the following settings menus:
Account
• My Profile
• In Workout
• Manage Accounts
Equipment
• Equipment Info
• Equipment Settings
• Maintenance
• Wi-Fi
About
• Legal - Customize workout settings.
To customize workout settings, touch In Workout, and then touch the desired settings. - Customize the unit of measurement and other settings.
To customize the unit of measurement, the time zone, or other settings, touch Equipment Info or Equipment Settings, and then touch the desired settings. - View machine information or tablet app information.
Touch Equipment Info, and then touch Machine Info or App Info to view information about your fitness mirror or about the tablet app. - Update the tablet firmware.
For the best results, regularly check for firmware updates. Touch Maintenance, and then touch Update to check for firmware updates using your wireless network. The update will begin automatically.
IMPORTANT:
To avoid damaging the fitness mirror, do not press the power switch or unplug the power adapter while the firmware is being updated.
The screen will show the progress of the update.
When the update is complete, the fitness mirror will turn off and then turn back on. If it does not, press the power switch, unplug the power adapter, and wait for several seconds. Then, plug the power adapter in again and press the power switch.
Note: It may take a few moments for the tablet to be ready for use.
Note: Occasionally, a firmware update may cause the tablet to function slightly differently. These updates are always designed to improve your exercise experience. - Exit the settings main menu.
If you are in a settings menu, touch the back button. Then, touch the close button (x symbol) to exit the settings main menu.
HOW TO CONNECT TO A WIRELESS NETWORK
To use iFit workouts, the tablet must be connected to a wireless network.
- Select the home screen.
First, turn on the tablet (see HOW TO TURN ON THE TABLET on page 9). Note: It may take a few moments for the tablet to be ready for use.
Next, select the home screen (Home button). When you turn on the tablet, the home screen will appear on the screen after the tablet boots up. If you are in a workout, touch the screen and follow the prompts to end the workout, and return to the home screen. If you are in the settings menus, touch the back button (arrow symbol) and then touch the close button (x symbol) to return to the home screen. - Select the wireless network menu.
Touch the menu button (three horizontal lines symbol), and then touch Wi-Fi to select the wireless network menu. - Enable Wi-Fi.
Make sure that Wi-Fi ® is enabled. If it is not enabled, touch the Wi-Fi toggle to enable it. - Set up and manage a wireless network connection.
When Wi-Fi is enabled, the screen will show a list of available networks. Note: It may take a few moments for the list of wireless networks to appear
Note: You must have your own wireless network and an 802.11b/g/n router with SSID broadcast enabled (hidden networks are not supported).
When a list of networks appears, touch the desired network.
Note: You will need to know your network name (SSID). If your network has a password, you will also need to know the password.
Follow the prompts on the screen to enter your password and connect to the selected wireless network. (To use the keyboard, see HOW TO USE THE TOUCH SCREEN on page 10.)
When the tablet is connected to your wireless network, a checkmark will appear next to the wireless network name.
If you are having problems connecting to an encrypted network, make sure that your password is correct. Note: Passwords are case-sensitive.
Note: The tablet supports unsecured and secured (WEP, WPA™, and WPA2™) encryption. A broadband connection is recommended; performance depends on connection speed.
Note: If you have questions after following these instructions, go to support.iFit.com for assistance. - Exit the wireless network menu.
To exit the wireless network menu, touch the back button (arrow symbol).
HOW TO CONNECT YOUR HEADPHONES WITH BLUETOOTH
If the tablet is enabled with this feature, you can connect your Bluetooth-compatible headphones to listen to audio from the tablet through your headphones.
To connect your headphones to the tablet, first, turn on your headphones and place them near the tablet.
Next, select an iFit workout (see page 11). Then, touch Connect Bluetooth Headphones when this option appears on the screen.
To pair your headphones to the tablet, select your headphones from the list on the screen. When your headphones and the tablet pair successfully, the audio from the tablet will play through your headphones.
THE OPTIONAL HEART RATE MONITOR
Whether your goal is to burn fat or strengthen your cardiovascular system, the key to achieving the best results is to maintain the proper heart rate during your workouts. The optional heart rate monitor will enable you to continuously monitor your heart rate while you exercise, helping you to reach your personal fitness goals. To purchase a heart rate monitor, please see the front cover of this manual.
Note: The tablet is compatible with all Bluetooth Smart heart rate monitors.
MAINTENANCE AND TROUBLESHOOTING
MAINTENANCE
Regular maintenance is important for optimal performance and to reduce wear. Inspect and properly tighten all parts each time the fitness mirror is used. Replace any worn parts immediately. Use only manufacturer-supplied parts.
To clean the fitness mirror, use a damp cloth and a small amount of mild soap or glass cleaner.
IMPORTANT: To avoid damage to the fitness mirror, keep liquids away from the fitness mirror and keep the fitness mirror out of direct sunlight.
TABLET TROUBLESHOOTING
If the tablet does not turn on, make sure that the power adapter is fully plugged in and that the power switch is pressed on. If a replacement power adapter is needed, call the telephone number on the cover of this manual. IMPORTANT: To avoid damaging the tablet, use only a manufacturer-supplied regulated power adapter.
For the best results, regularly check for firmware updates (see step 6 on page 13).
If you are having problems connecting the tablet to a wireless network or if you are having problems with your iFit account or iFit workouts, go to support.iFit.com.
If the tablet does not boot up properly, or if the tablet freezes and does not respond, reset the tablet to the factory default settings. 
IMPORTANT: Doing this will erase all custom settings you have made to the tablet. Resetting the tablet requires two people. First, press the power switch and unplug the power adapter. Next, locate the small reset opening (A) on the back of the tablet. Using a bent paper clip, press and hold the reset button inside the opening, and have a second person plug in the power adapter and press the power switch. Continue holding the reset button until the tablet turns on. When the reset operation is complete, the tablet will turn off and then turn back on. If it does not, unplug the power adapter and then plug it in again. Once the tablet turns on, check for firmware updates (see HOW TO CHANGE TABLET SETTINGS on page 13).
Note: It may take a few moments for the tablet to be ready for use.
EXERCISE GUIDELINES
WARNING: Before beginning, this or any exercise program, consult your physician. This is especially important for persons over age 35 or persons with pre-existing health problems.
These guidelines will help you to plan your exercise program. For detailed exercise information, obtain a reputable book or consult your physician. Remember, proper nutrition and adequate rest are essential for successful results.
EXERCISE INTENSITY
Whether your goal is to burn fat or to strengthen your cardiovascular system, exercising at the proper intensity is the key to achieving results. You can use your heart rate as a guide to finding the proper intensity level. The chart below shows recommended heart rates for fat burning and aerobic exercise.
To find the proper intensity level, find your age at the bottom of the chart (ages are rounded off to the nearest ten years). The three numbers listed above your age define your training zone.” The lowest number is the heart rate for fat burning, the middle number is the heart rate for maximum fat burning, and the highest number is the heart rate for aerobic exercise.
Burning Fat—To burn fat effectively, you must exercise at a low-intensity level for a sustained period of time. During the first few minutes of exercise, your body uses carbohydrate calories for energy. Only after the first few minutes of exercise does your body begin to use stored fat calories for energy. If your goal is to burn fat, adjust the intensity of your exercise until your heart rate is near the lowest number in your training zone. For maximum fat burning, exercise with your heart rate near the middle number in your training zone.
Aerobic Exercise—If your goal is to strengthen your cardiovascular system, you must perform aerobic exercise, which is an activity that requires large amounts of oxygen for prolonged periods of time. For aerobic exercise, adjust the intensity of your exercise until your heart rate is near the highest number in your training zone.
HOW TO MEASURE YOUR HEART RATE

To measure your heart rate, exercise for at least four minutes. Then, stop exercising and place two fingers on your wrist as shown. Take a six-second heartbeat count, and multiply the result by 10 to find your heart rate. For example, if your six-second heartbeat count is 14, your heart rate is 140 beats per minute.
WORKOUT GUIDELINES
Warming Up—Start with 5 to 10 minutes of stretching and light exercise. A warm-up increases your body temperature, heart rate, and circulation in preparation for exercise. Training Zone Exercise—Exercise for 20 to 30 minutes with your heart rate in your training zone. (During the first few weeks of your exercise program, do not keep your heart rate in your training zone for longer than 20 minutes.) Breathe regularly and deeply as you exercise; never hold your breath.
Cooling Down—Finish with 5 to 10 minutes of stretching. Stretching increases the flexibility of your muscles and helps to prevent post-exercise problems.
EXERCISE FREQUENCY
To maintain or improve your condition, complete three workouts each week, with at least one day of rest between workouts. After a few months of regular exercise, you may complete up to five workouts each week, if desired. Remember, the key to success is to make exercise a regular and enjoyable part of your everyday life.
SUGGESTED STRETCHES
The correct form for several basic stretches is shown on the right. Move slowly as you stretch; never bounce.
- Toe Touch Stretch
Stand with your knees bent slightly and slowly bend forward from your hips. Allow your back and shoulders to relax as you reach down toward your toes as far as possible. Hold for 15 counts, then relax. Repeat 3 times. Stretches: Hamstrings, back of knees, and back. - Hamstring Stretch
Sit with one leg extended. Bring the sole of the opposite foot toward you and rest it against the inner thigh of your extended leg. Reach toward your toes as far as possible. Hold for 15 counts, then relax. Repeat 3 times for each leg. Stretches: Hamstrings, lower back, and groin.
- Calf/Achilles Stretch
With one leg in front of the other, reach forward and place your hands against a wall. Keep your back leg straight and your back foot flat on the floor. Bend your front leg, lean forward, and move your hips toward the wall. Hold for 15 counts, then relax. Repeat 3 times for each leg. To cause further stretching of the Achilles tendons, bend your back leg as well. Stretches: Calves, Achilles tendons, and ankles. - Quadriceps Stretch
With one hand against a wall for balance, reach back and grasp one foot with your other hand. Bring your heel as close to your buttocks as possible. Hold for 15 counts, then relax. Repeat 3 times for each leg. Stretches: Quadriceps and hip muscles. - Inner Thigh Stretch
Sit with the soles of your feet together and your knees outward. Pull your feet toward your groin area as far as possible. Hold for 15 counts, then relax. Repeat 3 times. Stretches: Quadriceps and hip muscles.
NOTES
ORDERING REPLACEMENT PARTS
Some replacement parts are available. To order replacement parts, please see the front cover of this manual. To help us assist you, be prepared to provide the following information when contacting us:
- the model number and serial number of the product (see the front cover of this manual)
- the name of the product (see the front cover of this manual)
- the description of the replacement part(s) that you need (see BEFORE YOU BEGIN on page 4 and ASSEMBLY on page 5)
RECYCLING INFORMATION
This electronic product must not be disposed of in the municipal waste. To preserve the environment, this product must be recycled after its useful life as required by law.
Please use recycling facilities that are authorized to collect this type of waste in your area. In doing so, you will help to conserve natural resources and improve European standards of environmental protection. If you require more information about safe and correct disposal methods, please contact your local city office or the establishment where you purchased this product.
Printed in China © 2021 ICON Health & Fitness, Inc.
![]()
























