FADINI HINDI 880 SPRINT Oil Hydraulic Kit Operator for Swinging Gates

GENERAL WARNINGS FOR PEOPLE SAFETY
THANK YOU
Thank you for purchasing a Fadini product.
Please read these instructions carefully before using this appliance. The instructions contain important information which will help you get the best out of the appliance and ensure safe and proper installation, use and maintenance. Keep this manual in a convenient place so that you can always refer to it for the safe and proper use of the appliance.
INTRODUCTION
This operator is designed for a specific scope of applications as indicated in this manual, including safety, control and signaling accessories as minimum required with Fadini equipment.
- Any applications not explicitly included in this manual may cause operation problems or damages to properties and people.
- Meccanica Fadini snc is not liable for damages caused by the incorrect use of the equipment, or for applications not included in this manual or for malfunctioning resulting from the use of materials or accessories not recommended by the manufacturer.
- The manufacturer reserves the right to make changes to its products without prior notice.
- All that is not explicitly indicated in this manual is to be considered not allowed.
BEFORE INSTALLATION
- Before commencing operator installation assess the suitability of the access, its general condition and the structure.
- Make sure that there is no risk of impact, crushing, shearing, conveying, cutting, entangling and lifting situations, which may prejudice people safety.
- Do not install near any source of heat and avoid contacts with flammable substances.
- Keep all the accessories able to turn on the operator (transmitters, proximity readers, key-switches, etc) out of the reach of the children.
- Transit through the access only with stationary operator.
- Do not allow children and/or people to stand in the proximity of a working operator.
- To ensure safety in the whole movement area of a gate it is advisable to install photocells, sensitive edges, magnetic loops and detectors.
- Use yellow-black strips or proper signals to identify dangerous spots.
- Before cleaning and maintenance operations, disconnect the appliance from the mains by switching off the master switch.
- If removing the actuator, do not cut the electric wires, but disconnect them from the terminal box by loosening the screws inside the junction box.
INSTALLATION
- All installation operations must be performed by a qualified technician, in observance of the Machinery Directive 2006/42/CE and safety regulations EN 12453 – EN 12445.
- Verify the presence of a thermal-magnetic circuit breaker 0,03 A – 230 V – 50 Hz upstream the installation.
- Use appropriate objects to test the correct functionality of the safety accessories, such as photocells, sensitive edges, etc.
- Carry out a risk analysis by means of appropriate instruments measuring the crushing and impact force of the main opening and closing edge in compliance with EN 12445.
- Identify the appropriate solution necessary to eliminate and reduce such risks.
- In case where the gate to automate is equipped with a pedestrian entrance, it is appropriate to prepare the system in such a way to prohibit the operation of the engine when the pedestrian entrance is used.
- Apply safety nameplates with CE marking on the gate warning about the presence of an automated installation.
- The installer must inform and instruct the end user about the proper use of the system by releasing him a technical dossier, including: layout and components of the installation, risk analysis, verification of safety accessories, verification of impact forces and reporting of residual risks.
INFORMATION FOR END-USERS
The end-user is required to read carefully and to receive information concerning only the operation of the installation so that he becomes himself responsible for the correct use of it.
- The end-user shall establish a written maintenance contract with the installer/maintenance technician (on -call). □ Any maintenance operation must be done by qualified technicians.
- Keep these instructions carefully.
WARNINGS FOR THE CORRECT OPERATION OF THE INSTALLATION
For optimum performance of system over time according to safety regulations, it is necessary to perform proper maintenance and monitoring of the entire installation: the automation, the electronic equipment and the cables connected to these.
- The entire installation must be carried out by qualified technical personnel, filling in the Maintenance Manual indicated in the Safety Regulation Book (to be requested or downloaded from the site www.fadini.net/supporto/downloads).
- Operator: maintenance inspection at least every 6 months, while for the electronic equipment and safety systems an inspection at least once every month is required.
- The manufacturer, Meccanica Fadini snc, is not responsible for non-observance of good installation practice and incorrect maintenance of the installation.
DISPOSAL OF MATERIALS
Dispose properly of the packaging materials such as cardboard, nylon, polystyrene etc. through specializing companies (after verification of the regulations in force at the place of installation in the field of waste disposal). Disposal of electrical and electronic materials: to remove and dispose through specializing companies, as per Directive 2012/19/UE. Disposal of substances hazardous for the environment is prohibited.
CE DECLARATION OF CONFORMITY of the manufacturer:
Meccanica Fadini snc (Via Mantova, 177/A – 37053 Cerea – VR – Italy) declares under own responsibility that:
Hindi 880 Sprint complies with the 2006/42/CE Machinery Directive, and also that it is sold to be installed in an “automatic system”, along with original accessories and components as indicated by the manufacturing company. An automatic gate operator is, by law, a “machinery” and therefore the installer must at the equipment with all of the applicable safety norms. The installer is also required to issue the installer’s Declaration of Conformity. The manufacturer is not liable for possible incorrect use of the product. The product complies with the following specific norms: analysis of the risks and subsequent action to cure them as per EN 12445 and EN 12453, Low Voltage Directive 2014/35/UE, Electromagnetic Compatibility 2014/30/UE. In order to certify the product, the manufacturer declares under own responsibility the compliance with the EN 13241-1 PRODUCT NORMS.
GENERAL DESCRIPTION OF THE PRODUCT
HINDI 880 SPRINT is an oil-hydraulic operator for external applications, designed to open and close swinging gates. It is an oil-hydraulic product and has, therefore, all the advantages and reliability that hydraulic units ensure in smoothness of movements. The valves controlling high and low pressure are adjustable to meet any requirements with swinging gates.
HINDI 880 SPRINT is available in various options, bidirectional locking, locking in closed gate position or non locking ie. reversible and the operator can be operated by hand. For the operator to work automatically, an external electronic control board is needed and is to be installed in a sheltered place. Automatic or semiautomatic operations are possible to meet the site requirements. A range of accessories ensure safe and easy operations and turn this operator into an extremely versatile unit for public and private applications.
COMPONENTS AND OPERATOR ACCESSORIES IN THE KIT
- N° 4 circlips for shaft fixing
- N° 2 shaft fixing pins
- N° 2 shaft gate fixing brackets
- N° 2 Hindi 880 Sprint operators
- N° 2 post fixing plates
- N° 2 x M12x40 screws for plate fastening
- N° 2 x M12 self-locking nuts
- N° 2 manual release spanners (for hydraulic locking versions)
- N° 1 protection cover, right-hand
- N° 2 valve cover gaskets
- N° 1 protection cover, left-hand
- N° 2 xing grommet nuts
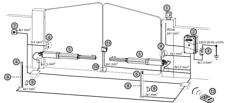
GENERAL WIRING DIAGRAM AND ACCESSORIES
Before installing Hindi 880 Sprint, carry out the preparatory work for at least the minimum safety and commad accessories. General layout: it is the installer’s care to properly lay the pipes and tubes required for the connections.
- Flasher (in the kit)
- Controller – item 7047L with plug-in receiver (in the kit)
- 230 V – 50 Hz 0,03 A magneto-thermal differential circuit breaker (not included) (2,5 mm² cable section beyond 100 m)
- Photocell receiver (only one pair in the kit)
- Hindi 880 Sprint
- Photocell transmitter (only one pair in the kit)
- Key-switch (in the kit)
- Post for photocell
- Open gate stop (mandatory, not included)
- Close gate stop (mandatory, not included)
- Electric lock required if Hindi 880 Sprint non locking (reversible) version is mounted (not in the kit)
- Transmitter (in the kit)

IMPORTANT: gate stops in open and closed gate positions are absolutely required for the correct functioning of Hindi 880 Sprint.
FIRST OPERATIONS TO PULL THE SHAFT OUT
Before fixing the operator to the gate and gate post, pull the shaft out (Pic. 3). Release by the spanner provided with the equipment (version with hydraulic locking valve); with the non locking (reversible) version, this operation is not required: the release system is under the valve. (Use the release spanner as indicated in the picture).
FIXING GEOMETRY FOR THE GATE TO OPEN INWARDS
FIXING PREPARATION
First weld the front bracket and rear plate to patch plates (not supplied with the equipment), perfectly leveled (Pic. 5).
It is advised to temporary fasten Hindi 880 Sprint operator to the gate by clamps and make sure it is perfectly leveled. Then release the operator and open and close the gate by hand to asses correctness of the installation distances and get 90° opening.
ADJUSTING THRUST POWER
To adjust thrust power in opening and closing unscrew or tighten the adjusting screws under the protection cover (Pic. 7). Red screw = controls thrust power in closing cycle.
Green screw = controls thrust power in opening cycle.
TECHNICAL SPECIFICATIONS
OIL-HYDRAULIC OPERATOR AND HYDRAULIC PUMP
| Working pressure | 10 atm (max 35 atm) |
| Opening/closing linear speed | ~15 mm/s |
| Opening thrust power | 0 ÷ 5.100 N |
| Closing thrust power | 0 ÷ 6.200 N |
| Oil type | Oil Fadini – Item 708L |
| Piston stroke | 235 mm |
| Piston diameter | 45 mm |
| Shaft diameter | 16 mm |
| Working temperature | -25 °C +80 °C [A] |
| Weight complete with accessories | 9,5 kg |
| Max. gate weight per leaf | 400 kg |
| Max. gate width per leaf | 2,3 m |
| Protection standards | IP 67 |
| Overall dimensions (length x width. x height.) |
[A]: -40 °C with specific optional accessories (Ref. General Catalogue).
NOTE: It is always recommended to install an electric lock with gate leafs wider than 2,0 m.
PERFORMANCE
- Frequency of use intensive
- Service cycle 16 s opening – 20 s dwell – 18 s closing – 20 s dwell
- Complete cycle time 74 s
- Complete opening – dwell – closing – dwell cycles No. 50/hour
ELECTRIC MOTORS
| Power output | 0,18 kW (0,25 HP) |
| Supply voltage | 230 Vac |
| Frequency | 50 Hz |
| Absorbed current | 1,2 A |
| Absorbed power | 250 W |
| Capacitor | 12,5 µF |
| Motor rotation speed | 1.350 rpm |
| Intermittent service | S3 |

The gate structure, design (solid, in-filled), height and strong wind pressure may affect and decrease the indicated values. Make always sure the gate structure is adequate to automation.
MAINTENANCE RECORD
hand over to the end user of the installation
GUIDANCE FOR PROPER USE (for the end user)
- Transit across the gate is allowed only if motor is stopped; stand at safe distance during opening and/or closing cycles of the gate.
- Do not touch any components of the system while the operator is working.
- Do not allow children and/or people to stand in the proximity of a working operator.
- Keep all the accessories able to turn on the operator (transmitters, proximity readers, key-switches, etc.) out of the reach of the children.
- Do not run the system in case of anomalies.
DISPOSAL OF MATERIAL: dispose properly of the packaging materials such as cardboard, nylon, polystyrene etc. through specializing companies (after verification of the regulations in force at the place of installation in the field of waste disposal). Disposal of electrical and electronic materials: to remove and dispose through specializing companies, as per Directive 2012/19/UE. Disposal of substances hazardous for the environment is prohibited.
MAINTENANCE
For optimum performance of system over time according to safety regulations, it is necessary to perform proper maintenance and monitoring of the entire installation: the automation, the electronic equipment and the cables connected to these. The entire installation must be carried out by qualied technical personnel. Operator: maintenance inspection at least every 6 months, while for the electronic equipment and safety systems an inspection at least once every month is required. The manufacturer, Meccanica Fadini snc, is not responsible for non-observance of good installation practice and incorrect maintenance of the installation.
Advice for the end user:
- clear the site of materials that may have deposited in the equipment and hinder its correct functioning (such as rests of insects, foliage, stones, etc.); before carrying out this operation, switch off voltage supply;
- clean regularly the equipment by using a damp cloth. Do not use flammable substances such as alcohol, solvents or benzene: these substances may cause explosions and/or damage the system.
Actuator releasing for manual operations of the gate
With the version Hindi 880 Sprint with hydraulic locking device (bidirectional or in closed gate position only), it is required that the unit be released by means of the provided spanner which unlocks the release device positioned under the valve assembly.
With the version Hindi 880 Sprint without hydraulic locking device (reversible), there™s no need to release by spanner; the gate, once motor is stopped, can be moved by hand: with this version it is recommended that an electric lock be fitted to the gate.
Via Mantova, 177/A – 37053 Cerea (VR) Italy
Ph. +39 0442 330422
Fax +39 0442 331054
[email protected] – www.fadini.net
2012/19/UE Directive
Re. disposal of electric and electronic waste
DISPOSE PROPERLY OF MATERIALS ARMFUL TO THE ENVIRONMENT



















